АСКАО

Карточка пользователя

Шешин Евгений Павлович
Верифицирован
Написать пользователю

Разработки и заказы

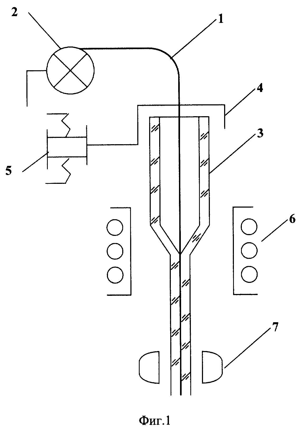
Автоэмиссионная электронная пушка
Автоэмиссионная электронная пушка магнетронно-инжекторного типа, состоящая из полого анода в форме урезанного конуса и расположенных соосно внутри него автоэмиссионного катода и управляющего электрода, оба конусной или цилиндрической формы, подключенных к электрическим выводам пушки...
Шешин Евгений Павлович
Разработка | Категория: H
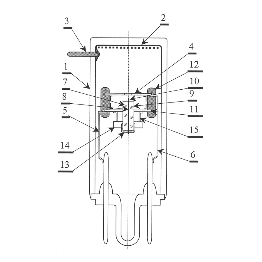
Автоэмиссионное устройство
Автоэмиссионное устройство предназначено для использования в электронно-лучевых приборах с автоэлектронной эмиссией, а именно в зондовых приборах, экранах, растровых электронных микроскопах, а также может быть использовано в исследовательских и аналитических установках.
Шешин Евгений Павлович
Разработка | Категория: H
Автоэмиссионный источник излучения
Изобретение относится к области источников излучения как в видимом, так и в ультрафиолетовом, диапазоне и может быть использовано в конструкции ламп этих диапазонов длин волн. Преимущества разработка: увеличение равномерности свечения катодолюминофора и повышение эффективности источника излучения.
Шешин Евгений Павлович
Разработка | Категория: H
Индивидуальный ультрафиолетовый рециркулятор масочного типа
Изобретение относится к безртутным катодолюминесцентным лампам цилиндрического типа и может быть использовано в медицинских учреждениях для обеззараживания поверхности, а также в системах очистки воздуха. Технический результат - увеличение мощности видимого и УФ излучения.
Шешин Евгений Павлович
Разработка | Категория: H
Индивидуальный ультрафиолетовый рециркулятор экранного типа
Изобретение относится к медицинской технике, а именно к индивидуальному ультрафиолетовому рециркулятору экранного типа. Технический результат изобретения заключается в повышении степени защиты от бактерий и вирусов.
Шешин Евгений Павлович
Разработка | Категория: A
Источник света для искусственного выращивания растений с регулируемым спектром излучения
Серия светильников для искусственного выращивания растений в теплицах широкого применения. Светильник состоит из четырех энергосберегающих ламп с ненакаливаемыми катодами: красный, синий, зеленый, ультрафиолетовый, которые питаются от программируемого источника питания.
Шешин Евгений Павлович
Разработка | Категория: H
Катодолюминесцентная лампа цилиндрического типа с высоким КПД
Изобретение относится к безртутным катодолюминесцентным лампам цилиндрического типа и может быть использовано в медицинских учреждениях для обеззараживания поверхности, а также в системах очистки воздуха. Технический результат - увеличение мощности видимого и УФ излучения.
Шешин Евгений Павлович
Разработка | Категория: H
Катодолюминесцентный источник ультрафиолетового излучения
Модель относится к области светотехники и может быть использована при создании ультрафиолетовых ламп, предназначенных для применения в различных областях, таких как обеззараживание воды и воздуха, сортировка и анализ минералов, лазерная техника, оптоэлектроника.
Шешин Евгений Павлович
Разработка | Категория: H
Катодолюминисцентная излучающая лампа
Изобретение относится к светотехнике и может быть использовано в осветительных устройствах, а также в виде светящихся элементов цветных, монохромных, динамических и статических видеоэкранов информационных табло.
Шешин Евгений Павлович
Разработка | Категория: H
Лампа вакуумная ультрафиолетового диапазона спектра
Изобретение относится к светотехнике и может быть использовано при создании и применении ультрафиолетовых вакуумных ламп, в частности для обеззараживания воды и воздуха, сортировки и анализа минералов, в лазерной технике, в оптоэлектронике.
Шешин Евгений Павлович
Разработка | Категория: H
Малогабаритная автоэмиссионная электронная пушка
Изобретение относится к электронной технике и может быть использовано в электронно-лучевых приборах с автоэлектронной эмиссией, а именно: в зондовых приборах, экранах, растровых электронных микроскопах, а также в исследовательских и аналитических установках.
Шешин Евгений Павлович
Разработка | Категория: H
Металлопористый резервуарный катод
Полезная модель относится к электронной технике, в частности к конструкции многолучевых катодных узлов для электровакуумных приборов.Предложен металлопористый резервуарный катод, содержащий двухслойную пористую матрицу, выполненную из частиц тугоплавкого металла.
Шешин Евгений Павлович
Разработка | Категория: H
Плоское автоэлектронное устройство для воспроизведения изображения
Изобретение относится к электронной технике, а конкретнее к плоским автоэлектронным устройствам для воспроизведения изображения. Оно может быть использовано при разработке плоских дисплеев с увеличенным полем изображения для персональных компьютеров...
Шешин Евгений Павлович
Разработка | Категория: H
Рентгеновская трубка с автокатодом
Технология повышения качественных характеристик рентгеновских трубок, применяемых в прикладных задачах, таких как: дефектоскопия, таможенный досмотр, диагностика, медицинские тесты и др.
Шешин Евгений Павлович
Разработка | Категория: H
Система электрического освещения с использованием солнечной энергии
Техническим результатом изобретения является снижение стоимости системы электрического освещения, снижение потерь энергии, обеспечение высоких экологических характеристик при производстве и утилизации светоизлучателей системы, достижение значительной эксплуатационной эффективности за счет высокой...
Шешин Евгений Павлович
Разработка | Категория: F
Способ изготовления автоэмиссионного катода
Изобретение относится к области электронной техники, в частности к способу изготовления автоэмиссионного катода. Указанный способ реализуется изготовлением порошка путем помола углеродных волокон с последующим нанесением на катодную подложку методом электрофореза.
Шешин Евгений Павлович
Разработка | Категория: H
Способ изготовления матрицы автоэмиссионного катода
Изобретение относится к области электронной техники и касается изготовления матрицы автоэмиссионного катода на основе углеродного материала, размещенного в отверстиях стеклянной пластины.
Шешин Евгений Павлович
Разработка | Категория: H
Способ изготовления холодного катода с эмиссионным слоем из нановолоконного материала на основе углерода
Изобретение относится к способам изготовления холодных катодов, широко применяющихся в электровакуумной технике, например в источниках света.
Шешин Евгений Павлович
Разработка | Категория: B
Способ измерения контактного сопротивления
Изобретение относится к способам измерения электрических величин. Данный способ заключается в том, что через проводящий зонд атомно-силового микроскопа, который прижат с постоянной силой к поверхности исследуемого образца, пропускают электрический ток.
Шешин Евгений Павлович
Разработка | Категория: G
Способ нанесения эмиссионного покрытия на катод
Изобретение относится к электронной технике и касается нанесения эмиссионного покрытия на катод. Указанный процесс ведется путем пропитки основания катода, выполненного из пористого углеродного материала, раствором щелочно-земельного металла.
Шешин Евгений Павлович
Разработка | Категория: H
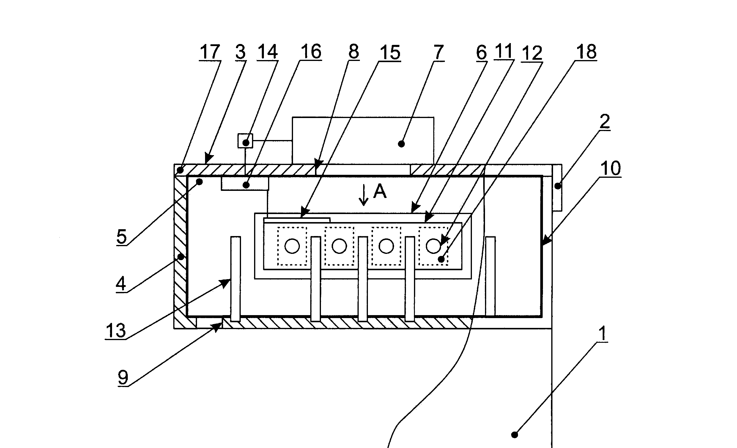
Технология формирования светового потока на внешнем экране с для полноцветной системы отображения видеоинформации и устройство для его осуществления
Технология предлагает способ создания и управление световым потоком в процессе формирования полноцветного динамического изображения на специальном внешнем экране, имеющем размеры не менее 6 дюймов и с яркостью, достаточной для комфортного наблюдения изображения.
Шешин Евгений Павлович
Разработка | Категория: H
Установка для нанесения покрытий
Предлагаемая полезная модель относится к области нанесения покрытий при физическом распылении металлов и касается установки ионно-плазменного распыления, в которой постоянной магнитное поле перпендикулярно постоянному электрическому полю.
Шешин Евгений Павлович
Разработка | Категория: C
Устройства для обеззараживания поверхности
Изобретение относится к медицине, а именно к устройствам для обеззараживания поверхности. Устройство содержит корпус, в котором установлен источник ультрафиолетового излучения.
Шешин Евгений Павлович
Разработка | Категория: A
Устройство очистки воздуха
Изобретение относится к области фотокаталитической очистки атмосферного воздуха. Устройство очистки воздуха включает входной фильтр 3, источник ультрафиолетового излучения, фотокаталитический фильтр, входное окно 1 и выходное окно 6, расположенные друг напротив друга.
Шешин Евгений Павлович
Разработка | Категория: A
Цилиндрический катодолюминесцентный источник излучения
Разработка источника излучения как в видимом, так и в ультрафиолетовом диапазонах для применения в конструировании светильников.
Шешин Евгений Павлович
Разработка | Категория: H