АСКАО

Способ изготовления холодного катода с эмиссионным слоем из нановолоконного материала на основе углерода

Разработка


ID
X4ND-K0GQ
Категория
B - различные технологические процессы; транспортирование
Опубликован
11.04.2024 13:49

Описание

Настоящее изобретение относится к способам изготовления холодных катодов, широко применяющихся в электровакуумной технике, например в источниках света.

Известен способ получения нановолоконного материала для холодных катодов путем испарения углерода из графитового источника и осаждения нановолокон в рабочем объеме удаленным атмосферным воздухом. При реализации этого способа в рабочи
y obaem zakachivayut gaz ili smesy gazov pod davleniem do 15 MPa, zatem udalyayut i povtoryayut takoy tsikl trehkratno, posle chego zakachivayut gaz ili smesy gazov pod davleniem ot 10 do 90 MPa, nagrevayut do temperaturi 2100-2200K so skorostyyu ot 1 do 100 K/min i viderzhivayut pri rabochey temperature ot 10 min do 4 ch, posle etogo snachala snizhayut temperaturu do komnatnoy, a zatem snizhayut davlenie so skorostyyu ne bolee 1 MPa/s do atmosfernogo. Poluchenniy material dispergiruyut pri pomoshti ulytrazvukovogo dispergatora moshtnostyyu izlucheniya 180-200 Vt v techenie 5-15 min v etilovom spirte, filytruyut, posle chego material nanosyat na katodnuyu plastinu. V kachestve gazovoy sredi ispolyzuyut azot ili gazovuyu smesy azota i argona v sootnoshenii ot 1:10 do 1:1. (opublikovannaya zayavka na patent RF №2003127498, data publikatsii 20.03.2005).

Nedostatkom etogo sposoba yavlyaetsya to, chto poluchenie nanovolokna yavlyaetsya lishy operatsiey, predshestvuyushtey izgotovleniyu avtokatoda. Dlya polucheniya poslednego neobhodimo provedenie tselogo kompleksa dopolnitelynih operatsiy, svyazannih s naneseniem tem ili inim sposobom poluchennogo nanovolokna na rabochuyu podlozhku. Odin iz putey resheniya etoy problemi - prigotovlenie poroshkov iz uglerodnogo nanovolokona s ih posleduyushtim naneseniem na poverhnosty podlozhki s pomoshtyyu razlichnih metodov: trafaretnoy pechati (shelkografii), elektroforeza, elektrohimicheskogo osazhdeniya, aerozolynogo napileniya i t.p. Odnako etomu puti prisusht ryad nedostatkov: dobavlenie v poroshok sostavov, obuslovlennih tehnologiey naneseniya, kotorie v tehnologicheskom tsikle mogut vstupaty v nekontroliruemie himicheskie reaktsii s uglerodnim poroshkom; otsutstvie dostatochnoy povtoryaemosti geometricheskih parametrov katodov na vihode; snizhenie emissionnoy sposobnosti uglerodnih materialov do znacheniy nizhe, chem u estestvennogo grafita, po prichine otsutstviya orientirovannosti chastits; nizkaya adgeziya uglerodnogo nanomateriala k podlozhke i dr.

Zadachey nastoyashtego izobreteniya yavlyaetsya sozdanie prostogo sposoba, obespechivayushtego neposredstvennoe izgotovlenie holodnogo katoda, t.e. ne trebuyushtego dopolnitelynih operatsiy, svyazannih s formovaniem na podlozhke emissionnogo sloya. Pri etom poluchenie samogo emissionnogo sloya dolzhno dostigatysya v rezulytate rosta uglerod-azotnih struktur na grafitovoy podlozhke.

Tehnicheskim rezulytatom izobreteniya yavlyaetsya poluchenie gotovogo avtokatoda s povishennoy adgeziey nanomateriala k podlozhke, chto pozvolyaet poluchaty bolyshuyu integralynuyu plotnosty emissionnogo toka i sposobstvuet povisheniyu dolgovremennoy stabilynosti avtokatodov.

Postavlennaya zadacha dostigaetsya tem, chto v sposobe polucheniya nanovolokonnogo materiala dlya holodnih katodov putem ispareniya ugleroda iz grafitovogo nagrevatelya vnutri gazostata, soderzhashtem operatsii produvki rabochey polosti gazostata s posleduyushtim ee zapolneniem rabochim gazom pod davleniem, nagreva, viderzhki pri zadannoy temperature s posleduyushtim ohlazhdeniem do komnatnoy temperaturi, predvaritelyno izgotovlyayut podlozhku katoda putem obrabotki grafitovogo elementa v spirtovom rastvore metallotsena s posleduyushtey sushkoy i mehanicheskoy obrabotkoy, a zatem razmeshtayut etu podlozhku vnutri gazostata na poverhnosti nagrevatelya i nachinayut protsess ispareniya ugleroda iz grafitovogo istochnika, prichem protsess ispareniya soprovozhdaetsya rostom uglerod-azotnih nanovolokon na podlozhke. V kachestve metallotsena vozmozhno primenenie ferrotsena. Grafitoviy element podlozhki katoda obrabativayut v spirtovom rastvore ferrotsena s kontsentratsiey 5-20 g/l, a posleduyushtuyu sushku proizvodyat v temperaturnom diapazone 60-80°S. V kachestve grafitovogo elementa podlozhki ispolyzuyut prirodniy grafit ili prokatannuyu grafitovuyu folygu.

V protsesse rastvoreniya ferrotsena v spirte i v posleduyushtem protsesse obrabotki grafitovogo elementa v poluchennom rastvore primenyayut ulytrazvukovoy dispergator. V kachestve mehanicheskoy obrabotki grafitovogo elementa primenyayut udalenie verhnego sloya podlozhki mehanicheskim sposobom glubinoy do 100 mkm i posleduyushtuyu shlifovku poverhnosti do dostizheniya sredney sherohovatosti ne bolee 10 mkm.

Sushtnosty izobreteniya poyasnyaetsya graficheskimi materialami.

Na fig.1 predstavlen obshtiy vid ustroystva dlya izgotovleniya holodnogo avtokatoda iz nanovolokonnogo materiala.

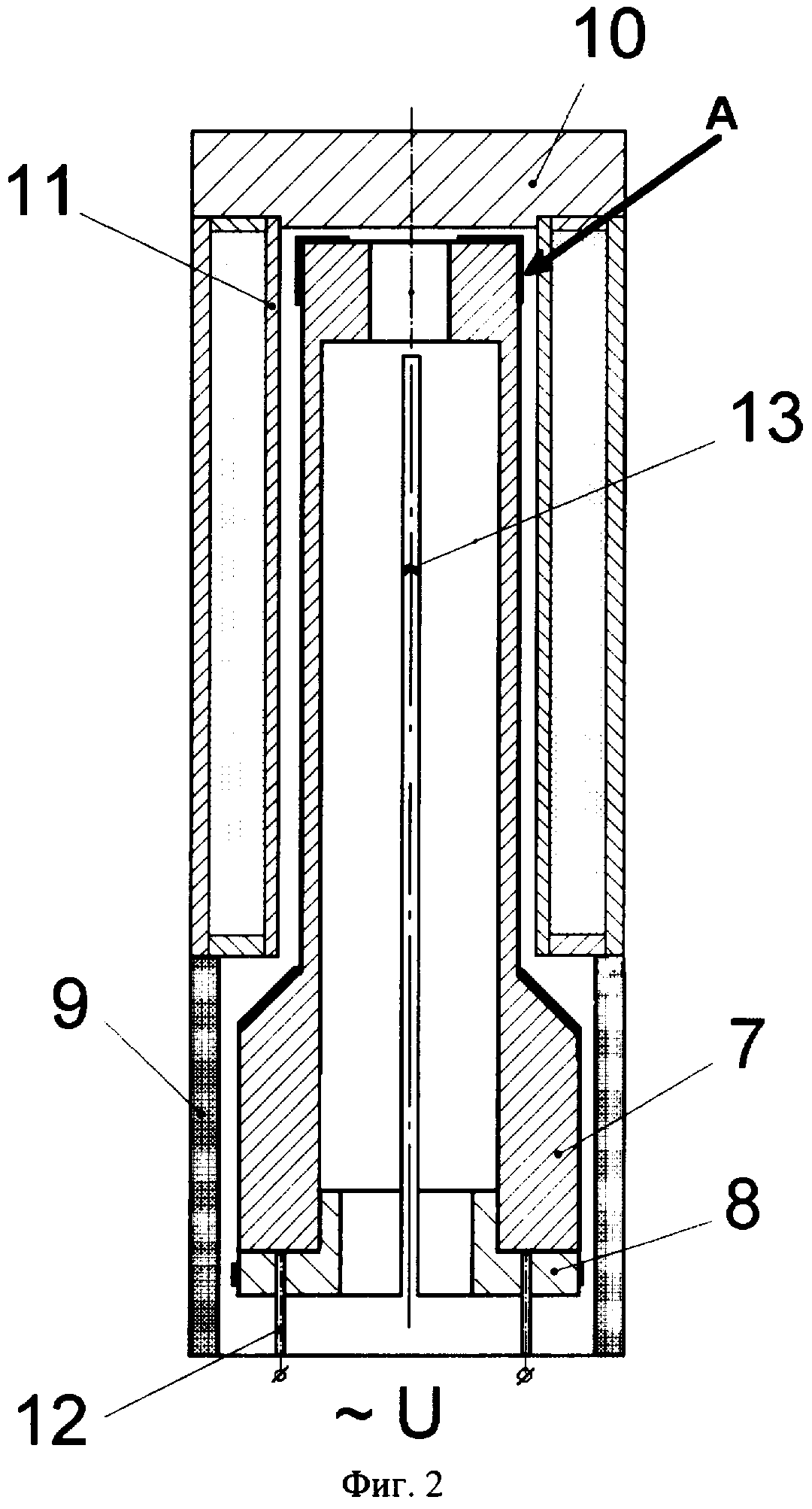
Na fig 2 pokazana shema teplovogo uzla gazostata.

Na fig.3 pokazano izobrazhenie poverhnosti avtokatoda, poluchennogo predlagaemim sposobom, v rastrovom elektronnom mikroskope.

Na fig.4 pokazani volyt-ampernie harakteristiki i krivie Faulera-Nordgeyma dlya avtokatodov, izgotovlennih po predlagaemomu sposobu.

Predlagaemiy sposob osushtestvlyayut v ustanovke, pokazannoy na fig.1. Ustanovka soderzhit gazostat 1, vnutri kotorogo izgotovlyayut holodniy katod iz nanovolokna. Polosty gazostata s razmeshtennim vnutri nego teplovim uzlom soedinena s gazovim kompressorom visokogo davleniya 2. Uzel prigotovleniya gazovoy smesi 3 cherez gazovie ventili 4 soedinen s kompressorom visokogo davleniya. Ustanovka snabzhena manometrami 5 i obratnim klapanom 6.

Predvaritelyno do momenta puska ustanovki gotovyat rabochiy rastvor metallotsena, t.e. ditsiklopentadienilynogo proizvodnogo perehodnih metallov (M) obshtey formuli (S5 N5)2M. V kachestve takogo soedineniya obichno ispolyzuetsya ferrotsen Fe(S5H5)2, hotya vozmozhni i drugie varianti. V kachestve rastvoritelya ispolyzuetsya etiloviy spirt, kontsentratsiya ferrotsena v rastvore ot 5 do 40%. Zatem berut grafitoviy element, kotoriy yavlyaetsya osnovoy podlozhki, i pomeshtayut ego na nekotoroe vremya v spirtovoy rastvor metallotsena, posle chego etot element izvlekayut iz rastvora, sushat i shlifuyut. V rezulytate poluchayut podlozhku avtokatoda, kotoruyu razmeshtayut v visokotemperaturnoy zone A (fig.2) gazostata 1. Posledniy imeet teplovoy uzel, sostoyashtiy iz grafitovogo nagrevatelya 7, sopryagayushtegosya s probkoy 8, teploizolyatsionnogo korpusa, soderzhashtego kolytso 9, probku 10 i tsilindr 11. Vse detali korpusa vipolneni iz grafita. Peremennoe napryazhenie k nagrevatelyu 7 podvodyat cherez kontakti 12. Dlya kontrolya temperaturi primenyayut termoparu 13. Posle razmeshteniya podlozhki na poverhnosti nagrevatelya 7 v zone «A» polosty gazostata osvobozhdayut ot atmosfernogo vozduha putem neodnokratnogo zakachivaniya argona pod davleniem s posleduyushtim ego udaleniem. Po zavershenii etoy operatsii gazostat zapolnyayut rabochey smesyyu, v kachestve kotoroy ispolyzuyut azot ili smesy azota i argona. Davlenie rabochey smesi vishe atmosfernogo. K nagrevatelyu 7 cherez kontakti 12 podvodyat peremennoe napryazhenie, chto privodit k povisheniyu ego temperaturi i ispareniyu ugleroda iz grafitovogo nagrevatelya. Parallelyno s ispareniem grafita s poverhnosti nagrevatelya proishodit rost nanovolokon na rabochey poverhnosti podlozhki. Posle dostizheniya zadannoy temperaturi nagrevately nekotoroe vremya termostatiruyut, a zatem temperaturu snizhayut do znacheniya komnatnoy temperaturi i umenyshayut davlenie do atmosfernogo. Iz gazostata izvlekayut poluchenniy avtokatod. Yatot avtokatod mozhet bity podvergnut finishnoy obrabotke - udaleniyu nanovolokon s plohoy adgeziey k podlozhke.

Primer realizatsii predlagaemogo sposoba.

V odnom iz variantov v kachestve soli ispolyzovali ferrotsen Fe(S5N5)2, a v kachestve rastvoritelya - etiloviy spirt. Kontsentratsiya soli v rastvore sostavlyala ot 5 do 40%. Zatem brali grafitoviy element, kotoriy yavlyaetsya osnovoy podlozhki. V kachestve etogo elementa ispolyzovali grafitovuyu tsilindricheskuyu tabletku (naprimer, grafit marki MG-1) tolshtinoy ot 1 do 3 mm i diametrom ot 7 do 30 mm. Primenenie tabletki bolyshey tolshtini privodit k uvelicheniyu razmera istochnika sveta, v kotorom budet primenyatysya avtokatod. Vremennoy diapazon viderzhki tabletki v nazvannom rastvore ot 20 minut do 3-h chasov. Vremya viderzhki zavisit, v osnovnom, ot kontsentratsii ferrotsena v rastvore.

Dalee tabletku izvlekali i sushili s pomoshtyyu suhogo chistogo vozduha pri komnatnoy temperature. Lyubuyu storonu tabletki, kotoraya prednaznachaetsya dlya sozdaniya rabochego emitiruyushtego sloya, podvergali mehanicheskoy obrabotke - shlifovke dlya snyatiya pripoverhnostnogo sloya tolshtinoy ot 20 do 100 mkm. Tselyyu shlifovki yavlyaetsya poluchenie gladkoy poverhnosti s sherohovatostyyu ne bolee 10 mkm. Podgotovlenniy takim obrazom element (tabletku) razmeshtali v visokotemperaturnoy zone «A» (fig.2) nagrevatelya gazostata. Dlya udaleniya iz polosti gazostata atmofernogo vozduha vnutry polosti tri raza zakachivali i udalyali argon pod davleniem 140-160 MPa. Osvobozhdennuyu ot vozduha polosty zapolnyali rabochey smesyyu. V kachestve posledney primenyali azot ili smesy azota s argonom. Pri etom sootnoshenie komponentov v rabochey smesi menyali ot 1:10 do 1:1. Davlenie smesi menyali v diapazone 10-90 MPa. Posle zapolneniya gazostata rabochey smesyyu podavali napryazhenie na nagrevately, chto privodilo k ispareniyu ugleroda iz grafitovogo nagrevatelya i rostu nanovolokon na poverhnosti tabletki. Temperaturu nagrevatelya menyali v diapazone 1500-1650°S. Posle nekotoroy viderzhki pri zadannoy temperature (ot 3 do 15 minut) temperaturu snizhali do komnatnoy, a zatem sbrasivali davlenie vnutri gazostata do atmosfernogo. Gotoviy katod (podlozhka s emitiruyushtem sloem nanovolokon) izvlekali iz gazostata i podvergali finishnoy obrabotke - produvaniyu rabochey poverhnosti avtokatoda struey chistogo vozduha s predvaritelynoy ochistkoy poverhnosti s pomoshtyyu kisti s myagkim vorsom.

Poluchennie obraztsi issledovali na elektronnom mikroskope. Na fig.3 pokazano izobrazhenie poverhnosti avtokatoda, poluchennogo putem katalizatornogo rosta uglerod-azotnih struktur na grafitovoy podlozhke po predlagaemomu sposobu. Izobrazheniya (a) i (b) fig.3 otlichayutsya kratnostyyu uvelicheniya.

Yaksperimenti, provedennie s avtokatodami, kotorie bili izgotovleni predlagaemim sposobom, pokazali, chto uglerod-azotnie volokna, virashtennie na podlozhke, yavlyayutsya ocheny effektivnimi emitterami, s porogovoy napryazhennostyyu elektricheskogo polya sushtestvenno menyshey, chem u avtokatodov iz izvestnih nanomaterialov. Tak dlya poluchennih avtokatodov pole vklyucheniya (plotnosty toka 10 mkA/sm2) sostavlyaet 1,1-1,2 V/mkm. Dlya drugih izvestnih uglerod-azotnih nanomaterialov srednee znachenie porogovogo polya kolebletsya v diapazone 3-4 V/mkm.

Na fig.4 privedeni volyt-ampernie harakteristiki (a) i krivie Faulera-Nordgeyma (b) dlya avtokatodov, kotorie bili izgotovleni predlagaemim sposobom. Dannie polucheni pri razlichnih rasstoyaniyah mezhdu anodnoy plastinoy i podlozhkoy: chernie tochki - 600 mkm, vikolotie tochki - 900 mkm i vikolotie treugolyniki - 1200 mkm.

Takim obrazom, predlozhenniy sposob pozvolyaet sintezirovaty uglerod-azotnie nanovolokna v gazostate visokogo davleniya neposredstvenno na rabochey podlozhke bez ispolyzovaniya promezhutochnih operatsiy. Dannoe obstoyatelystvo pozvolyaet uprostity tehnologicheskiy tsikl i ponizity stoimosty izgotovleniya avtokatoda, chto svidetelystvuet o promishlennoy primenimosti predlagaemogo sposoba.

Медиафайлы

Патенты

СПОСОБ ИЗГОТОВЛЕНИЯ ХОЛОДНОГО КАТОДА С ЭМИССИОННЫМ СЛОЕМ ИЗ НАНОВОЛОКОННОГО МАТЕРИАЛА НА ОСНОВЕ УГЛЕРОДА
RU2331573