АСКАО

Способ изготовления автоэмиссионного катода

Разработка


ID
X15N-R624
Категория
H - электричество
Опубликован
11.04.2024 12:48

Описание

Изобретение относится к электронной технике и может быть использовано при изготовлении электронно-лучевых приборов с автоэлектронной эмиссией, а именно в плоских дисплейных экранах, зондовых приборах, а также в исследовательских и аналитических установках.
Известен способ изготовления автоэмиссионного катода [1], в котором процесс изготовления катода осуществляют в два этапа. На первом этап
e izgotavlivayut katodnuyu podlozhku v vide steklyannoy plastini so sformirovannoy na ney matritsey, sostoyashtey iz massiva elementov, kazhdiy iz kotorih vklyuchaet v sebya katodniy elektrod i modulyator, otdelenniy ot katoda sloem dielektrika. V modulyatore i sloe dielektrika vipolneno katodnoe otverstie. Na vtorom etape na uchastki katodnogo elektroda, nahodyashtegosya na dne katodnih otverstiy, proizvoditsya elektroforeticheskoe osazhdenie emitiruyushtego materiala. V kachestve emitiruyushtego materiala ispolyzuyutsya uglerodnie chastitsi. Rastvor organicheskogo veshtestva, soderzhashtego emitiruyushtie chastitsi, zalivayut v metalicheskuyu vannu, primenyayushtuyusya dlya osushtestvleniya elektroforeticheskogo protsessa. V rastvor organicheskogo veshtestva mozhet bity dobavlen nitrat magniya ili veshtestvo emu podobnoe. Zatem v rastvor pogruzhaetsya katodnaya podlozhka. V sluchae ispolyzovaniya anionnih gidrofilynih grupp na vannu podaetsya otritsatelyniy potentsial, a na katodniy elektrod polozhitelyniy potentsial, pri etom na modulyator podaetsya tak nazivaemiy "nulevoy" potentsial, polozhitelyniy ili otritsatelyniy, no dostatochno nizkiy po sravneniyu s potentsialom katodnogo elektroda. Pri ispolyzovanii kationnih gidrofilynih grupp znaki vseh potentsialov menyayut na protivopolozhnie. Posle prilozheniya napryazheniya chastitsi emitiruyushtego veshtestva, adsorbirovavshie gidrofilynie gruppi, transportiruyutsya k katodnomu elektrodu i osazhdayutsya na ego poverhnosti, formiruya emitter. V rezulytate ionnoy reaktsii v rastvore obrazuetsya gidroksid magniya, kotoriy obespechivaet agdeziyu emitiruyushtego materiala k podlozhke. Po okonchanii protsessa elektroforeticheskogo naneseniya katod promivaetsya v ochishtennoy vode, visushivaetsya i otzhigaetsya pri temperature ot 50 do 500oS.
Izvestniy sposob izgotovleniya avtoemissionnogo katoda ne pozvolyaet poluchity pribor s nizkimi rabochimi napryazheniyami, poskolyku ne predusmatrivaet vozmozhnosti orientirovaty chastitsi emitiruyushtego materiala takim obrazom, chtobi raspolozhity ih perpendikulyarno k poverhnosti podlozhki. Krome togo, visokie rabochie napryazheniya privodyat k uvelicheniyu koeffitsienta katodnogo raspileniya, chto, v svoyu ocheredy, vedet k snizheniyu sroka sluzhbi pribora.
Izvesten sposob izgotovleniya avtoemissionnogo katoda [2], zaklyuchayushtiysya v nanesenii na katodnuyu podlozhku emitiruyushtego sloya iz uglerodnogo materiala metodom elektroforeza. V kachestve emitiruyushtego materiala ispolyzuetsya grafit, almaz, amorfniy uglerod, molibden, olovo ili kremniy. Harakterniy razmer grafitovih chastits vibiraetsya v predelah ot 0,1 mkm do 1, 0 mkm.
Osobennostyyu dannogo sposoba yavlyaetsya odnovremennoe nanesenie chastits izoliruyushtego i emitiruyushtego materiala. V rezulytate, emitiruyushtie i izoliruyushtie chastitsi okazivayutsya otdeleni drug ot druga chastitsami izoliruyushtego materiala. Chastitsi emitiruyushtego i izoliruyushtego materiala zagruzhayutsya odnovremenno v vannu dlya elektroforeticheskogo naneseniya, soderzhashtuyu gidrofilyniy spirt, vodu, soly. V kachestve zaryadchika ispolyzuyut soli Mg(NO3)2, La(NO3)3 ili Y(NO3)3 v kontsentratsii ot 10-5 do 10-1 moly na litr. V elektroforeticheskoy vanne razmeshtayut katodnoe osnovanie i protivoelektrod, k kotorim prikladivaetsya elektricheskoe napryazhenie. V protsesse elektroforeza na poverhnosty katodnogo osnovaniya, snabzhenngo provodyashtim sloem, osazhdayutsya chastitsi emitiruyushtego i izoliruyushtego materialov. Takim obrazom proishodit formirovanie katoda, sostoyashtego iz osnovaniya s provodyashtim sloem, emitiruyushtego sloya iz chastits emitiruyushtego materiala, razdelennih chastitsami izoliruyushtego materiala.
V opisannom sposobe izgotovleniya avtoemissionnogo katoda ne predusmatrivaetsya kakih-libo mer, napravlennih na orientatsiyu chastits na podlozhke, odnako sluchaynaya orientatsiya ocheny nebolyshogo chisla chastits vse zhe vozmozhna. V rezulytate, pri prilozhenii elektricheskogo polya rabochie napryazheniya dlya otdelynih orientirovannih chastits okazhutsya znachitelyno nizhe, chem dlya neorientirovannih chastits. Yato privodit k krayne neodnorodnoy emissii. Znachenie toka, otbiraemogo s orientirovannih chastits, namnogo vishe, chem s ostalynih, v rezulytate chego zasvetka ekrana neravnomerna. Pri dannom sposobe izgotovleniya avtoemissionnogo katoda vo vremya elektroforeticheskogo protsessa budet nablyudatysya effekt usileniya elektricheskogo polya na krayah provodyashtego sloya katodnogo osnovaniya, chto privodit k znachitelyno bolee intensivnomu osazhdeniyu emitiruyushtego materiala v kraevih oblastyah po sravneniyu s tsentralynimi oblastyami. Tolshtina nanesennogo sloya budet uvelichivatysya ot tsentra k krayam katoda. V rezulytate, pri rabote pribora na osnove takogo katoda budet nablyudatysya neravnomernosty elektronnoy emissii: kraevie oblasti budut emitirovaty znachitelyno silynee tsentralynih oblastey.
Naibolee blizkim po tehnicheskoy sushtnosti i dostigaemomu rezulytatu yavlyaetsya sposob izgotovleniya avtoemissionnogo katoda dlya ploskogo displeynogo ekrana [3] , v kotorom protsess izgotovleniya katoda sostoit iz treh etapov: podgotovka podlozhki, nanesenie rezistivnogo sloya, nanesenie emitiruyushtego sloya.
Katod sostoit iz katodnoy podlozhki predstavlyayushtey soboy katodnoe osnovanie, na kotoroe nanesen tokoprovodyashtiy sloy. Na katodnuyu podlozhku metodom elektroforeza nanositsya rezistivniy sloy, poverh rezistivnogo sloya nanositsya emitiruyushtiy sloy, chastitsi kotorogo razdeleni chastitsami izoliruyushtego materiala. V kachestve emitiruyushtego materiala mozhet ispolyzovatysya grafit, almaz, amorfniy uglerod, molibden, tsink, kremniy. Sredniy razmer grafitovih chastits vibiraetsya v predelah ot 0,01 mkm do 0,5 mkm. Chastitsi emitiruyushtego i izoliruyushtego materiala zagruzhayutsya odnovremenno v vannu dlya elektroforeticheskogo naneseniya, soderzhashtuyu gidrofilyniy spirt, vodu, soly zaryadchika i antikoagulyant. Soly-zaryadchik vibrana iz gruppi Mg(NO3)2, La(NO3)3 ili Y(NO3)3. Kontsentratsiya soli-zaryadchika varyiruetsya v predelah ot 10-5 do 10-1 moly na litr. V elektroforeticheskoy vanne razmeshtayutsya katodnoe osnovanie i protivoelektrod. Mezhdu nimi dlya provedeniya protsessa osazhdeniya prikladivayut elektricheskoe napryazhenie. V rezulytate obrazuyut katod, sostoyashtiy iz osnovaniya s provodyashtim sloem, sloya rezistivnogo materiala i emitiruyushtego sloya iz chastits emitiruyushtego materiala, razdelennih chastitsami izoliruyushtego materiala.
Formirovanie dopolnitelynogo rezistivnogo sloya hotya i privodit k znachitelynomu uluchsheniyu elektronnoy emissii, no, s drugoy storoni, trebuet uvelicheniya rabochego napryazheniya. Dlya mnogih primeneniy (ploskie avtoemissionnie displei, lampi podsvetki i t.p.) neobhodimo snizhenie rabochih napryazheniy. Pri visokih rabochih napryazheniyah trebuyutsya spetsializirovannie visokovolytnie istochniki pitaniya, chto vedet k uslozhneniyu konstruktsii pribora i, kak sledstvie, uvelicheniyu ego stoimosti, chto prepyatstvuet massovomu ispolyzovaniyu podobnih katodov v portativnih ustroystvah.
Tselyyu izobreteniya yavlyaetsya snizhenie stoimosti izgotovleniya katoda pri uvelichenii prodolzhitelynosti ego raboti, a takzhe uluchshenie emissionnih harakteristik, v chastnosti snizhenie rabochih napryazheniy, uluchshenie ravnomernosti elektronnoy emissii.
Tehnicheskim rezulytatom zayavlennogo izobreteniya yavlyaetsya uvelichenie prodolzhitelynosti raboti katoda blagodarya ispolyzovaniyu v kachestve emitiruyushtego materiala uglerodnih volokon, otlichayushtihsya visokim srokom sluzhbi, uluchshenie ravnomernosti raspredeleniya emissionnih tsentrov na poverhnosti katoda za schet umenysheniya vliyaniya kraevogo effekta, a takzhe snizhenie rabochih napryazheniy katoda za schet prigotovleniya poroshka iz uglerodnih volokon s chastitsami vityanutoy (nesfericheskoy, igolychatoy) formi i ih vertikalynoy orientatsii na poverhnosti katodnoy podlozhki.
Postavlennaya tsely dostigaetsya tem, chto v sposobe izgotovleniya avtoemissionnogo katoda, zaklyuchayushtemsya v nanesenii na katodnuyu podlozhku, sostoyashtuyu iz dielektricheskogo osnovaniya s nanesennim na nego tokoprovodyashtim sloem, emitiruyushtego sloya iz uglerodnogo materiala metodom elektroforeza s ispolyzovaniem vanni, zapolnennoy rastvorom, soderzhashtim gidrofilyniy spirt, vodu, soly zaryadchika, dispersant i chastitsi emitiruyushtego uglerodnogo materiala, v kotoroy razmeshtayut protivoelektrod i katodnuyu podlozhku, k kotorim zatem prikladivayut elektricheskiy potentsial. V izobretenii ispolyzuyut emitiruyushtiy sloy iz uglerodnogo materiala s chastitsami izmelychennih uglerodnih volokon dlinoy 0,05 mkm - 7 mkm, otnosheniem dlini k tolshtine 1-20, i primenyayut dielektricheskoe osnovanie, na kotoroe nanesen tokoprovodyashtiy sloy, vipolnenniy v vide povtoryayushtihsya, ravnomerno udalennih drug ot druga tokoprovodyashtih elementov, rasstoyanie mezhdu kotorimi vibirayut v predelah 5 mkm - 1 sm, pri etom shirina tokoprovodyashtego elementa sostavlyaet ne menee razmera odnoy chastitsi uglerodnogo volokna, otnoshenie rasstoyaniya mezhdu tokoprovodyashtimi elementami k razmeru chastitsi uglerodnogo volokna ot 2 do 100, a emitiruyushtiy sloy obrazuyut putem vertikalynogo raspolozheniya na tokoprovodyashtem sloe katodnoy podlozhki chastits izmelychennih uglerodnih volokon, prichem vertikalynoe raspolozhenie chastits uglerodnih volokon obespechivayut v protsesse elektroforeza putem razmeshteniya v vanne s rastvorom katodnoy podlozhki i protivoelektroda ekvidistatno, s zazorom, velichina kotorogo ne menyshe, chem rasstoyanie mezhdu tokoprovodyashtimi elementami, i podachey na katodnuyu podlozhku i protivoelektrod elektricheskogo potentsiala s odnovremennim sozdaniem mezhdu nimi magnitnogo polya velichinoy ot 0,01 Tl do 10 Tl.
Realizatsiya sposoba poyasnyaetsya fotografiyami i chertezhami, gde izobrazheno:
Fig.1. Pervaya stadiya pomola uglerodnih volokon.
Fig.2. Shematicheskoe izobrazhenie ustanovki dlya pomola volokna.
Fig.3. Poroshok uglerodnogo volokna posle tretyey stadii pomola.
Fig. 4. Shematicheskoe izobrazhenie podlozhki, ispolyzuemoy dlya naneseniya metodom elektroforeza.
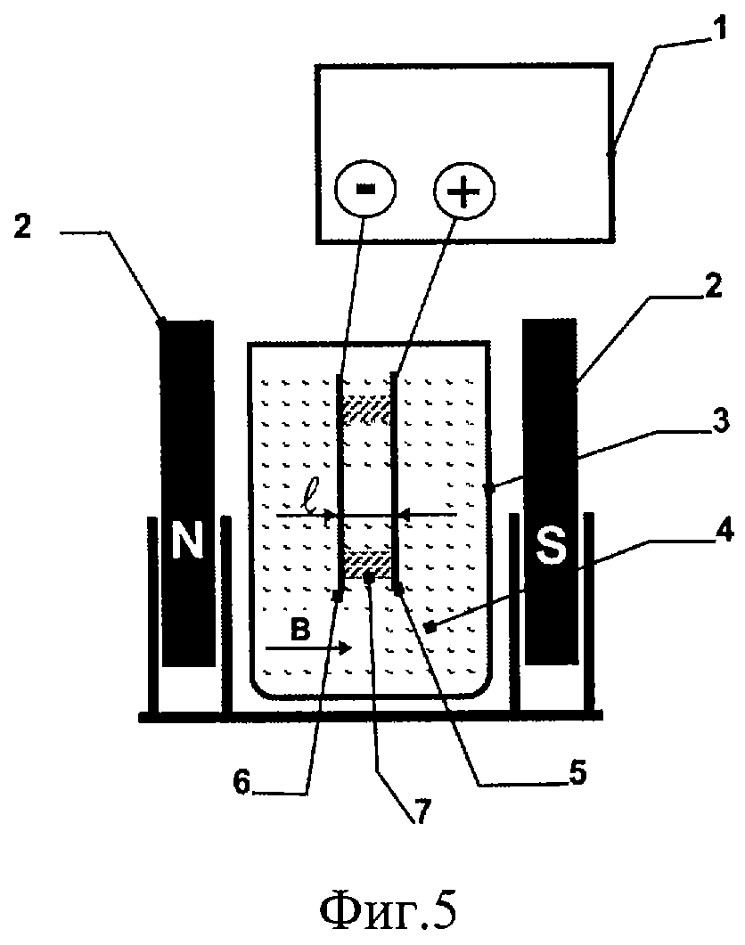
Fig.5. Shematicheskoe izobrazhenie elektroforeticheskoy vanni.
Fig. 6. Voly-tampernie harakteristiki katoda dopirovannogo (krivaya 1) i nedopirovannogo (krivaya 2) bariem.
Fig. 7. Orientatsiya uglerodnih volokon v magnitnom pole v protsesse elektroforeza.
Fig. 8. Izobrazhenie emissionnogo sloya s vertikalyno orientirovannimi chastitsami na katodnoy podlozhke.
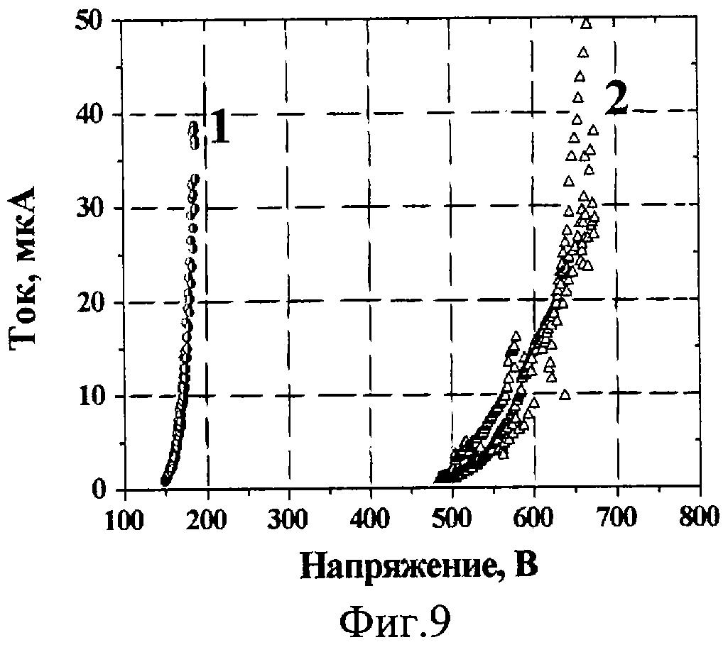
Fig. 9. Volyt-ampernie harakteristiki katodov s vertikalyno orientirovannimi chastitsami (krivaya 1), s neorientirovannimi chastitsami (krivaya 2).
Fig. 10. Izobrazhenie pribora s avtokatodom, izgotovlennim iz molotih uglerodnih volokon metodom elektroforeza.
V kachestve ishodnogo materiala pri izgotovlenii avtoemissionnogo katoda ispolyzuyut uglerodnie volokna, kotorie dlya polucheniya uglerodnogo poroshka peremalivayut. Ishodniy material promishlenno proizvoditsya v vide dlinnih uglerodnih nitey, perepletennih v puchki, diametr otdelynoy uglerodnoy niti sostavlyaet 5-20 mkm. Kolichestvo nitey v puchke varyiruetsya ot 100 do 10000. Dlina puchka mozhet sostavlyaty ot neskolykih metrov do kilometrov. Vibor dannogo uglerodnogo materiala obuslovlen visokim srokom sluzhbi avtokatodov na ego osnove, material proizvoditsya otechestvennoy promishlennostyyu.
Vnutrennyaya struktura uglerodnih volokon vklyuchaet v sebya nitevidnie grafitovie mikroobrazovaniya - fibrilli, raspolagayushtiesya vdoly volokna. Blagodarya takoy strukture uglerodnie volokna obladayut anizotropiey emissionnih svoystv. Yamissiya s tortsa volokna namnogo luchshe, chem s bokovoy poverhnosti: kontsi fibrill vihodyat na torets, obrazuya na nem mnozhestvo mikrovistupov, kazhdiy iz kotorih yavlyaetsya potentsialynim emitterom. Dlya prigotovleniya ploskogo avtokatoda, obladayushtego ravnomernim po tolshtine uglerodnim pokritiem, ishodnie volokna podvergayut izmelycheniyu do prevrashteniya ih v poroshok.
Protsess prigotovleniya uglerodnogo poroshka dlya provedeniya elektroforeticheskogo protsessa vklyuchaet tri stadii. Na pervoy stadii provoditsya predvaritelynaya rezka uglerodnih volokon na otrezki dlinoy ot 1 do 50 sm. Tochnaya dlina vibiraetsya iz soobrazheniy tehnologicheskogo udobstva. Na vtoroy stadii volokna zagruzhayutsya v melynitsu s bistro vrashtayushtimisya nozhami.
Pri etom proishodit pomol volokna na otrezki ot 1 mkm do 100 mkm (fig. 1), odnako dlya povisheniya agdezii v protsesse elektroforeza, a takzhe dlya bolee effektivnoy orientatsii na podlozhke neobhodimo ispolyzovaty chastitsi menyshih razmerov. Na tretyey stadii poluchenniy poroshok izmelychaetsya v peretirayushtey melynitse (fig. 2), predstavlyayushtey soboy sosud, izgotovlenniy iz himicheski stoykogo i mehanicheski tverdogo veshtestva. V sosude razmeshtayut dispersionnuyu sredu, naprimer izopropiloviy ili etiloviy spirt, poroshok izmelychennih uglerodnih volokon i tverdosplavnie shariki, naprimer, iz oksida tsirkoniya. Sosud privoditsya v slozhnoe (vrashtatelyno-vozvratno-postupatelynoe) dvizhenie.
Protsess pomola v dannom sluchae sostoit v chastichnom peretiranii otrezkov uglerodnih volokon katayushtimisya v sosude sharikami. Pri etom iz-za nalichiya v volokne nadmolekulyaroy fibrilynoy strukturi proishodit obrazovanie nesfericheskih chastits, dlinnaya osy kotorih sovpadaet s napravleniem vdoly osi volokna. Varyiruya skorosty dvizheniya sosuda, massu sharikov, dlitelynosty pomola i kontsentratsiyu poroshka, poluchayut chastitsi (fig.3) uglerodnih volokon igolychatoy formi s harakternoy dlinoy ot 0,05 mkm do 7 mkm, i pri etom diametr poluchennih chastits sostavlyaet ot 0,01 mkm do 0,5 mkm, a otnoshenie dlini k diametru v predelah ot 1 do 20. Poluchennie chastitsi otdelyayut ot tverdosplavnih sharikov, razbavlyaya ispolyzovannuyu suspenziyu neobhodimim kolichestvom spirta. Zatem shariki mehanicheski udalyayut iz suspenzii, a ostavshiysya rastvor visushivayut.
Malaya tolshtina chastits, obespechivayushtaya bolyshoe usilenie polya na kontsah chastits, v protsesse raboti avtoemissionnogo katoda, a takzhe ih fibrilynaya mikrostruktura v sluchae vertikalynoy orientatsii na podlozhke privodit k umenysheniyu rabochih napryazheniy katoda.
Dlya povisheniya ravnomernosti emissii katoda trebuetsya snizity neodnorodnosty naneseniya emitiruyushtego materiala, yavlyayushtuyusya sledstviem effekta usileniya elektricheskogo polya na krayah provodyashtego sloya na dielektricheskom osnovanii (kraevoy effekt). Takoe usilenie polya privodit k znachitelyno bolee intensivnomu naneseniyu emitiruyushtego materiala v kraevih oblastyah po sravneniyu s tsentralynimi oblastyami. Tolshtina nanesennogo sloya budet uvelichivatysya ot tsentra k krayam katoda. V rezulytate, pri rabote pribora na osnove takogo katoda budet nablyudatysya neravnomernosty elektronnoy emissii: kraevie oblasti budut emitirovaty znachitelyno silynee tsentralynih oblastey.
Chtobi izbezhaty kraevogo effekta, predlagaetsya razdelyaty provodyashtiy sloy na periodicheski povtoryayushtiesya elementi, kotorie vposledstvii mogut bity elektricheski soedineni i obaedineni v gruppi dlya udobstva posleduyushtego naneseniya. Pri takoy strukture katodnogo pokritiya effekt usileniya elektricheskogo polya budet odinakov dlya vseh provodyashtih elementov. Intensivnosty elektroforeticheskogo osazhdeniya uglerodnogo poroshka takzhe budet odinakova dlya kazhdogo elementa, i ravnomernosty tolshtini nanesennogo sloya vdoly vsey poverhnosti katoda znachitelyno uluchshitsya. V rezulytate ravnomernosty emissii s poverhnosti katoda, izgotovlennogo s ispolyzovaniem podlozhki s periodicheskim raspolozheniem elementov, znachitelyno povishaetsya.
Shirina tokoprovodyashtih elementov a (fig.4) dolzhna bity ne menyshe tolshtini osazhdaemih chastits, chto neobhodimo dlya obespecheniya dostatochnoy agdezii chastitsi k podlozhke i horoshego elektricheskogo kontakta. Krome togo, chtobi usilenie polya na tokoprovodyashtem elemente bilo kak mozhno bolee odnorodnim, shirina tokoprovodyashtego elementa a dolzhna bity menyshe zazora mezhdu katodnoy podlozhkoy i protivoelektrodom l (fig.5). Dlya polucheniya odinakovih konfiguratsiy raspredelennih elektricheskih poley vblizi kazhdogo elementa rasstoyanie mezhdu tokoprovodyashtimi elementami b dolzhno v neskolyko raz previshaty shirinu elementa a.
Ishodya iz etih trebovaniy, shirinu tokoprovodyashtego elementa a vibirayut v diapazone ot 0,1 mkm do 50 mkm, rasstoyanie mezhdu nimi b - v predelah ot 5 mkm do 1 sm, pri otnoshenii b k a v predelah ot 2 do 100.
Protsess elektroforeticheskogo naneseniya provodyat v ustanovke shematicheski izobrazhennoy na fig. 5. Katodnuyu podlozhku i protivoelektrod ustanavlivayut ekvidistatno takim obrazom, chtobi zazor mezhdu nimi bil l. Nizhniy predel velichini zazora l opredelyaetsya dlinoy osazhdaemoy chastitsi. Verhniy predel velichini zazora l dlya obespecheniya odnorodnosti usileniya elektricheskogo polya na vseh provodyashtih elementah ne dolzhen previshaty razmera vsey poverhnosti katoda. Nailuchshaya odnorodnosty polya obespechivaetsya pri l, ne previshayushtem rasstoyaniya mezhdu tokoprovodyashtimi elementami b, no takoe raspolozhenie slozhno realizuemo na praktike, tak kak predpolagaet libo ocheny malie zazori l (poryadka desyatkov mkm), libo bolyshie znacheniya rasstoyaniya b (ot neskolykih soten mkm do neskolykih mm). V pervom sluchae povishaetsya veroyatnosty elektricheskogo proboya mezhelektrodnogo prostranstva v protsesse elektroforeza. Vo vtorom sluchae emitiruyushtie oblasti okazivayutsya raspolozhennimi na podlozhke ocheny redko, chto ogranichivaet oblasty primenimosti katoda, osnovannogo na takoy strukture podlozhki (naprimer, dlya avtoemissionnih displeev, trebuyushtih malogo razmera pikseley). Sledovatelyno, naibolee predpochtitelynim dlya zazora l mezhdu katodnoy podlozhkoy i protivoelektrodom yavlyaetsya diapazon velichin ot b do razmera vsey poverhnosti katoda.
Zazor l (fig. 5) mozhet bity ustanovlen, naprimer, s pomoshtyyu dielektricheskih prokladok 7 sootvetstvuyushtey tolshtini. Zatem katodnuyu podlozhku 6 i protivoelektrod 5 razmeshtayut v vanne 3, napolnennoy rastvorom elektrolita. Posledniy predstavlyaet soboy dispersionnuyu sredu s rastvorennim v ney zaryadchikom, v kotorom vzvesheni chastitsi izmelychennih uglerodnih volokon 4.
V kachestve dispersionnoy sredi ispolyzuyut zhidkiy dielektrik, naprimer izopropiloviy spirt, a v kachestve zaryadchika mogut vistupaty lyubie soli dvuh- i trehvalentnih metallov, rastvorimie v dispersionnoy srede ili v vode, naprimer VaVr2•6N2O, Mg(NO3)2, La(NO3)3•6N2O, NiCl2 ili Y(NO3)3. Kontsentratsiya soli zaryadchika varyiruetsya v predelah 10-5 do 10-1 moly na litr.
Yaksperimentalyno ustanovleno, chto pri ispolyzovanii v kachestve zaryadchika bariysoderzhashtih soley, naprimer bromida bariya, obespechivaetsya formirovanie na poverhnosti katoda tonkoy plenki, sostoyashtey iz bariya, ego oksida i gidrooksida. Pri posleduyushtem ispolyzovanii avtoemissionnogo katoda takoe pokritie proyavlyaet aktiviruyushtie svoystva i pozvolyaet snizity v 1,5-2 raza rabochee napryazhenie, trebuemoe dlya polucheniya odnogo i togo zhe rabochego toka (fig.6).
Protsess naneseniya provoditsya putem prilozheniya napryazheniya ot sootvetstvuyushtego istochnika 1 (fig.5) mezhdu katodnoy podlozhkoy i protivoelektrodom. Velichina napryazheniya mozhet bity vibrana iz diapazona ot 10 V do 1,5 kV. Pri etom katodnaya podlozhka obichno nahoditsya pod otritsatelynim potentsialom. Chastitsi izmelychennih uglerodnih volokon adsorbiruyut na svoey poverhnosti polozhitelynie ioni metala iz rastvora elektrolita i priobretayut polozhitelyniy zaryad. Pod deystviem polya oni ustremlyayutsya k otritsatelynomu elektrodu - katodnoy podlozhke. Chastitsi zakreplyayutsya na katodnoy podlozhke za schet van-der-vaalysovih sil i za schet obrazovaniya tonkoy plenki iz metalla zaryadchika, ego oksida i gidrooksida.
Dlya uvelicheniya emissionnoy sposobnosti avtoemissionnogo katoda chastitsi izmelychennih uglerodnih volokon dolzhni bity orientirovani perpendikulyarno katodnomu osnovaniyu. Dlya polucheniya trebuemoy orientatsii chastits v protsesse elektroforeza vanna s pomeshtennimi v nee katodnoy podlozhkoy, protivoelektrodom i dispersionnoy sredoy, soderzhashtey rastvorennie soli zaryadchika i chastitsi izmelychennih uglerodnih volokon, pomeshtayutsya v postoyannoe magnitnoe pole, sozdavaemoe, naprimer, postoyannimi magnitami. Vektor napryazhennosti magnitnogo polya dolzhen bity napravlen perpendikulyarno poverhnosti katodnogo osnovaniya. Pod deystviem takogo magnitnogo polya vityanutie chastitsi orientiruyutsya perpendikulyarno poverhnosti katodnoy podlozhki (vertikalyno) (fig.7). Velichinu magnitnogo polya ustanavlivayut v predelah ot 0,01 Tl do 10 Tl v zavisimosti ot razmerov nanosimih chastits. Po okonchanii protsessa elektroforeza i obrazovaniya na katodnoy podlozhke emitiruyushtego sloya katodnuyu podlozhku visushivayut.
Posle vipolneniya opisannih vishe operatsiy poluchayut katod s pokritiem iz izmelychennih chastits uglerodnih volokon udlinennoy formi i zadannoy geometriey raspolozheniya emitterov, prichem chastitsi orientirovani perpendikulyarno poverhnosti katoda i obladayut visokoy agdeziey k podlozhke.
Dostignutaya pri dannom sposobe izgotovleniya katoda vertikalynaya orientatsiya chastits na podlozhke (fig.8) obespechivaet znachitelynie preimushtestva emissionnih svoystv poluchennogo katoda po sravneniyu s katodom, chastitsi uglerodnogo pokritiya kotorogo raspolozheni na podlozhke proizvolyno. Blagodarya anizotropii avtoemissionnih svoystv uglerodnih volokon, emissiya s tortsa chastitsi znachitelyno luchshe, chem s ee bokovoy poverhnosti. Vsledstvie etogo rabochie napryazheniya katoda s vertikalynoy orientatsiey chastits snizhayutsya v 2-3 raza po sravneniyu s katodom, chastitsi uglerodnogo pokritiya kotorogo raspolozheni na podlozhke gorizontalyno (fig. 9). Krome togo, snizhenie rabochih napryazheniy obespechivaetsya uvelicheniem faktora usileniya polya na kontsah volokon po sravneniyu s takim usileniem na neorientirovannih voloknah.
Nizkie rabochie napryazheniya, blagodarya umenysheniyu koeffitsienta katodnogo raspileniya, obespechivayut dlitelyniy srok sluzhbi pribora (bolee 10000 chasov) pri visokom toke emissii. V itoge, poluchenniy opisannim sposobom avtokatod obladaet horoshey ravnomernostyyu elektronnoy emissii pri nizkih rabochih napryazheniyah i visokom sroke sluzhbi, a otnositelynaya prostota izgotovleniya obespechivaet nizkuyu stoimosty pribora.
Primeri realizatsii predlagaemogo tehnicheskogo resheniya.
Primer 1. Sposob realizuetsya sleduyushtim obrazom. Puchki poliakrilonitrilynih uglerodnih volokon rezhut na otrezki dlinoy 15-30 mm i zagruzhayut v melynitsu s vrashtayushtimisya nozhami. Zatem proizvodyat pomol v techenie 10-15 minut. Poluchenniy poroshok (fig. 1) zagruzhayut v sharikovuyu melynitsu (fig.2), predstavlyayushtuyu soboy steklyanniy sosud, v kotorom razmeshteni shariki diametrom 5 mm, izgotovlennie iz oksida tsirkoniya. V sosud dobavlyayut izopropiloviy spirt v kolichestve, dostatochnom dlya togo, chtobi vse shariki okazalisy pogruzheni v spirt. Pri etom kontsentratsiya uglerodnogo poroshka dolzhna bity 0,1-0,2 g/ml. Sosud privodyat v slozhnoe (vrashtatelyno-vozvratno-postupatelynoe) dvizhenie. Pomol proizvodyat v techenie 10-15 chasov.
Poluchennie chastitsi otdelyayut, razbavlyaya ispolyzovannuyu suspenziyu bolyshim kolichestvom spirta. Zatem shariki mehanicheski udalyayut iz suspenzii, a ostavshiysya rastvor visushivayut.
Katodnuyu podlozhku izgotavlivayut nanosya na ploskoe steklyannoe osnovanie tokoprovodyashtiy sloy iz alyuminiya. Pri etom tokoprovodyashtiy sloy vipolnyayut v vide povtoryayushtihsya tokoprovodyashtih elementov (fig.4), rasstoyanie b mezhdu kotorimi sostavlyaet 20 mkm, a shirina a kazhdogo elementa sostavlyaet 20 mkm. Parallelyno katodnomu osnovaniyu na rasstoyanii 0,7 mm raspolagayut platinoviy protivoelektrod. Rasstoyanie mezhdu katodnim osnovaniem i protivoelektrodom fiksiruyut s pomoshtyyu steklyannih speyserov. Katodnoe osnovanie i protivoelektrod uderzhivayutsya v takom sostoyanii s pomoshtyyu zazhima.
Rastvor dlya elektroforeza gotovyat, dobavlyaya v izopropiloviy spirt soly-zaryadchik La(NO3)3•6N2O v kontsentratsii 6-7 mg na litr. V rastvor dobavlyayut poluchennie v rezulytate pomola chastitsi uglerodnih volokon (fig.3) v kontsentratsii 0,02 gramma na litr. Poluchenniy rastvor zalivayut v steklyannuyu vannu (fig.5), ustanovlennuyu mezhdu postoyannimi magnitami, sozdayushtimi magnitnoe pole 1 Tl. V vanne razmeshtayut katodnoe osnovanie i protivoelektrod i prikladivayut mezhdu nimi postoyannoe elektricheskoe napryazhenie 500 V. Protsess naneseniya vipolnyayut v techenie 3 minut. Zatem poluchenniy katod vinimayut iz vanni i sushat.
V rezulytate poluchayut katod s emissionnim pokritiem iz chastits uglerodnih volokon, fragment kotorogo pokazan na fig.8.
Primer 2. Sposob realizuyut sleduyushtim obrazom. Izgotavlivayut chastitsi uglerodnih kak opisano v primere 1. Katodnuyu podlozhku izgotavlivayut nanosya na ploskoe steklyannoe osnovanie tokoprovodyashtiy sloy iz alyuminiya. Pri etom tokoprovodyashtiy sloy vipolnyayut v vide povtoryayushtihsya tokoprovodyashtih elementov (fig. 4), rasstoyanie b mezhdu kotorimi sostavlyaet 200 mkm, a shirina a kazhdogo elementa sostavlyaet 20 mkm. Parallelyno katodnomu osnovaniyu na rasstoyanii 6 mm raspolagayut platinoviy protivoelektrod. Rasstoyanie mezhdu katodnim osnovaniem i protivoelektrodom fiksiruyut s pomoshtyyu steklyannih speyserov. Katodnoe osnovanie i protivoelektrod uderzhivayutsya v takom sostoyanii s pomoshtyyu zazhima.
Rastvor dlya elektroforeza gotovyat, dobavlyaya v izopropiloviy spirt nasishtenniy vodniy rastvor soli-zaryadchika VaVr2•6N2O, poluchaemiy pri rastvorenii soli-zaryadchika BaBr2•6H2O v distillirovannoy vode do dostizheniya predela rastvorimosti, kotoriy opredelyayut po obrazovaniyu osadka nerastvorivsheysya soli. Kolichestvo nasishtennogo vodnogo rastvora soli-zaryadchika VaVr2•6N2O opredelyayut iz usloviya dostizheniya kontsentratsii soli-zaryadchika 6-7 mg na litr. V rastvor dobavlyayut poluchennie v rezulytate pomola chastitsi uglerodnih volokon (fig.3) v kontsentratsii 0,02 gramma na litr. Poluchenniy rastvor zalivayut v steklyannuyu vannu (fig.5), ustanovlennuyu mezhdu postoyannimi magnitami, sozdayushtimi magnitnoe pole 1 Tl. V vanne razmeshtayut katodnoe osnovanie i protivoelektrod i prikladivayut mezhdu nimi postoyannoe elektricheskoe napryazhenie 500 V. Protsess naneseniya vipolnyayut v techenie 3 minut. Zatem poluchenniy katod vinimayut iz vanni i sushat.
V rezulytate poluchayut katod s emissionnim pokritiem iz chastits uglerodnih volokon, prichem obrazovavshayasya na poverhnosti katoda plenka iz bariya, ego oksida i gidroksida obladaet aktiviruyushtimi svoystvami i snizhaet trebuemie rabochie napryazheniya.
Na osnove izgotovlennih v sootvetstvii s opisannim sposobom avtokatodov bili sobrani prototipi elektrovakuumnogo pribora (fig.10). Tehnologicheskaya prostota realizatsii sposoba obespechivaet vozmozhnosty nalazhivaniya massovogo proizvodstva avtokatodov s ispolyzovaniem seriyno vipuskaemogo oborudovaniya.

Медиафайлы

Патенты

СПОСОБ ИЗГОТОВЛЕНИЯ АВТОЭМИССИОННОГО КАТОДА
RU2225052