Устройства для обеззараживания поверхности
Разработка
ID
K75B-JFSA
Пользователь
Категория
A - удовлетворение жизненных потребностей человека
Стоимость
150,000,000 ₽
Опубликован
27.03.2024 12:59
Срок разработки
18 месяцев
Описание
Устройство для обеззараживания поверхностей, ран, воды для применения в медицинской промышленности.
Предлагается более упрощенное техническое устройство в сравнении с используемыми на данный момент образцами, а также более расширенные функциональные возможности.
Изобретение работает следующим образом.
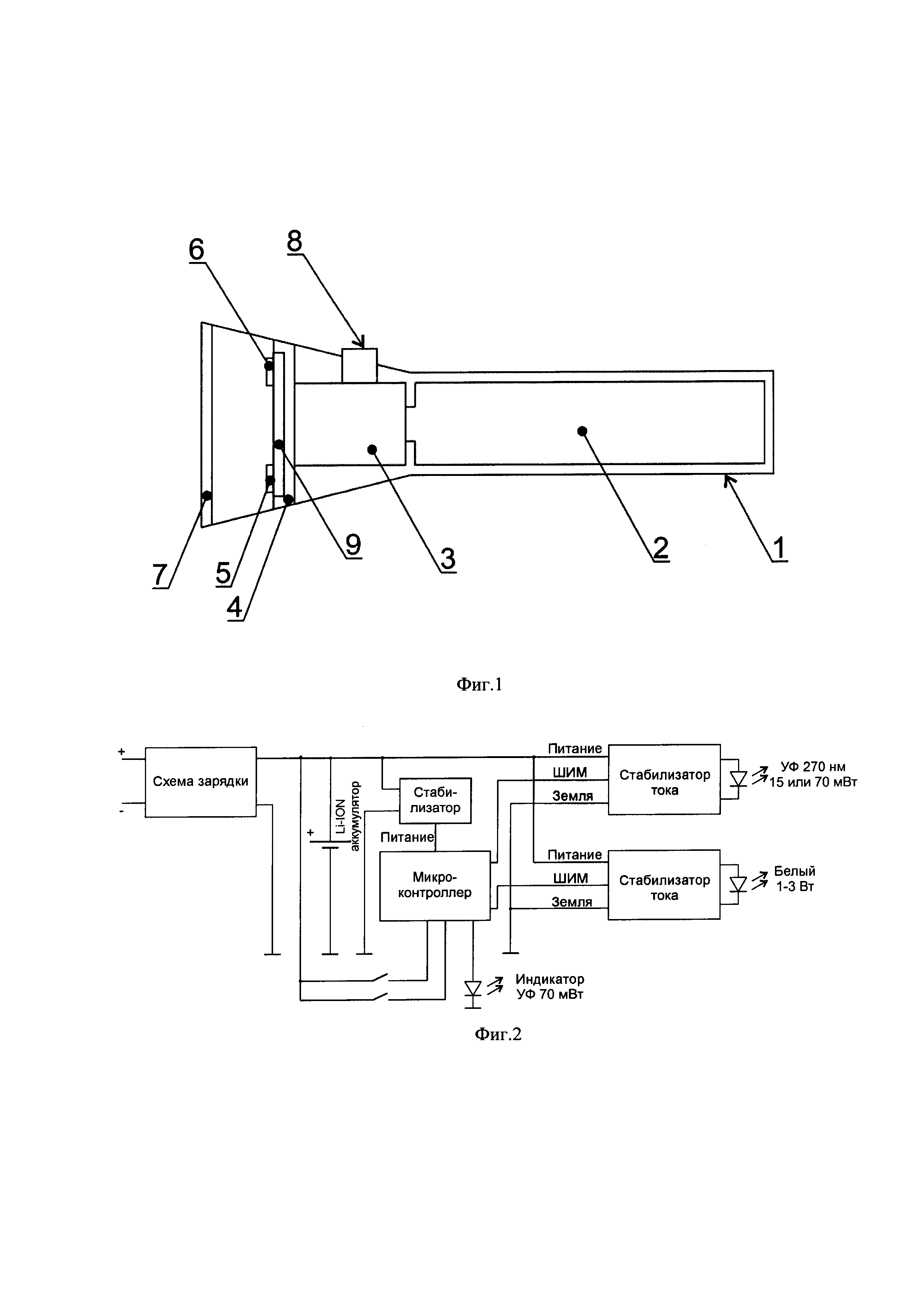
При первом включении кнопки внутри нее загорается светодиод, свидетельствующ
iy o vklyuchenii ustroystva, dalyneyshee odnokratnoe nazhatie knopki vklyuchaet na 20 sekund rezhim obezzarazhivaniya poverhnostey ili otkritih ran na tele cheloveka ili zhivotnogo, ili zhidkosti (pri moshtnosti 20 mVt). Odnoy obrabotki obichno bivaet dostatochno, no esli poverhnosty rani bolyshe 20 sm2, to sleduyushtee vklyuchenie vozmozhno cherez 1 minutu. Pri etom rabotaet stroboskop belogo tsveta s chastotoy 1 Gts i maloy intensivnosti.
Povtornoe nazhimanie knopki vklyuchaet rezhim 70 mVt (ili bolee) na 20 sek, chto dostatochno dlya polnogo obezzarazhivaniya 200 ml polnostyyu prozrachnoy vodi. Pri etom stroboskop rabotaet v bolee yarkom rezhime i s chastotoy 10 Gts.
Upravlenie ustroystvom odnoy knopkoy proizvoditsya s pomoshtyyu bloka upravleniya na osnove 8-bitnogo mikrokontrollera. On osushtestvlyaet upravlenie rezhimami raboti i otschet vremeni zaderzhki vklyucheniya posle raboti v rezhime povishennoy moshtnosti.
To, chto v ustroystve dlya obezzarazhivaniya poverhnosti, soderzhashtem istochnik ulytrafioletovogo izlucheniya, v kachestve izluchatelya istochnika ulytrafioletovogo izlucheniya ispolyzuyut, po menyshey mere, odin ulytrafioletoviy svetodiod, elektricheski sopryazhenniy s blokom upravleniya privodit k uproshteniyu ustroystva i rasshirenii ego funktsionalynih vozmozhnostey.
Nablyudenie za hodom protsessa proizvoditsya cherez svetodiodniy indikator.
Po menyshey mere odin ulytrafioletoviy svetodiod imeet maksimum izlucheniya na dline volni 275±10 nm, chto privodit k unichtozheniyu vseh mikrobov, bakteriy i virusov.
Kak minimum odin ulytrafioletoviy svetodiod imeet perviy rezhim raboti s moshtnostyyu v diapazone 50 - 70 mVt i vtoroy rezhim raboti s moshtnostyyu v diapazone 15-20 mVt privodit k obespecheniyu dvuh rezhimov raboti: I - obezzarazhivanie vodi; II - obezzarazhivanie poverhnostey, v tom chisle ran.
Svetodiod vidimogo diapazona vipolnen v vide stroboskopa s pervoy chastotoy, sootvetstvuyushtey pervomu rezhimu raboti, po menyshey mere, odnogo ulytrafioletovogo svetodioda s moshtnostyyu v diapazone 50 - 70 mVt, i so vtoroy chastotoy, sootvetstvuyushtey vtoromu rezhimu raboti, po menyshey mere, odnogo ulytrafioletovogo svetodioda 5 s moshtnostyyu v diapazone 15-20 mVt, privodit k uvelicheniyu bezopasnosti obrashteniya s ustroystvom.
Pomeshtenie ulytrafioletovih svetodiodov na platu, integrirovannuyu s radiatorom, polozhitelyno skazivaetsya na nadezhnosti ustroystva.
Vihodnoe kvartsevoe okno vipolneno s koeffitsientom propuskaniya ne menee 95% na dlinah voln 275±10 nm, chto privodit k povisheniyu effektivnosti obezzarazhivaniya.
Предлагается более упрощенное техническое устройство в сравнении с используемыми на данный момент образцами, а также более расширенные функциональные возможности.
Изобретение работает следующим образом.
При первом включении кнопки внутри нее загорается светодиод, свидетельствующ
iy o vklyuchenii ustroystva, dalyneyshee odnokratnoe nazhatie knopki vklyuchaet na 20 sekund rezhim obezzarazhivaniya poverhnostey ili otkritih ran na tele cheloveka ili zhivotnogo, ili zhidkosti (pri moshtnosti 20 mVt). Odnoy obrabotki obichno bivaet dostatochno, no esli poverhnosty rani bolyshe 20 sm2, to sleduyushtee vklyuchenie vozmozhno cherez 1 minutu. Pri etom rabotaet stroboskop belogo tsveta s chastotoy 1 Gts i maloy intensivnosti.
Povtornoe nazhimanie knopki vklyuchaet rezhim 70 mVt (ili bolee) na 20 sek, chto dostatochno dlya polnogo obezzarazhivaniya 200 ml polnostyyu prozrachnoy vodi. Pri etom stroboskop rabotaet v bolee yarkom rezhime i s chastotoy 10 Gts.
Upravlenie ustroystvom odnoy knopkoy proizvoditsya s pomoshtyyu bloka upravleniya na osnove 8-bitnogo mikrokontrollera. On osushtestvlyaet upravlenie rezhimami raboti i otschet vremeni zaderzhki vklyucheniya posle raboti v rezhime povishennoy moshtnosti.
To, chto v ustroystve dlya obezzarazhivaniya poverhnosti, soderzhashtem istochnik ulytrafioletovogo izlucheniya, v kachestve izluchatelya istochnika ulytrafioletovogo izlucheniya ispolyzuyut, po menyshey mere, odin ulytrafioletoviy svetodiod, elektricheski sopryazhenniy s blokom upravleniya privodit k uproshteniyu ustroystva i rasshirenii ego funktsionalynih vozmozhnostey.
Nablyudenie za hodom protsessa proizvoditsya cherez svetodiodniy indikator.
Po menyshey mere odin ulytrafioletoviy svetodiod imeet maksimum izlucheniya na dline volni 275±10 nm, chto privodit k unichtozheniyu vseh mikrobov, bakteriy i virusov.
Kak minimum odin ulytrafioletoviy svetodiod imeet perviy rezhim raboti s moshtnostyyu v diapazone 50 - 70 mVt i vtoroy rezhim raboti s moshtnostyyu v diapazone 15-20 mVt privodit k obespecheniyu dvuh rezhimov raboti: I - obezzarazhivanie vodi; II - obezzarazhivanie poverhnostey, v tom chisle ran.
Svetodiod vidimogo diapazona vipolnen v vide stroboskopa s pervoy chastotoy, sootvetstvuyushtey pervomu rezhimu raboti, po menyshey mere, odnogo ulytrafioletovogo svetodioda s moshtnostyyu v diapazone 50 - 70 mVt, i so vtoroy chastotoy, sootvetstvuyushtey vtoromu rezhimu raboti, po menyshey mere, odnogo ulytrafioletovogo svetodioda 5 s moshtnostyyu v diapazone 15-20 mVt, privodit k uvelicheniyu bezopasnosti obrashteniya s ustroystvom.
Pomeshtenie ulytrafioletovih svetodiodov na platu, integrirovannuyu s radiatorom, polozhitelyno skazivaetsya na nadezhnosti ustroystva.
Vihodnoe kvartsevoe okno vipolneno s koeffitsientom propuskaniya ne menee 95% na dlinah voln 275±10 nm, chto privodit k povisheniyu effektivnosti obezzarazhivaniya.
Медиафайлы
Патенты
Устройство для обеззараживания поверхности
RU2751750