Индивидуальный ультрафиолетовый рециркулятор экранного типа
Разработка
ID
K26F-Y60C
Пользователь
Категория
A - удовлетворение жизненных потребностей человека
Стоимость
150,000,000 ₽
Опубликован
27.03.2024 13:03
Срок разработки
18 месяцев
Описание
Предлагаемый рециркулятор может применяться в медицине для индивидуальной защиты органов дыхания от бактерий и вирусов.
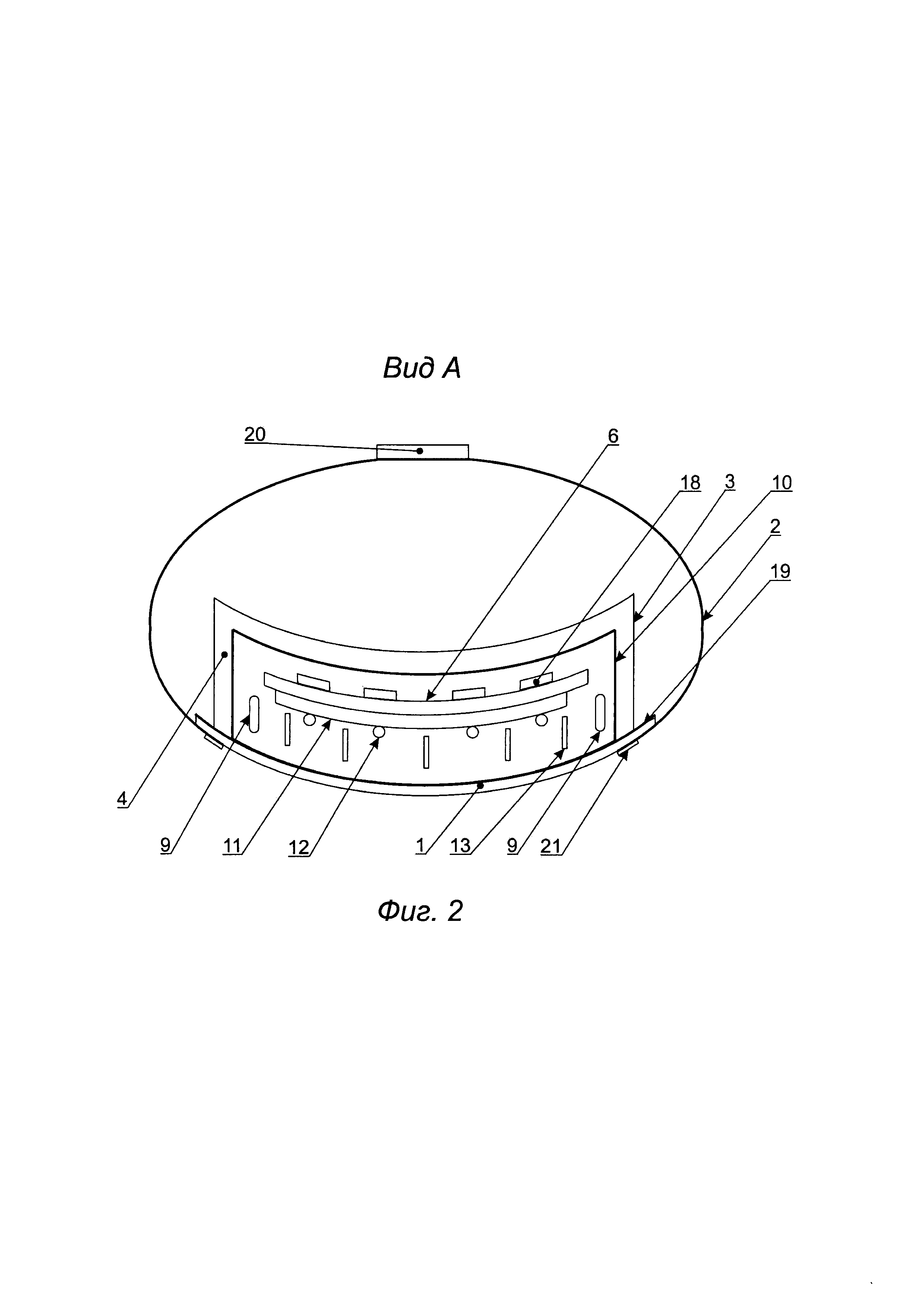
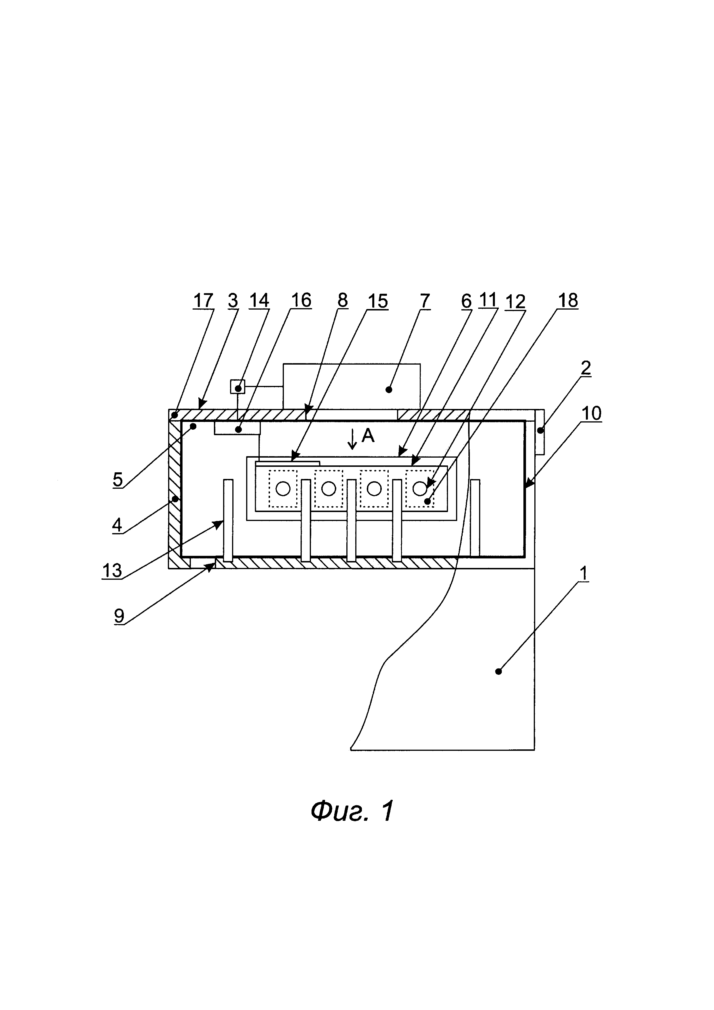
Принцип работы устройства:
После закрепления устройства на голове человека включают вентилятор и с помощью регулятора скорости устанавливают требуемую скорость вращения. Эта скорость может определяться, как комфортным условием эксплуатации устройства, так и уровнем
potentsialynoy opasnosti. Chem vishe opasnosty, tem bolyshuyu skorosty vrashteniya mozhno ustanavlivaty na ventilyatore. Posle etogo s pomoshtyyu pereklyuchatelya ustanavlivayut trebuemiy rezhim raboti ulytrafioletovih svetodiodov. Yatot rezhim mozhet opredelyatysya takzhe urovnem potentsialynoy opasnosti. Chem vishe opasnosty, tem bolyshaya moshtnosty mozhet podavatysya na ulytrafioletovie svetodiodi. Nagnetaemiy vozduh postupaet iz okruzhayushtey sredi cherez vhodnoe otverstie vo vnutrennyuyu polosty korpusa. Dalee, obhodya peregorodki, obezzarazhenniy vozduh cherez vihodnie otverstiya postupayut v prostranstvo mezhdu organami dihaniya cheloveka i prozrachnim ekranom. Obezzarazhivanie vozduha, postupayushtego iz okruzhayushtey sredi, proishodit izlucheniem ot ulytrafioletovih svetodiodov vo vnutrenney polosti, a takzhe na poverhnosti dioksida titana, vnutrenney polosti korpusa, peregorodok i vnutrenney poverhnosti prozrachnogo ekrana, stimulirovannogo ulytrafioletovim izlucheniem. Protsess obezzarazhivaniya vozduha na diokside titana, v tom chisle pri vozdeystvii na nego ulytrafioletovim izlucheniem.
Принцип работы устройства:
После закрепления устройства на голове человека включают вентилятор и с помощью регулятора скорости устанавливают требуемую скорость вращения. Эта скорость может определяться, как комфортным условием эксплуатации устройства, так и уровнем
potentsialynoy opasnosti. Chem vishe opasnosty, tem bolyshuyu skorosty vrashteniya mozhno ustanavlivaty na ventilyatore. Posle etogo s pomoshtyyu pereklyuchatelya ustanavlivayut trebuemiy rezhim raboti ulytrafioletovih svetodiodov. Yatot rezhim mozhet opredelyatysya takzhe urovnem potentsialynoy opasnosti. Chem vishe opasnosty, tem bolyshaya moshtnosty mozhet podavatysya na ulytrafioletovie svetodiodi. Nagnetaemiy vozduh postupaet iz okruzhayushtey sredi cherez vhodnoe otverstie vo vnutrennyuyu polosty korpusa. Dalee, obhodya peregorodki, obezzarazhenniy vozduh cherez vihodnie otverstiya postupayut v prostranstvo mezhdu organami dihaniya cheloveka i prozrachnim ekranom. Obezzarazhivanie vozduha, postupayushtego iz okruzhayushtey sredi, proishodit izlucheniem ot ulytrafioletovih svetodiodov vo vnutrenney polosti, a takzhe na poverhnosti dioksida titana, vnutrenney polosti korpusa, peregorodok i vnutrenney poverhnosti prozrachnogo ekrana, stimulirovannogo ulytrafioletovim izlucheniem. Protsess obezzarazhivaniya vozduha na diokside titana, v tom chisle pri vozdeystvii na nego ulytrafioletovim izlucheniem.
Медиафайлы
Патенты
Индивидуальный ультрафиолетовый рециркулятор экранного типа
RU2758127