АСКАО

Устройство очистки воздуха

Разработка


ID
IX3J-P0EO
Категория
A - удовлетворение жизненных потребностей человека
Опубликован
11.04.2024 13:31

Описание

Изобретение относится к области фотокаталитической очистки атмосферного воздуха различными устройствами, использующими принцип окисления органических и неорганических веществ, адсорбированных на поверхности фотокатализатора под действием ультрафиолетового излучения с длиной волны меньше 400 нм. Изобретение может быть использовано для нейтрализации токсичных газов, образующихся при техногенных ката
strofah i avariyah na predpriyatiyah himicheskoy i drugih otrasley promishlennosti, a takzhe v rezulytate terroristicheskih aktov s primeneniem otravlyayushtih veshtestv.
Fotohimicheskie reaktsii, initsiiruemie deystviem svetovogo izlucheniya, horosho izvestni i nashli shirokoe primenenie, v chastnosti, dlya obezzarazhivaniya bolynichnih pomeshteniy. Izvestno, chto dioksid titana TiO2 v kristallicheskoy modifikatsii anataz demonstriruet prevoshodnie fotokataliticheskie svoystva, kotorie obespechivayut sposobnosty k razrusheniyu razlichnih vrednih veshtestv. V hode fotokataliza, vizvannogo radiatsiey ulytrafioletovoy lampi s dlinoy volni λ300 nm dostatochna dlya perebroski elektrona iz valentnoy zoni v zonu provodimosti s posleduyushtim ego uchastiem v fotohimicheskom protsesse adsorbirovannih katalizatorom veshtestv.
Izvesten tseliy ryad sposobov i ustroystv ochistki i obezzarazhivaniya vozduha s ispolyzovaniem fotokataliticheskih filytrov na osnove anataznoy modifikatsii dioksida titana. V patente RU 2259866 predlozhen sposob ochistki gazov, v tom chisle vozduha, okisleniem s ispolyzovaniem fotokatalizatora na osnove dioksida titana, nanesennogo na keramicheskie nositeli. Pri etom ishodnuyu gazovuyu smesy, soderzhashtuyu okislyaemie vrednie veshtestva, nasishtayut parami perekisi vodoroda i prokachivayut s pomoshtyyu ventilyatora cherez plastinu s fotokatalizatorom. V patente RU 48815 predlozheno neskolyko variantov ustroystv dlya ochistki i obezzarazhivaniya vozduha, vklyuchayushtih posledovatelyniy nabor adsorbtsionnih, elektrostaticheskih i fotokataliticheskih filytrov, izgotovlennih iz setchatogo poristogo nositelya v forme plastini ili trubi.
Naibolee blizkim po tehnicheskoy sushtnosti yavlyaetsya ustroystvo, opisannoe v sposobe fotokataliticheskoy ochistki gazov i vozduha, po kotoromu ochistku osushtestvlyayut v prisutstvii fotokatalizatora, kotoriy predstavlyaet soboy dioksid titana anataznoy modifikatsii, nanesenniy na poristiy nositely, vipolnenniy, naprimer, v forme trubi, plastini, polusferi [Patent RU 2151632].
Nedostatkami izvestnogo ustroystva yavlyayutsya sravnitelyno nebolyshaya skorosty ochistki, bistroe padenie aktivnosti fotokatalizatorov pri razlozhenii aromaticheskih i geteroatomnih organicheskih soedineniy, neobhodimosty ispolyzovaniya dostatochno moshtnogo istochnika elektroenergii pri prokachke ventilyatorom bolyshih obaemov vozduha cherez fotokataliticheskie filytri.
Zadachey izobreteniya yavlyaetsya razrabotka bolee effektivnogo ustroystva fotokataliticheskoy ochistki i obezzarazhivaniya vozduha ot opasnih himicheskih i biologicheskih gazov s ispolyzovaniem bezrtutnih katodolyuminestsentnih lamp.
Tehnicheskiy rezulytat izobreteniya zaklyuchaetsya v snizhenii elektropotrebleniya i povishenii ekologichnosti.
Ukazanniy tehnicheskiy rezulytat i sushtnosty izobreteniya zaklyuchaetsya v tom, chto v ustroystve ochistki vozduha, vklyuchayushtem vhodnoy filytr, istochnik ulytrafioletovogo izlucheniya, fotokataliticheskiy filytr, vhodnoe i vihodnoe okna, raspolozhennie drug naprotiv druga, v kachestve istochnika ulytrafioletovogo izlucheniya ispolyzuyut, po menyshey mere, dve katodolyuminestsentnie vakuumnie lampi s ploskim vihodnim oknom, vneshnyaya storona kotorogo yavlyaetsya izluchayushtey poverhnostyyu, a v kachestve fotokataliticheskogo filytra ispolyzuyut obluchaemuyu ulytrafioletovim izlucheniem poverhnosty fotokataliticheskogo reaktora, vipolnennogo v vide ploskostnogo elementa, pokritogo sloem dioksida titana.
Sushtestvuet variant, v kotorom v kachestve, po menyshey mere, dvuh katodolyuminestsentnih vakuumnih lamp s ploskim vihodnim oknom ispolyzuyut lampi s termoelektronnoy pushkoy.
Sushtestvuet takzhe variant, v kotorom v kachestve, po menyshey mere, dvuh katodolyuminestsentnih vakuumnih lamp s ploskim vihodnim oknom ispolyzuyut lampi s avtokatodami.
Sushtestvuet takzhe variant, v kotorom, po menyshey mere, dve katodolyuminestsentnie vakuumnie lampi, s ploskim vihodnim oknom raspolozheni mezhdu soboy na rasstoyanii, ravnom ih diametru D.
Sushtestvuet takzhe variant, v kotorom, po menyshey mere, dve katodolyuminestsentnie vakuumnie lampi s ploskim vihodnom oknom raspolozheni na rasstoyanii ih diametra D ot poverhnosti fotokataliticheskogo reaktora, vipolnennogo v vide ploskostnogo elementa, pokritogo sloem dioksida titana.
Sushtestvuet takzhe variant, v kotorom obluchaemaya ulytrafioletovim izlucheniem poverhnosty fotokataliticheskogo reaktora, vipolnennogo v vide ploskostnogo elementa, pokritogo sloem dioksida titana, predstavlyaet soboy riflenuyu poverhnosty.
Sushtestvuet takzhe variant, v kotorom udlinennie fragmenti riflenoy poverhnosti raspolozheni vdoly linii, soedinyayushtey vhodnoe okno i vihodnoe okno.
Sushtestvuet takzhe variant, v kotorom izluchayushtie poverhnosti ploskih okon, po menyshey mere, dvuh katodolyuminestsentnih lamp raspolozheni v ploskosti vnutrenney poverhnosti korpusa.
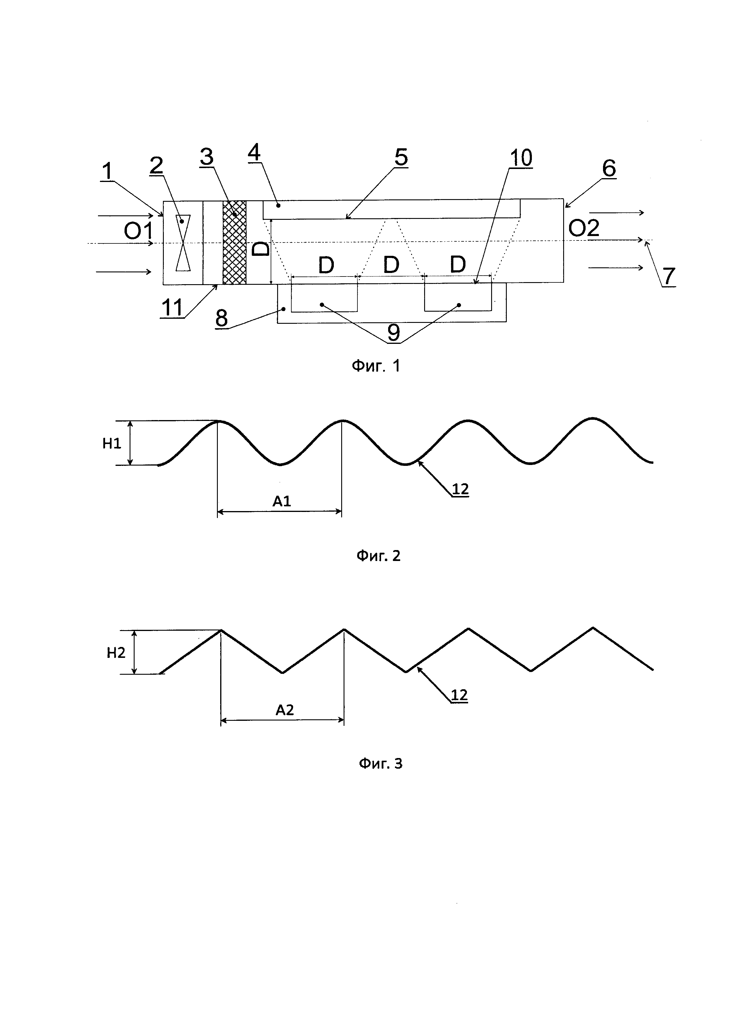
Na fig. 1 izobrazheno ustroystvo ochistki vozduha v obshtem vide.
Na fig. 2 izobrazhen variant vipolneniya riflenoy poverhnosti v vide volnoobraznogo profilya.
Na fig. 3. izobrazhen variant vipolneniya riflenoy poverhnosti v vide treugolynogo profilya.
Ustroystvo ochistki vozduha vklyuchaet vhodnoe okno 1 (fig. 1), geometricheski sopryazhennoe s ventilyatorom 2 i vhodnim filytrom 3. V kachestve ventilyatora 2 mozhno ispolyzovaty izdelie ERA PROFIT 6 VV proizvodstva OOO "YaRA".
Vhodnoy filytr 3 mozhet bity mehanicheskim, sostoyashtiy iz mnogosloynogo filytruyushtego materiala, vipolnenniy v vide ploskogo elementa. V kachestve vhodnogo filytra 3 mozhno ispolyzovaty, naprimer, gruboporistiy voloknistiy lavsan s plotnostyyu upakovki volokon menee 5%. Ustroystvo vklyuchaet takzhe fotokataliticheskiy reaktor 4 vipolnenniy v vide ploskostnogo elementa, raspolozhennogo pod uglom k ploskosti vhodnogo filytra 3. V predpochtitelynom variante etot ugol mozhet ravnyatysya 90°. Poverhnosty 5 fotokataliticheskogo reaktora 4, obrashtennaya v storonu vhodnogo filytra 3, pokrita tonkim sloem dioksida titana, tolshtinoy 10 mkm -20 mkm. V kachestve materiala fotokataliticheskogo reaktora 4 mozhno ispolyzovaty metall, steklo, poristie materiali. Naprotiv vhodnogo okna 1 vdoly pryamoy linii raspolozheno vihodnoe okno 6. V odnom iz variantov vhodnoe okno 1 i vihodnoe okno 6 osesimmetrichni i pryamaya liniya mozhet bity ih osyyu simmetrii O1-O2. Pryamaya liniya i, v chastnosti osy simmetrii O1-O2 opredelyaet napravlenie ochishtennogo potoka vozduha 7. No vozmozhni i drugie varianti vipolneniya vhodnogo okna 1 i vihodnogo okna 6, naprimer, pod uglom k osi simmetrii O1-O2. Vhodnoe okno 1 i vihodnoe okno 6 naibolee optimalyni dlya prostoti konstruktsii vipolnyayutsya po forme ventilyatora 2. Obichno eto kvadrat ili krug. Odnako mozhno ispolyzovaty lyubie drugie (naprimer, ovalynie, pryamougolynie), neobhodimie dlya uluchsheniya dizayna konstruktsii. Ventilyator 2 podklyuchen (uslovno ne pokazano) k bloku upravleniya 8. Osnovnim otlichitelynim priznakom predlozhennogo resheniya yavlyaetsya ispolyzovanie v kachestve istochnika ulytrafioletovogo izlucheniya, po menyshey mere, dvuh katodolyuminestsentnih vakuumnih lamp 9 s ploskimi vihodnimi oknami 10, vneshnyaya storona kotorih yavlyaetsya izluchayushtey poverhnostyyu. Pri etom vakuumnie lampi 9 raspolozheni takim obrazom, chto oni obluchayut ulytrafioletovim izlucheniem poverhnosty 5 fotokataliticheskogo reaktora 4. Katodolyuminestsentnie vakuumnie lampi 9 podklyucheni k bloku upravleniya 8. Perechislennie elementi mogut bity raspolozheni v korpuse 11, preimushtestvenno imeyushtem pryamougolynuyu formu. No blok upravleniya 8 mozhet bity vinesen (uslovno ne pokazano) za predeli korpusa 11. V kachestve bloka upravleniya 8 mozhno ispolyzovaty moduly, vklyuchayushtiy v sebya blok tsentralynogo protsessora, tsifrovuyu elektronnuyu sistemu upravleniya oborotami ventilyatorov i moshtnostyyu UF lamp, moduly besprovodnoy svyazi, tsifrovoy schetchik («tahometr») izdeliya, vedushtiy uchet vremeni ego raboti.
Sushtestvuet variant, v kotorom v kachestve, po menyshey mere, dvuh katodolyuminestsentnih vakuumnih lamp 9 s ploskim vihodnim oknom 10 ispolyzuyut lampi s termoelektronnoy pushkoy. V kachestve etih lamp mozhno ispolyzovaty lampi, katodolyuminestsentnie lampi termoemissionnie (KLLT) razrabotannie OOO «MYaLZ».
Sushtestvuet takzhe variant, v kotorom v kachestve, po menyshey mere, dvuh katodolyuminestsentnih vakuumnih lamp 9 s ploskim vihodnim oknom 10 ispolyzuyut lampi s avtokatodami. V kachestve etih lamp mozhno ispolyzovaty katodolyuminestsentnie lampi avtokatodnie (KLLA), razrabotannie v MFTI.
Sushtestvuet takzhe variant, v kotorom, po menyshey mere, dve katodolyuminestsentnie vakuumnie lampi 9 s ploskim vihodnim oknom 10 raspolozheni mezhdu soboy na rasstoyanii, ravnom ih diametru D.
Sushtestvuet takzhe variant, v kotorom, po menyshey mere, dve katodolyuminestsentnie vakuumnie lampi 9 s ploskim vihodnom oknom 10 raspolozheni na rasstoyanii ih diametra D ot poverhnosti 5 fotokataliticheskogo reaktora 4, pokritoy sloem dioksida titana.
Sushtestvuet takzhe variant, v kotorom obluchaemaya ulytrafioletovim izlucheniem poverhnosty 5 fotokataliticheskogo reaktora 4, pokritaya tonkim sloem dioksida titana predstavlyaet soboy riflenuyu poverhnosty 12 (fig. 2, fig. 3). Riflenaya poverhnosty 12 mozhet imety volnoobrazniy profily (fig. 2) s visotoy H1 i shagom A1, treugolyniy profily (fig. 3) s visotoy N2 i shagom A2, a takzhe inie formi profilya, naprimer, P-obrazniy, pupirchatiy. Pri etom H1 mozhet bity v diapazone 1-5 mm, N2 mozhet bity v diapazone 1-5 mm, A1 mozhet bity v diapazone 1-10 mm, A2 mozhet bity v diapazone 1-10 mm. Tehnologiya formirovaniya riflenoy poverhnosti 12 mozhet predstavlyaty soboy prokatku, litye ili mehanicheskuyu obrabotku.
Sushtestvuet takzhe variant, v kotorom udlinennie fragmenti riflenoy poverhnosti 12 raspolozheni vdoly linii, soedinyayushtey vhodnoe okno 1 i vihodnoe okno 6 i v chastnom sluchae vdoly osi O1-O2.
Sushtestvuet takzhe variant, v kotorom izluchayushtie poverhnosti ploskih okon 10, po menyshey mere, dvuh katodolyuminestsentnih lamp 9 raspolozheni v ploskosti vnutrenney poverhnosti korpusa 11.
Ustroystvo ochistki vozduha rabotaet sleduyushtim obrazom. Zagryaznenniy vozduh zasasivaetsya ventilyatorom 2 cherez vhodnoe okno 1, prohodit cherez vhodnoy filytr 3 i vzaimodeystvuet s poverhnostyyu 5 fotokataliticheskogo reaktora 4, obluchaemoy katodolyuminestsentnimi vakuumnimi lampami 9, kotorie v dannom sluchae obrazuyut dvuhstupenchatuyu sistemu dlya povisheniya effektivnosti ochistki i obezzarazhivaniya vhodyashtego vozduha. Ochishtenniy vozduh vihodit cherez vihodnoe okno 6.
To, chto v ustroystve ochistki vozduha, vklyuchayushtem vhodnoy filytr 3, istochnik ulytrafioletovogo izlucheniya, fotokataliticheskiy filytr, vhodnoe oknom 1 i vihodnoe okno 6, raspolozhennimi drug naprotiv druga, v kachestve istochnika ulytrafioletovogo izlucheniya ispolyzuyut, po menyshey mere, dve katodolyuminestsentnie vakuumnie lampi 9 s ploskim vihodnim oknom 10, vneshnyaya storona kotorogo yavlyaetsya izluchayushtey poverhnostyyu, a v kachestve fotokataliticheskogo filytra ispolyzuyut obluchaemuyu ulytrafioletovim izlucheniem poverhnosty 5 fotokataliticheskogo reaktora 4, vipolnennogo v vide ploskostnogo elementa, pokritogo sloem dioksida titana snizhaet elektropotreblenie i povishaet ekologichnosty ustroystva za schet pryamogo potoka vozduha s minimalynim soprotivleniem ego prohodu i ispolyzovaniya katodolyuminestsentnih vakuumnih lamp 9 s visokim KPD.
To, chto v kachestve, po menyshey mere, dvuh katodolyuminestsentnih vakuumnih lamp 9 s ploskim vihodnim oknom 10 ispolyzuyut lampi s termoelektronnoy pushkoy snizhaet elektropotreblenie za schet ih visokogo KPD.
To, chto v kachestve, po menyshey mere, dvuh katodolyuminestsentnih vakuumnih lamp 9 s ploskim vihodnim oknom 10 ispolyzuyut lampi s avtokatodami snizhaet elektropotreblenie za schet ih visokogo KPD.
To, chto, po menyshey mere, dve katodolyuminestsentnie vakuumnie lampi 9 s ploskim vihodnim oknom 10 raspolozheni mezhdu soboy na rasstoyanii, ravnom ih diametru D pozvolyaet optimalyno ispolyzovaty ih potoki izlucheniya takim obrazom, sozdavaya maksimalynuyu ploshtady poverhnosti, pokritoy katalizatorom, osveshtaemoy UF izlucheniem dostatochnoy intensivnosti dlya protekaniya protsessa fotokataliza.
To, chto, po menyshey mere, dve katodolyuminestsentnie vakuumnie lampi 9 s ploskim vihodnim oknom 10 raspolozheni na rasstoyanii ih diametra D ot poverhnosti 5 fotokataliticheskogo reaktora 4, vipolnennogo v vide ploskostnogo elementa, pokritogo sloem dioksida titana, privodit k povisheniyu effektivnosti ochistki i obezzarazhivaniya vhodyashtego vozduha. Pri rasstoyanii mezhdu kataliticheskoy plastinoy i lampami menyshem D rabochaya ploshtady poverhnosti kataliticheskoy plastini sokrashtaetsya v silu zakonov geometricheskoy optiki. Pri rasstoyanii mezhdu kataliticheskoy plastinoy i lampami bolyshem D rabochaya ploshtady poverhnosti kataliticheskoy plastini sokrashtaetsya iz-za umenysheniya moshtnosti potoka izlucheniya s rasstoyaniem.
To, chto obluchaemaya ulytrafioletovim izlucheniem poverhnosty 5 fotokataliticheskogo reaktora 4, vipolnennogo v vide ploskostnogo elementa, pokritogo tonkim sloem dioksida titana, predstavlyaet soboy riflenuyu poverhnosty 12 uvelichivaet ploshtady vzaimodeystviya tonkogo sloya dioksida titana s ulytrafioletovim izlucheniem katodolyuminestsentnih vakuumnih lamp 9 povishaet effektivnosty raboti ustroystva i snizhaet elektropotreblenie.
To, chto udlinennie fragmenti riflenoy poverhnosti 12 raspolozheni vdoly linii, soedinyayushtey vhodnoe okno 1 i vihodnoe okno 6, umenyshaet soprotivlenie prohoda vozduha i snizhaet elektropotreblenie.
Primenenie riflenoy poverhnosti katalizatora uvelichivaet ploshtady, na kotoroy mogut prohodity fotokataliticheskie reaktsii, a, znachit, uvelichivaetsya stepeny ochistki vozduha pri sohranenii gabaritov ustroystva.
To, chto izluchayushtie poverhnosti ploskih okon 10, po menyshey mere, dvuh katodolyuminestsentnih lamp 9 raspolozheni v ploskosti vnutrenney poverhnosti korpusa 11 umenyshaet soprotivlenie prohoda vozduha i snizhaet elektropotreblenie.

Медиафайлы

Патенты

Устройство очистки воздуха
RU2751199