АСКАО

Автоэмиссионное устройство

Разработка


ID
F146-TD50
Категория
H - электричество
Опубликован
11.04.2024 12:36

Описание

Изобретение относится к электронной технике и может быть использовано в электронно-лучевых приборах с автоэлектронной эмиссией, а именно в зондовых приборах, экранах, растровых электронных микроскопах, а также в исследовательских и аналитических установках.
Эксплуатация автоэмиссионных устройств в высоком техническом вакууме сопровождается непрерывной бомбардировкой катода ионами остаточных
gazov, a takzhe adsorbtsiey i desorbtsiey molekul ostatochnogo gaza. Bombardirovka ionami ostatochnih gazov privodit k raspileniyu materiala katoda (katodnoe raspilenie), i, kak sledstvie, k izmeneniyu geometrii katoda, uhudsheniyu ego prochnostnih i avtoemissionnih harakteristik, i v konechnom itoge k vihodu katoda iz stroya. Adsorbtsiya ostatochnih gazov i poverhnostnie yavleniya vliyayut na znachenie raboti vihoda elektronov.
Osnovnimi trebovaniyami, predayavlyaemimi k avtokatodam, v chastnosti rabotayushtim v usloviyah visokogo tehnicheskogo vakuuma, yavlyayutsya nizkie stabilynie znacheniya raboti vihoda elektronov i koeffitsientov katodnogo raspileniya, a takzhe visokie znacheniya mehanicheskoy prochnosti, elektroprovodnosti i teploprovodnosti. Prigodnimi dlya raboti v usloviyah visokogo tehnicheskogo vakuuma (10-4...10-5 Pa) yavlyayutsya avtoelektronnie katodi iz uglerodnih volokon, v chastnosti poliakrilonitrilynih.
V izvestnom istochnike [Lea S. Field emission gun from carbon fibers. // J. Phys. D: Appl.Phys., 1973, V.6, p.1105-1114] opisana konstruktsiya avtokatoda iz uglerodnih volokon s naneseniem na ego poverhnosty tonkogo sloya volyframovogo pokritiya s posleduyushtim elektrohimicheskim travleniem. Izvestno takzhe ustroystvo [Braun E., Smith J.F., Sykest D.E. Carbon fibers as field emitters // Vacuum, 1975, V. 25, 9/10, p. 425-426], soderzhashtee avtokatod, volokna kotorogo pokriti sloem medi, dlya obespecheniya mehanicheskogo krepleniya, elektricheskogo i teplovogo kontakta.
Izvestnie analogi ne obespechivayut visokoy dolgovechnosti ustroystv. Iz-za malogo razmera uglerodnih volokon (diametr 5...10 mkm) tehnologicheski krayne slozhno obespechity nadezhniy montazh kazhdogo volokna, poetomu pri ekspluatatsii, v osobennosti v apparature, podverzhennoy vibratsionnim nagruzkam, ocheny visoka veroyatnosty vihoda iz stroya vsledstvie mehanicheskogo razrusheniya katoda. Odnako dazhe pri obespechenii priemlemoy mehanicheskoy prochnosti individualyniy montazh kazhdogo volokna sushtestvenno povishaet razlichie emissionnih harakteristik otdelynih volokon, chto snizhaet stabilynosty avtoemissionnih parametrov, v chastnosti uvelichivaet nestabilynosty emissionnogo toka.
Naibolee blizkim po tehnicheskoy sushtnosti tehnicheskim resheniem, prinyatim za prototip, yavlyaetsya avtoemissionnoe ustroystvo, avtokatod kotorogo vipolnen iz uglerodnih volokon, sobrannih v puchok i pomeshtennih v nikelevuyu trubku [Bondarenko B.V., Ribakov .L., Sheshin E.P. Avtoelektronnaya emissiya uglerodnogo volokna // Radiotehnika i elektronika, 1982, t. 27, 8, 1593-1597].
Nedostatkom dannoy konstruktsii yavlyaetsya nevozmozhnosty obespecheniya tochnoy orientatsii puchka volokon, yavlyayushtegosya emitterom, otnositelyno modulyatora. Yato privodit v pervuyu ocheredy k izmeneniyu raspredeleniya elektricheskogo polya v oblasti katoda, chto v svoyu ocheredy uvelichivaet rabochie napryazheniya, uhudshaet modulyatsionnie svoystva i ne pozvolyaet poluchaty avtoemissionnie ustroystva s povtoryaemimi harakteristikami. Obzhim puchka volokon v nikelevoy trubke privodit k deformatsii volokon, chto snizhaet ih prochnostnie harakteristiki, i mozhet, v chastnosti, yavitysya prichinoy korotkogo zamikaniya mezhdu katodom i modulyatorom pri obrive volokna. Izmenenie orientatsii katoda otnositelyno modulyatora privodit takzhe k izmeneniyu geometrii vihodnogo elektronnogo puchka, chto v ryade sluchaev sushtestvenno zatrudnyaet rabotu elektronnoy optiki, i v chastnosti v elektronno-luchevih trubkah i rastrovih elektronnih mikroskopah mozhet privodity k snizheniyu razresheniya. Nizkaya mehanicheskaya prochnosty krepleniya volokon v nikelevoy trubke ne pozvolyaet primenyaty avtoemissionnoe ustroystvo v priborah, podverzhennih vibratsionnim nagruzkam.
Tselyyu predlagaemogo izobreteniya yavlyaetsya uluchshenie avtoemissionnih harakteristik, v chastnosti povishenie sroka sluzhbi i obespechenie vibroustoychivosti, za schet obespecheniya tochnoy orientatsii puchka volokon otnositelyno modulyatora i ustraneniya mehanicheskih nagruzok na volokna.
Postavlennaya tsely dostigaetsya tem, chto v predlozhennom avtoemissionnom ustroystve, soderzhashtem razmeshtennie v vakuumnoy kolbe anod, avtokatod, vipolnenniy iz puchka uglerodnih volokon, modulyator, po krayney mere s odnim otverstiem, i kontaktnie vivodi, puchok volokon avtokatoda zaklyuchen v obolochku iz dielektrika, razmeshten v otverstiyah yustirovochnih diskov, orientirovannih soosno otverstiyu modulyatora posredstvom shtabikov iz dielektricheskogo materiala, zhestko zakreplennih v pazah diskov i modulyatora, s kotorim soedineni zhestkie kontaktnie vivodi, pri etom kontaktniy uzel avtokatoda vipolnen iz elektroprovodnogo veshtestva, nanesennogo na svobodniy ot obolochki konets volokon, i kontaktiruyushtey s nim po bokovoy poverhnosti obechayki, s kotoroy zhestko soedinen kontaktniy vivod avtokatoda.
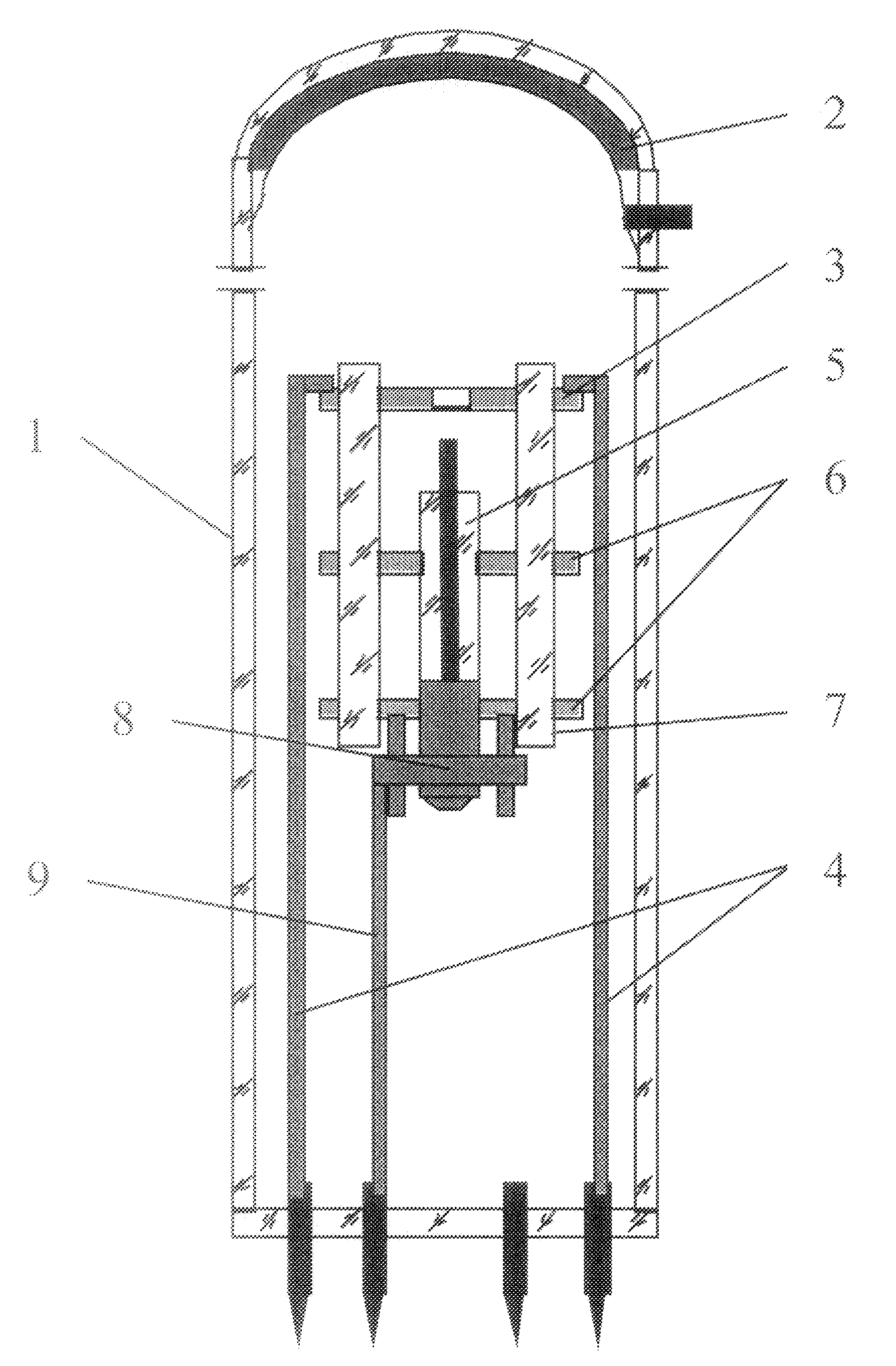
Predlozhennaya konstruktsiya poyasnyaetsya chertezhom.
Soglasno chertezhu avtoemissionnoe ustroystvo soderzhit vakuumnuyu kolbu 1, anod 2, modulyator 3, kontaktnie vivodi 4, avtokatod 5, vipolnenniy iz puchka uglerodnih volokon, zaklyuchennih po dline v dielektricheskuyu obolochku, preimushtestvenno iz stekla. Avtokatod razmeshten v otverstiyah yustirovochnih diskov 6, imeyushtih pazi po perimetru, v kotorih zhestko ustanovleni shtabiki 7, vipolnennie preimushtestvenno iz stekla, i orientiruyushtie diski takim obrazom, chtobi tsentri ih otverstiy bili soosni s otverstiem modulyatora, chto obespechivaetsya v protsesse sborki katodno-modulyatornogo uzla. Kontaktniy uzel 8 avtokatoda vipolnen iz elektroprovodnogo veshtestva, v chastnosti akvadaga, nanesennogo na svobodniy ot obolochki puchok volokon i kontaktiruyushtey s nim po bokovoy poverhnosti obechayki, s kotoroy zhestko soedinen kontaktniy vivod 9 avtokatoda.
Realizatsiya konstruktsii predlozhennogo avtoemissionnogo ustroystva osushtestvlyaetsya sleduyushtim obrazom. Puchok uglerodnih volokon pokrivayut obolochkoy iz dielektrika, v chastnosti iz stekla, pri etom operatsiya "osteklovki" pozvolyaet izgotavlivaty katodi s puchkom volokon, orientirovannim vdoly osi i raspolozhennim strogo po tsentru katoda pri otsutstvii mehanicheskih nagruzok na volokna. Osteklovannie i narezannie na trebuemuyu dlinu zagotovki osvobozhdayut ot steklyannoy obolochki s oboih kontsov i na odin konets nanosyat elektroprovodnoe veshtestvo, v chastnosti akvadag, dlya uvelicheniya ploshtadi kontaktiruyushtey poverhnosti, posle chego obzhimayut obechaykoy dlya polucheniya nadezhnogo elektricheskogo kontakta s katodom s posleduyushtey privarkoy k obechayke kontaktnogo vivoda.
Dlya obespecheniya tochnosti tsentrovki katoda i ustanovki rasstoyaniya ot modulyatora do katoda sluzhat yustirovochnie diski, kotorie zhestko svyazani s modulyatorom, takim obrazom, chto tsentri ih otverstiy soosni mezhdu soboy i s otverstiem modulyatora posredstvom shtabikov, izgotovlennih iz stekla i odnovremenno prisoedinennih k pazam yustirovochnih diskov i modulyatora s obrazovaniem mehanicheskogo soedineniya. Avtokatod pomeshtayut v otverstiya yustirovochnih diskov, zhestko krepyat k nizhnemu disku, zatem sobranniy takim obrazom katodno-modulyatorniy uzel posredstvom vivodov modulyatora ustanavlivayut na montazhnom tsokole, podsoedinyayut kontaktnie vivodi avtokatoda s posleduyushtey germetizatsiey i vakuumirovaniem kolbi. Podgotovlennoe takim obrazom avtoemissionnoe ustroystvo gotovo k rabote. Rabotaet avtoemissionnoe ustroystvo izvestnim obrazom.
Preimushtestva zayavlyaemogo avtoemissionnogo ustroystva, kak pokazali ispitaniya, sostoyat v tom, chto osteklovivanie puchka uglerodnih volokon pozvolilo povisity vibratsionnuyu stoykosty katoda, a povishenie tochnosti yustirovki katoda otnositelyno modulyatora privelo k uvelicheniyu stabilynosti emissionnogo toka, povtoryaemosti avtoemissionnih harakteristik i dolgovechnosti avtoemissionnogo ustroystva.

Медиафайлы

Патенты

АВТОЭМИССИОННОЕ УСТРОЙСТВО
RU2180145