АСКАО

Автоэмиссионная электронная пушка

Разработка


ID
B3T7-N08B
Категория
H - электричество
Опубликован
11.04.2024 13:38

Описание

Полезная модель относится к электронной СВЧ технике, а именно к электронным приборам с кольцевым электронным пучком, таким как гиротроны, клистроны, ЛБВ, и более конкретно к приборам, в которых необходима низковольтная модуляция тока электронного пучка.

В высокопервеансных электронно-оптических системах приборов СВЧ с одним пролетным каналом часто применяется полый электронный пучок
, formiruemiy elektronnoy pushkoy magnetronno-inzhektornogo tipa. Magnetronno-inzhektornaya pushka soderzhit sleduyushtie osnovnie elektrodi: anod v vide urezannogo konusa, konusniy ili tsilindricheskiy katod raspolozhenniy soosno vnutri anoda, peredniy i zadniy prikatodniy fokusiruyushtiy elektrodi vliyayushtie pa formu puchka. Primenenie pushek takogo tipa dlya formirovaniya trubchatih elektronnih puchkov v vakuumnih SVCh priborah santimetrovogo diapazona dlin noli s lineynimi traektoriyami elektronov horosho izvestno [1]. V poslednee vremya rassmatrivaetsya vozmozhnosty primeneniya trubchatih puchkov dlya perspektivnih priborov millimetrovogo diapazona [2]. Takzhe oni nahodyat primenenie v girotronah, dlya formirovaniya kolytsevih elektronnih potokov so spiralynimi traektoriyami elektronov, t.n. vintovie elektronnie puchki [3].

Traditsionno v magnetronno-inzhektornih elektronnih pushkah ispolyzuyutsya katodi na osnove termoelektronnoy emissii, chto isklyuchaet mgnovennoe vklyucheniya priborov i ogranichivaet srok sluzhbi priborov. Alyternativoy etomu podhodu yavlyayutsya pushki s avtoemissionnimi katodami. V nastoyashtee vremya naibolee horosho issledovani elektronnie pushki s katodom Spindta [4] na osnove kotorih razrabotana LBV s vihodnoy moshtnostyyu 100 Vt v diapazone chastot 5 GGts [5]. Shirokoe primenenie pushek s takimi katodami ogranichivaetsya neobhodimostyyu podderzhaniya visokogo vakuuma v pribore, neobhodimostyyu zashtiti ot ionnogo toka, slozhnostyyu tehnologii. Esty primeri ispolyzovaniya avtoemissionnih katodov v magnetronah [6].

Magnetronno-inzhektornaya pushka po sravneniyu s traditsionnimi pushkami Pirsa obespechivaet bolyshuyu shodimosty elektronnih puchkov, poetomu pri odinakovih tehnologiyah izgotovleniya avtokatodov ona obespechivaet povishenniy tok lucha po sravneniyu s pushkoy s ploskim katodom. V poslednee vremya v avtoemissionnoy elektronike v kachestve emitterov rasshiryaetsya ispolyzovanie uglerodnih materialov na osnove nanostruktur [7] i folygi [8]. Na osnove uglerodnih panotrubok razrabotana konstruktsiya magnetronno-inzhektornoy elektronnoy pushki [9], [10], kotoruyu mozhno schitaty prototipom predlagaemoy konstruktsii. Nedostatkom prototipa, kak i konstruktsiy s termoelektronnimi katodami, yavlyaetsya nevozmozhnosty nizkovolytnoy modulyatsii toka puchka. Dlya modulyatsii toka puchka v magnetronno-inzhektornih pushkah ispolyzuetsya moduliruyushtiy anod s visokim potentsialom, chasto do polovini napryazheniya anoda [11], chto uslozhnyaet i udorozhaet sistemu pitaniya i upravleniya pribora.

Predlagaemaya konstruktsiya pozvolyaet ispolyzovaty nizkovolytnuyu modulyatsiyu toka puchka putem podachi napryazheniya na upravlyayushtiy elektrod (modulyator) i povisity dolgovechnosty avtoemissionnih pushek magnetronno-inzhektornogo tipa.

Anod, katod i prikatodnie elektrodi v predlagaemoy konstruktsii elektronnoy pushki imeyut tsilindricheskuyu formu, kak v klassicheskoy konstruktsii magnetronno-inzhektornoy pushki. Ih vzaimnoe raspolozhenie takzhe ostaetsya neizmennim. Zamena tsilindricheskih elektrodov na elektrodi v forme mnogougolynoy prizmi, naprimer [6], sushtestvenno uslozhnyayut konstruktsiyu i poetomu v predlagaemoy modeli ne rassmatrivayutsya.

Osnovnoe otlichie predlagaemoy modeli ot prototipa sostoit v vvedenii nizkovolytnogo moduliruyushtego elektroda. Chashte vsego v elektronnih pushkah upravlyayushtiy elektrod v vide setki s otverstiyami krugloy ili pryamougolynoy formi raspolozhen nad poverhnostyyu katoda (avtoemissionnogo ili termoemissionnogo). Pri raspolozhenii upravlyayushtego elektroda nad poverhnostyyu katoda v magnetronno-inzhektornoy pushke budet znachitelyniy perehvat toka katoda setkoy, chto privodit k snizheniyu nadezhnosti uzla.

Nizkovolytnaya modulyatsiya elektronnogo puchka v magnetronno-inzhektornoy pushke mozhet bity dostignuta primeneniem katoda tak nazivaemoy lateralynoy konstruktsii. V sisteme s lateralynim katodom emitiruyushtaya poverhnosty perpendikulyarna ploskosti upravlyayushtego elektroda (modulyatora) i anoda [12]. Preimushtestvami takoy sistemi yavlyayutsya uvelichenie otnositelyno katodov Spindta ploshtadi emitiruyushtey poverhnosti i zashtita emitiruyushtey poverhnosti ot vozdeystviya ionov ostatochnih gazov. Rabotosposobnosty lateralynoy konstruktsii dokazana ee primeneniem v ustroystvah otobrazheniya informatsii [13].

Takzhe pri ispolyzovanii lateralynogo katoda stanovitsya vozmozhnim primenenie tak nazivaemoy konstruktsii s obratnim raspolozheniem modulyatora [14]. Takaya konstruktsiya stala vozmozhnoy posle poyavleniya materialov, ne trebuyushtih visokogo napryazheniya dlya vozniknoveniya avtoemissii [15]. V etom sluchae upravlyayushtiy elektrod (modulyator) raspolagaetsya nizhe ploskosti katoda, t.e. katod raspolozhen mezhdu anodom i upravlyayushtim elektrodom. Podacha napryazheniya pa upravlyayushtiy elektrod umenyshaet pole vblizi katoda i narushaet usloviya emissii. Izmeneniem rasstoyaniya mezhdu katodom i upravlyayushtim elektrodom mozhno regulirovaty moduliruyushtee napryazhenie. Konstruktsiya s lateralynim katodom bila ispolyzovana dlya avtoemissionnih katodolyuminestsentnih lamp [16] ploskoy konstruktsii.

Vibor termorasshirennogo grafita v kachestve emitiruyushtego materiala svyazan s ego emissionnimi svoystvami naibolee podhodyashtimi dlya katoda lateralynoy konstruktsii. Folyga iz termorasshirennogo grafita obladaet kristallitnoy strukturoy. Vsledstvie tehnologicheskih osobennostey proizvodstva, kristalliti obladayut visokoy stepenyyu uporyadochennosti, i poetomu folyga obladaet yarko virazhennoy anizotropiey fizicheskih svoystv v ploskosti folygi i perpendikulyarno ee poverhnosti. Proishodit preimushtestvennaya orientatsiya bazisnoy ploskosti kristallicheskoy strukturi grafita parallelyno ploskosti prokatki. Yato obespechivaet formirovanie pa sreze folygi lezviynoy strukturi, obespechivayushtey usilenie elektricheskogo polya na mikronerovnostyah poverhnosti.

Primenenie v magnetronno-inzhektornoy pushke katoda v vide lezviya iz folygi povishaet dolgovechnosty uzla. Odnim iz faktorov, vliyayushtim na degradatsiyu avtokatodov, yavlyaetsya ih razogrev Dzhoulevim teplom. Uchet etogo faktora vazhen kak pri razrabotke katodov s bolyshimi tokami emissii, tak i pri ispolyzovanii nanorazmernih emitterov. Ploshtady kontakta emittera s podlozhkoy sostavlyaet desyatki nanometrov, chto sozdaet dostatochno visokoe elektricheskoe soprotivlenie vsey sistemi. V usloviyah vakuuma otvod tepla proishodit tolyko cherez podlozhku, i razogrev otdelynih emissionnih tsentrov mozhet bity znachitelynim [17]. Dlya nanotrubok temperatura v etom sluchae mozhet previshaty 1500°S, chto privodit k intensivnomu ispareniyu materiala i razrushenii emissionnih tsentrov. Lezviyniy avtokatod iz uglerodnoy folygi imeet menyshee elektricheskoe soprotivlenie i, sledovatelyno, menyshe podverzhen vliyaniyu Dzhouleva tepla.

Vozmozhnosty nizkovolytnoy modulyatsii elektronnogo puchka v predlozhennoy konstruktsii dostigaetsya primeneniem katoda lateralynoy konstruktsii iz termorasshirennogo grafita i obratnogo raspolozheniya upravlyayushtego elektroda.

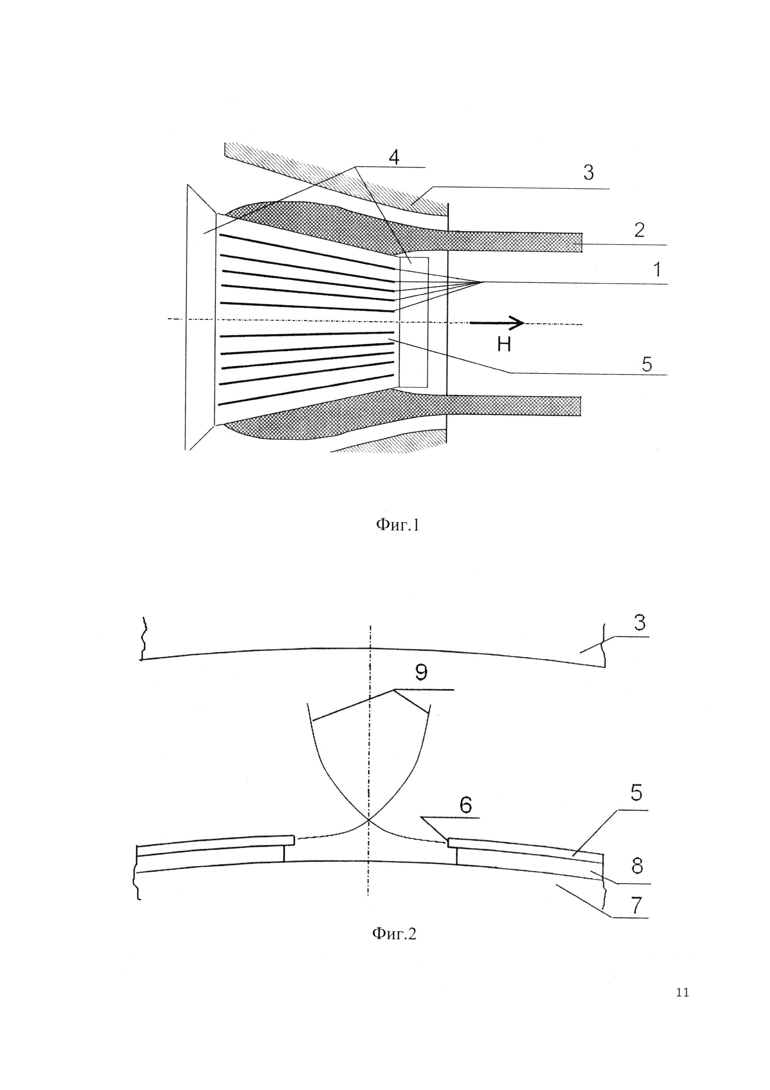
Ustroystvo i printsip deystviya konstruktsii poyasnyaetsya risunkami. Shema predlozhennoy elektronnoy pushki privedena pa fig.1, gde prinyati sleduyushtie oboznacheniya: 1 - avtoemissionnie katodi lateralynoy konstruktsii, 2 - prodolynoe sechenie kolytsevogo elektronnoyu puchka, 3 - anod, 4 - prikatodnie fokusiruyushtie elektrodi. 5 - folyga iz termorasshirennogo grafita. Strelkoy ukazano napravlenie vneshnego magnitnogo polya N. Poperechniy razrez otdelynogo lateralynogo katoda shematichno izobrazhen na fig.2, gde dopolnitelyno pokazani: 6 -emitiruyushtaya poverhnosty, 7 - upravlyayushtiy elektrod, 8 - dielektricheskaya prokladka, 9 - traektorii elektronov. Magnitnoe pole na fig.2 napravleno perpendikulyarno ploskosti risunka.

Kak vidno iz fig.2 kazhdiy lateralyniy katod soderzhit dve simmetrichno raspolozhennih emitiruyushtih poverhnosti 6. Traektorii 9 pokazani dlya elektronov, viletevshih s tsentralynoy chasti emitiruyushtey poverhnosti 6. Viborom velichini magnitnogo i elektricheskogo polya mozhno poluchity obshtiy elektronniy puchok ot emitiruyushtih poverhnostey 6 lateralynogo katoda.

Vozmozhni razlichnie sposobi sozdaniya trebuemogo zazora mezhdu katodom i upravlyayushtim elektrodom. V predlagaemoy konstruktsii ispolyzuetsya dielektricheskaya prokladka 8, chto pozvolyaet ispolyzovaty otrabotannie tehnologii osazhdeniya tonkih plenok, obespechivaya visokuyu tochnosty zazora upravlyayushtiy elektrod - katod. Sozdanie lateralynih katodov zaklyuchaetsya v sozdanii prodolynih pazov, dohodyashtih do urovnya upravlyayushtego elektroda. Pri etom razrezanie folygi 5 (t.e. formirovanie emitiruyushtey poverhnosti 6) i udalenie izlishnih uchastkov dielektricheskoy prokladki nad upravlyayushtim elektrodom 7 provoditsya odnovremenno, vozdeystviem lazernogo izlucheniya. Kak pokazivayut eksperimenti, mehanicheskaya obrabotka kraya folygi ne obespechivaet dostatochnoy effektivnosti avtokatodov i povtoryaemosti svoystv. Lazernaya obrabotka sozdaet na poverhnosti avtokatoda mikronerovnosti s harakternim razmerom 20-60 nm, ravnomerno raspredelennim na poverhnosti katoda [18]. Yati mikronerovnosti imeyut porogovuyu napryazhennosty elektricheskogo polya okolo 5 V/mkm. chto snizhaet trebovaniya k istochnikam pitaniya i povishayut effektivnosty raboti emittera, ispolyzovannogo v predlozhennoy konstruktsii.

Vo vremya raboti predlozhennoy konstruktsii elektroni, viletevshie s emitiruyushtey poverhnosti 6 lateralynih katodov 1, pod vliyaniem elektricheskogo polya anoda 3 otklonyayutsya v storonu anoda 3, odnovremenno, pri vzaimodeystvii elektronov s vneshnim magnitnim polem N voznikaet sila Lorentsa, otklonyayushtaya elektroni k vihodu elektronnoy pushki i ne pozvolyayushtaya im dostignuty poverhnosti anoda, kak pokazano na fig.1 i fig.2. Takim obrazom, elektronnie puchki ot otdelynih lateralynih katodov 1 formiruyut na vihode elektronnoy pushki kolytsevoy elektronniy puchok 2.

Odnorodnosty puchka 2 uluchshaetsya pri uvelichenii chisla otdelynih lateralynih katodov 1, pri etom summarniy tok puchka vozrastaet. V elektronnih priborah SVCh pri povishenii odnorodnosti raspredeleniya elektronov v puchke snizhaetsya uroveny shumov na vihode pribore. Minimalyno dopustimiy shag lateralynih katodov v predlozhennoy konstruktsii ne rassmatrivalsya, t.k. on silyno zavisit ot tehnologii izgotovleniya folygi, tehnologii naneseniya dielektricheskoy prokladki i fokusirovki lucha lazera. V sluchae ispolyzovaniya tehnologiy, primenyaemih v mikroelektronnom proizvodstve, vozmozhno sozdanie maloshumyashtih priborov. Tehnologii, primenyaemie v nastoyashtee vremya [18], pozvolyayut ispolyzovaty predlagaemuyu konstruktsiyu v istochnikah osveshteniya i istochnikah izlucheniya dlya tseley SVCh obrabotka materialov.

Predlagaemaya konstruktsiya elektronnoy pushki pozvolyaet razrabativaty pribori s kolytsevim puchkom i nizkovolytnoy modulyatsiey toka puchka putem podachi napryazheniya na upravlyayushtiy elektrod. Konstruktsiya tehnologichna, desheva v izgotovlenii i prosta v ekspluatatsii.

Медиафайлы

Патенты

НАБОР СТРАНИЦ ГРАФИЧЕСКОГО ИНТЕРФЕЙСА СИСТЕМЫ УПРАВЛЕНИЯ ВЗАИМООТНОШЕНИЯМИ С КЛИЕНТАМИ
RU134356