АСКАО

Плоское автоэлектронное устройство для воспроизведения изображения

Разработка


ID
47U8-EHDV
Категория
H - электричество
Опубликован
11.04.2024 13:10

Описание

Изобретение относится к электронной технике, а конкретнее к плоским автоэлектронным устройствам для воспроизведения изображения. Оно может быть использовано при разработке плоских дисплеев с увеличенным полем изображения для персональных компьютеров, экранов большой площади для проекционных телевизоров, информационных и рекламных табло и пр. , когда необходимо иметь хорошую светоотдачу и однородно
e ee raspredelenie po polyu izobrazheniya, visokoe razreshenie i stabilynosty harakteristik v kazhdoy tochke izobrazheniya (kazhdom piksele), povishennie nadezhnosty i srok sluzhbi v sochetanii s prostotoy konstruktsii i tehnologii izgotovleniya, dopuskayushtih vozmozhnosty uvelicheniya polya izobrazheniya.
Tendentsiey razvitiya etoy oblasti elektronnoy tehniki yavlyaetsya poisk fizicheskih i konstruktivnih printsipov, kotorie pozvolili bi poluchity ekonomichnie ustroystva dlya vosproizvedeniya izobrazheniya s harakteristikami, po krayney mere sootvetstvuyushtimi elektronnoluchevim trubkam po svetootdache, kachestvu izobrazhennaya (razresheniyu) i razmeru polya zreniya, no vmeste s tem imeyushtie sushtestvenno menyshie obaem i ves, a takzhe povishennie nadezhnosty i srok sluzhbi, bolyshuyu ekonomichnosty upravleniya. Opredelennie perspektivi pri etom svyazivayut s avtoelektronnimi ustroystvami dlya vosproizvedeniya izobrazheniya, kotorie v naibolyshey stepeni otvechayut etim trebovaniyam po sravneniyu s zhidkokristallicheskimi, gazorazryadnimi ili vakuumnimi lyuminestsentnimi ustroystvami [1] .
Blagopriyatnim obstoyatelystvom po ispolyzovaniyu avtoelektronnih ustroystv yavlyaetsya znachitelyniy konstruktivniy i tehnologicheskiy opit, nakoplenniy pri razrabotke holodnih (beznakalynih) katodov, rabotayushtih pri prilozhenii k nim elektricheskogo polya visokoy napryazhennosti i ispuskayushtih elektroni vsledstvie effekta avtoelektronnoy emissii. Odnako neposredstvenniy perenos etogo opita ne mozhet bity proizveden avtomaticheski bez ucheta osobih trebovaniy, predayavlyaemih k ustroystvam dlya vosproizvedeniya izobrazheniya.
V pervuyu ocheredy eto otnositsya k mnogoostriynim avtoelektronnim katodam, izgotavlivaemim, kak pravilo, po tehnologii Spindta [1] , kotorie bili prednaznacheni dlya raboti v sverhvisokom vakuume (10-7-10-8 Pa). Popitki ispolyzovaty ih v tehnicheskom vakuume (10-4-10-5 Pa), kotoriy ustanavlivaetsya v vakuumnih priborah v protsesse ih ekspluatatsii bez sredstv otkachki, privodyat k znachitelynomu izmeneniyu (na neskolyko poryadkov) emissionnogo toka, a takzhe k ego nestabilynosti (dostigayushtey poryadka velichini). Sootvetstvenno nestabilynimi budut i osnovnie harakteristiki (takie, kak raspredelenie svetootdachi po polyu izobrazheniya, svetootdacha ili yarkosty razlichnih ego tochek) ustroystv dlya vosproizvedeniya izobrazheniya s takimi avtoelektronnimi katodami, a srok ih sluzhbi budet sushtestvenno ogranichen. Osnovnoy prichinoy nestabilynosti emissii elektronov mnogoostriynimi avtoelektronnimi katodami yavlyaetsya izmenenie formi emittiruyushtey poverhnosti emitterov (izmenenie ih radiusa krivizni) vsledstvie ionnoy bombardirovki ostatochnimi gazami v tehnicheskom vakuume i katodnogo raspileniya iz-za znachitelynogo tokootbora s odinochnih emitterov. Poetomu, a takzhe iz-za chrezmernoy slozhnosti tehnologii aktivizirovalsya poisk inih avtoelektronnih katodnih struktur, bolee priemlemih dlya ustroystv dlya vosproizvedeniya izobrazheniya.
Zametnoe vnimanie pri etom udelyayut plenochnim avtoelektronnim katodam iz-za bolyshey prostoti tehnologii ih izgotovleniya blagodarya razvitiyu fotolitograficheskih metodov. Vmeste s tem oni trebuyut, v obshtem, ispolyzovaniya bolee visokogo napryazheniya po sravneniyu s mnogoostriynimi katodami. Dlya umenysheniya ego chasto primenyayut upravlyayushtie elektrodi, raspolagaya ih v neposredstvennoy blizosti ot katoda i umenyshaya tem samim rasstoyanie katod - upravlyayushtiy elektrod. Odnako v protsesse ekspluatatsii ustroystva v usloviyah tehnicheskogo vakuuma nadezhnosty i stabilynosty harakteristik ustroystva uhudshayutsya, poskolyku iz-za raspileniya provodyashtego materiala katoda proishodit izmenenie mezhelektrodnih parametrov, osobenno sushtestvennoe vblizi katoda. Krome togo, pri umenyshenii rasstoyaniya katod - upravlyayushtiy elektrod uhudshaetsya razreshenie ustroystva iz-za usileniya vliyaniya kraevih elektricheskih poley u kraev otverstiy v upravlyayushtih elektrodah na rashodimosty potoka elektronov, emittirovannih katodom.
Takim obrazom, aktualynoy yavlyaetsya zadacha razrabotki takoy strukturi katoda s avtoelektronnimi emitterami i sootvetstvuyushtey konstruktsii ustroystva dlya vosproizvedeniya izobrazheniya, kotorie pozvolili bi preodolety ukazannie nedostatki i obespechity dlya takih ustroystv visokoe razreshenie i stabilynosty harakteristik v kazhdoy tochke izobrazheniya pri rabote v usloviyah tehnicheskogo vakuuma (10-4-10-5 Pa), a takzhe odnorodnosty raspredeleniya svetootdachi po polyu izobrazheniya, povishennie nadezhnosty i srok sluzhbi.
Izvestno ploskoe avtoelektronnoe ustroystvo dlya vosproizvedeniya izobrazheniya, soderzhashtee germetichniy korpus s izoliruyushtey opticheski prozrachnoy peredney panelyyu, na vnutrenney poverhnosti kotoroy razmeshteni po menyshey mere odna anodnaya shina s lyuminestsentnim sloem po menyshey mere na chasti ee poverhnosti, po menyshey mere odin avtoelektronniy emitter (katod), raspolozhenniy v izoliruyushtem sloe na dielektricheskoy podlozhke, sluzhashtey zadney panelyyu korpusa, speyser dlya fiksatsii rasstoyaniya mezhdu izoliruyushtim sloem i anodnimi shinami i po menyshey mere odnu shinu pitaniya emitterov, razmeshtennuyu na zadney paneli [1] . Pri etom tonkoplenochnie polosi shin pitaniya emitterov (katodnih shin) vityanuti v napravlenii osi X, a polosi anodnih shin - v napravlenii osi Y, t. e. yavlyayutsya skreshtivayushtimisya drug s drugom pod pryamim uglom. Dlya initsiirovaniya emissii elektronov dostatochno prilozhity napryazhenie mezhdu sootvetstvuyushtimi drug drugu katodnoy i anodnoy shinami.
Osobennostyyu etogo ustroystva yavlyaetsya sleduyushtee. Tonkoplenochnie almaznie katodi, izgotovlyaemie po predlagaemoy v [1] tehnologii, raspolozheni v otverstiyah izoliruyushtego sloya (imeyushtih diametr 50-100 mkm), chto po mneniyu avtorov tehnologii pozvolyaet znachitelyno uvelichity srok sluzhbi takih avtoelektronnih emitterov. A tak kak rabota vihoda u nih znachitelyno menyshe, chem u tipichnogo metallicheskogo ostriynogo katoda, eto daet vozmozhnosty formirovaty silynoe elektricheskoe pole neposredstvenno anodom bez ispolyzovaniya upravlyayushtih elektrodov. Pomimo uproshteniya konstruktsii, eto ne trebuet i primeneniya tehnologii vipolneniya v takih elektrodah malih otverstiy, chto v svoyu ocheredy pozvolyaet znachitelyno uprostity protsess izgotovleniya po sravneniyu s tehnologiey Spindta. Odnako vse eti preimushtestva dostigayutsya tolyko pri dostatochno visokom vakuume (10-6-10-7 Pa), kogda vliyaniem ionnoy bombardirovki na takie tonkoplenochnie emitteri eshte mozhno prenebrechy. Krome togo, ispolyzovanie v kachestve anodnih shin tonkih (chtobi obespechity ih prozrachnosty opticheskomu izlucheniyu, ispushtennomu lyuminestsentnim sloem) i uzkih (chtobi poluchity trebuemoe razreshenie) provodyashtih polos mozhet pri uvelichenii polya izobrazheniya privesti k snizheniyu yarkosti tochek na ego krayu ili v tsentre i sootvetstvenno k uhudsheniyu odnorodnosti svetootdachi po polyu izobrazheniya iz-za rosta elektricheskogo soprotivleniya etih polos.
Izvestno takzhe ploskoe ustroystvo dlya vosproizvedeniya izobrazheniya [2] , soderzhashtee germetichniy korpus s izoliruyushtey opticheski prozrachnoy peredney panelyyu i parallelynoy ey zadney panelyyu, po menyshey mere odin elektrod, sluzhashtiy anodom, razmeshtenniy na vnutrenney poverhnosti peredney paneli i po menyshey mere chastichno pokritiy lyuminestsentnim sloem, po menyshey mere odin elektrod, sluzhashtiy katodom i obrazovanniy avtoelektronnim emitterom, razmeshtennim na poverhnosti tokoprovodyashtego sloya katoda na zadney paneli korpusa naprotiv lyuminestsentnogo sloya, dve gruppi skreshtivayushtihsya plenochnih upravlyayushtih elektrodov, razdelennih dielektrikom, speyseri dlya fiksatsii rasstoyaniya mezhdu peredney i zadney panelyami, pri etom vo vseh elementah na zadney paneli nad avtoelektronnim emitterom vipolneno po odnomu otverstiyu, kotorie sootvetstvenno soosni drug s drugom.
Osobennostyyu etogo ustroystva yavlyaetsya ispolyzovanie v kachestve avtoelektronnogo emittera plenochnogo pokritiya, raspolozhennogo pa chasti poverhnosti elektroda, sluzhashtego katodom, a takzhe vipolnenie otverstiy v dielektrike, razdelyayushtem upravlyayushtie elektrodi, i v dielektrike, otdelyayushtem eti upravlyayushtie elektrodi ot katoda bolyshimi po razmeru, chem otverstiya v samih upravlyayushtih elektrodah. V nekotorih variantah avtoelektronniy emitter v vide plenochnogo pokritiya vipolnen iz materiala, obladayushtego otritsatelynim srodstvom k elektronu, i predstavlyaet soboy, naprimer, almazopodobnuyu plenku ugleroda. Ili na poverhnosti etogo plenochnogo pokritiya vipolneni ostriya i/ili mikrovistupi, vershini kotorih raspolozheni na urovne, ne menyshem ili ravnom 0.9 rasstoyaniya ot elektroda, sluzhashtego katodom, do blizhayshego k nemu upravlyayushtego elektroda.
Vsledstvie nebolyshogo rasstoyaniya mezhdu anodom i katodom, a takzhe otritsatelynogo srodstva k elektronu materiala emittera, umenyshaetsya napryazhenie, pri kotorom voznikaet emissiya elektronov, i povishaetsya ekonomichnosty upravleniya.
Vmeste s tem takoe ustroystvo ne mozhet bity ispolyzovano dlitelynoe vremya v usloviyah tehnicheskogo vakuuma vvidu ionnoy bombardirovki emittera ostatochnimi gazami i intensivnogo raspileniya ego materiala. Vo-pervih, po prichine ogranichennosti resursa emittera (vipolnennogo v vide tonkoy plenki). Vo-vtorih, po prichine zagryazneniya poverhnosti vnutrennih elementov ustroystva raspilennim materialom emittera. Tak, pokritie im upravlyayushtih elektrodov i dielektrika mezhdu nimi snizhaet nadezhnosty ustroystva i stabilynosty ego harakteristik i mozhet dazhe privesti k ego nerabotosposobnosti, esli material emittera obladaet dostatochno visokoy provodimostyyu.
Vvidu etogo nalichie promezhutochnih elementov mezhdu anodom i katodom, osobenno v neposredstvennoy blizosti k poslednemu, yavlyaetsya nezhelatelynim. Takie elementi budut pomehoy i v tom sluchae, kogda nado uvelichity razreshenie ustroystva za schet umenysheniya rasstoyaniya anod-katod. Delo ne tolyko v chisto konstruktivnom ogranichenii, no i v tom, chto pri chrezmernom priblizhenii katoda k upravlyayushtemu elektrodu na traektoriyu poleta elektronov budut okazivaty sushtestvennoe vliyanie kraevie effekti na krayah otverstiy v etom elektrode, uhudshayushtie razreshenie.
Krome togo, nalichie takih promezhutochnih elementov ogranichivaet i tehnologicheskie vozmozhnosti po izgotovleniyu ustroystva, poskolyku trebuyut podbora plenochnih materialov s neobhodimimi mehanicheskimi napryazheniyami i visokoy adgeziey, ne govorya uzhe o problemah vipolneniya v upravlyayushtih elektrodah malih otverstiy (o chem uzhe govorilosy vishe pri analize [1] ) i selektivnogo travleniya vseh upomyanutih sloev na zadney paneli do materiala emittera.
Esli zhe v kachestve avtoelektronnogo emittera budet ispolyzovano plenochnoe pokritie, na poverhnosti kotorogo vipolneni ostriya i/ili mikrovistupi, to k opisannim nedostatkam i problemam dobavitsya i nestabilynosty harakteristik etogo ustroystva po suti v kazhdoy tochke izobrazheniya iz-za izmeneniya formi emittiruyushtey poverhnosti emitterov vsledstvie ionnoy bombardirovki ostatochnimi gazami, o chem takzhe govorilosy pri analize [1] .
Naibolee blizkim k zayavlyaemomu yavlyaetsya ploskoe avtoelektronnoe ustroystvo dlya vosproizvedeniya izobrazheniya [3] , soderzhashtee germetichniy korpus s izoliruyushtey opticheski prozrachnoy peredney panelyyu, na vnutrenney poverhnosti kotoroy razmeshteni po menyshey mere odna anodnaya shina s lyuminestsentnim sloem po menyshey mere na chasti ee poverhnosti, po menyshey mere odin katod s volokonnim avtoelektronnim emitterom, raspolozhennim na dielektricheskoy podlozhke, sluzhashtey zadney panelyyu korpusa, kazhdiy iz emitterov imeet vityanutuyu formu i soderzhit ansambly emittiruyushtih elementov, vihodyashtih na ego emittiruyushtuyu poverhnosty, obrashtennuyu k peredney paneli, speyser dlya fiksatsii rasstoyaniya ot katoda do anoda na peredney paneli i po menyshey mere odnu shinu pitaniya emitterov, razmeshtennuyu na zadney paneli.
Osobennostyyu prototipa yavlyaetsya ispolyzovanie v kachestve emittera odinochnih ili svyazannih v puchok volokon iz poluprovodnikovogo ili provodyashtego materiala, sposobnogo k ispuskaniyu elektronov v rezhime holodnoy emissii. Takie volokna mogut bity vipolneni iz takogo materiala kak polnostyyu, tak i chastichno, pokrivaya v vide plenki serdechnik iz neemissionnogo materiala. Takovimi mogut bity, naprimer, almaznie, almazopodobnie uglerodnie (grafitovie) ili steklovidnie uglerodnie volokna, vityanutie i odnom napravlenii i lezhashtie, chto sushtestvenno, v ploskosti katoda (na ego podlozhke) parallelyno lyuminestsentnomu sloyu. Podlozhka vipolnena volnoobraznoy i volokna podderzhivayutsya v visyachem polozhenii grebnyami (ili vpadinami) podlozhki. Volokna imeyut grubuyu zazubrennuyu bokovuyu poverhnosty iz-za kristallicheskih vklyucheniy almaza submikronnih razmerov, vihodyashtih na poverhnosty razlichnimi granyami i chastichno orientirovannih v kristallograficheskom napravlenii "100" ili v napravlenii "111". V pervom iz nih almaz proyavlyaet nizkoe, a vo vtorom - otritsatelynoe srodstvo k elektronu. Vozmozhno takzhe nalichie oboih vidov vklyucheniy, kotorie predstavlyayut fakticheski ansambly emittiruyushtih elementov, vihodyashtih na bokovuyu poverhnosty takih volokon, yavlyayushtuyusya odnovremenno ih emittiruyushtey poverhnostyyu. V [3] podcherkivaetsya, chto emissiya elektronov osushtestvlyaetsya printsipialyno iz bokovoy poverhnosti volokon, no ne iz ih konchika ili kontsa, t. e. ne iz ih tortsevoy poverhnosti. Pri nekotorih raspolozheniyah volokon na podlozhke katoda ee grebni snabzhayutsya provodyashtimi pokritiyami, yavlyayushtimisya upravlyayushtimi elektrodami i sluzhashtimi, po mneniyu avtorov [3] , dlya luchshego upravleniya elektronnoy emissiey.
Odnako ispolyzovanie etih kristallicheskih vklyucheniy, vihodyashtih na bokovuyu v obshtem neploskuyu, iskrivlennuyu poverhnosty volokonnih emitterov, v kachestve emittiruyushtih elementov uhudshaet razreshenie ustroystva. Yato obuslovleno tem, chto ukazannaya forma emittiruyushtey poverhnosti emittera privodit k razlichnoy orientatsii takih ego elementov po otnosheniyu k sootvetstvuyushtey emu anodnoy shine, pokritoy lyuminestsentnim pokritiem i, kak sledstvie, k razlichnoy orientatsii traektoriy elektronov. Yato, v svoyu ocheredy, privodit kak k razmitiyu sootvetstvuyushtey tochki izobrazheniya (piksela), tak i k snizheniyu ee yarkosti (svetootdachi). Prichem eti harakteristiki v kazhdoy tochke (kazhdom piksele) izobrazheniya na peredney paneli ustroystva budut nestabilynimi, t. k. razrushenie odnih elementov i vihod na emissionnuyu poverhnosty (vsledstvie ionnoy bombardirovki emitterov ostatochnimi gazami) drugih elementov (v obshtem v drugom meste i s drugoy orientatsiey) budet privodity k smeshteniyu polozheniya pikselov i k izmeneniyu ih yarkosti i poperechnih razmerov. Takoy protsess smeni emittiruyushtih elementov mozhet proyavitysya v vide mertsaniya ekrana displeya i drozhaniya izobrazheniya, chto budet vizivaty povishennoe zritelynoe utomlenie u polyzovateley.
Drugoy vozmozhnoy prichinoy nestabilynosti upomyanutih harakteristik ustroystva yavlyaetsya otsutstvie dostatochnoy mehanicheskoy zhestkosti emitterov, podveshennih v ryade udalennih drug ot druga opor na podlozhke katoda, chto mozhet okazatysya sushtestvennim v usloviyah znachitelynih ponderomotornih nagruzok. Vazhno i to, chto dlya takih "visyachih" emitterov vesyma slozhno obespechity ravnomernuyu emissiyu po vsey ih dline iz-za neizbezhnosti ih provisaniya (poperechnie razmeri volokon v [3] sostavlyayut predpochtitelyno 3-15 mikron). Osobenno zametno eto budet proyavlyatysya, kogda dlya obespecheniya ekonomichnosti upravleniya budut umenyshaty rasstoyanie emitter-anod. Vozmozhno dazhe, chto pri takom umenyshenii proizoydet pereraspredelenie potokov elektronov v polyzu emissii, v osnovnom, iz uchastkov volokon vblizi opor. Pomimo chrezmernogo mehanicheskogo napryazheniya i razogreva etih uchastkov, chto samo po sebe mozhet privesti k prezhdevremennomu vihodu ih iz stroya, kak i ustroystva v tselom, takoe pereraspredelenie vizovet neodnorodnosty svecheniya s temnim pyatnom v tsentre kazhdoy tochki izobrazheniya. Poslednee mozhet negativno skazatysya na zritelynom vospriyatii izobrazheniya.
Otdelyno sleduet otmetity, chto nalichie upravlyayushtih elektrodov v [3] , yavlyayushtihsya promezhutochnimi elementami mezhdu anodom i katodom, izolirovannih dielektrikom podlozhki ot emitterov i raspolozhennih v neposredstvennoy blizosti ot nih, mozhet privesti k nestabilynosti harakteristik ustroystva ili dazhe k sokrashteniyu ego sroka sluzhbi. Yato obuslovleno zagryazneniem poverhnosti podlozhki provodyashtim materialom emitterov (grafitom) vsledstvie ego raspileniya v rezulytate ionnoy bombardirovki ostatochnimi gazami v usloviyah tehnicheskogo vakuuma.
Pomimo etogo, iz-za neobhodimosti ispolyzovaniya tonkih i uzkih anodnih shin dlya obespecheniya priemlemogo razresheniya v prototipe vozmozhno analogichno [1] uhudshenie odnorodnosti svetootdachi pri uvelichenii polya izobrazheniya.
Ukazannie nedostatki mogut bity preodoleni, a postavlennaya zadacha mozhet bity reshena, esli v ploskom avtoelektronnom ustroystve dlya vosproizvedeniya izobrazheniya, soderzhashtem germetichniy korpus s izoliruyushtey opticheski prozrachnoy peredney panelyyu, na vnutrenney poverhnosti kotoroy razmeshteni po menyshey mere odna anodnaya shina s lyuminestsentnim sloem po menyshey mere na chasti ee poverhnosti, po menyshey mere odin avtoelektronniy emitter, raspolozhenniy v dielektricheskoy podlozhke, sluzhashtey zadney panelyyu korpusa, kazhdiy iz kotorih imeet vityanutuyu formu i soderzhit ansambly emittiruyushtih elementov, vihodyashtih na ego emittiruyushtuyu poverhnosty, obrashtennuyu k peredney paneli, speyser dlya fiksatsii rasstoyaniya mezhdu peredney i zadney panelyami i po menyshey mere odnu shinu pitaniya emitterov, razmeshtennuyu na zadney paneli, soglasno izobreteniyu kazhdiy emitter vityanut v odnom napravlenii - k sootvetstvuyushtey emu anodnoy shine, ego emittiruyushtaya poverhnosty vipolnena ploskoy i obrazovana tortsevoy poverhnostyyu emittera, a emittiruyushtie elementi, vihodyashtie na etu poverhnosty, orientirovani v ukazannom napravlenii, pri etom drugaya tortsevaya poverhnosty etogo emittera soedinena s sootvetstvuyushtey emu shinoy pitaniya, razmeshtennoy v polozhenii, skreshtivayushtemsya s polozheniem upomyanutoy anodnoy shini.
Nalichie otlichitelynih ot prototipa priznakov svidetelystvuet o sootvetstvii zayavlyaemogo izobreteniya usloviyam patentosposobnosti po novizne.
Sushtnosty izobreteniya osnovana na vpervie osushtestvlennom avtorami kompleksnom rassmotrenii vzaimosvyazannih protsessov, proishodyashtih v avtoelektronnom ustroystve dlya vosproizvedeniya izobrazheniya v usloviyah tehnicheskogo vakuuma: razrushenie pod deystviem ionnoy bombardirovki odnih emittiruyushtih elementov kazhdogo emittera, tem bolyshee, chem vishe tokootbor s takih elementov, i obnazhenie novih emittiruyushtih elementov i, krome togo, raspilenie provodyashtego materiala emitterov, privodyashtee k zagryazneniyu poverhnosti okruzhayushtih emitteri elementov ustroystva. Obespechenie stabilynosti harakteristik ustroystva v kazhdoy tochke izobrazheniya v takih usloviyah vozmozhno lishy v statisticheskom smisle, t. e. pri sohranenii usloviy emissii v srednem na emitter. Yatogo udalosy dobitysya blagodarya dostizheniyu odinakovoy (v otlichie ot prototipa) orientatsii vseh emittiruyushtih elementov kazhdogo emittera v odnom napravlenii - k sootvetstvuyushtey etomu emitteru anodnoy shine. Togda pri razrushenii i smene odnih emittiruyushtih elementov drugimi budet sohranyatysya napravlenie emissii elektronov ot emittera i tem samim obespechivatysya prostranstvennaya stabilizatsiya elektronnogo potoka. Takaya orientatsiya emittiruyushtih elementov dostigaetsya blagodarya vipolneniyu ih orientirovannimi vdoly osi emittera, napravleniyu ego k sootvetstvuyushtey emu anodnoy shine i vipolneniyu ploskoy ego tortsevoy poverhnosti, yavlyayushteysya emittiruyushtey poverhnostyyu emittera. Ponyatno pri etom, chto vse "bluzhdaniya" emittiruyushtih elementov po tortsevoy poverhnosti emittera v protsesse ekspluatatsii ne razlichayutsya zritelem, esli poperechnie razmeri kazhdogo emittera ne previshayut razmerov minimalynogo elementa, razlichimogo eshte dlya cheloveka s normalynim zreniem.
Vremennoy zhe stabilizatsii potoka elektronov mozhno dobitysya putem snizheniya tokootbora s kazhdogo emittiruyushtego elementa za schet uvelicheniya ih chisla na emittiruyushtey poverhnosti. Dlya etogo provodyat v techenie opredelennogo vremeni, zavisyashtego ot konkretnogo materiala emitterov, predvaritelynuyu formovku ih emittiruyushtey poverhnosti v rezhime povishennogo tokootbora (v poltora-dva raza) po sravneniyu s nominalynim znacheniem toka v protsesse posleduyushtey raboti. Uvelichenie chisla emittiruyushtih elementov pozvolyaet snizity intensivnosty protsessa ih razrusheniya i sdelaty stabilynimi ih emissionnie svoystva. No, samoe glavnoe, pri etom udaetsya sblizity emissionnie svoystva emitterov mezhdu soboy blagodarya effektu usredneniya i tem samim obespechity odnu iz vazhneyshih harakteristik ustroystva - odnorodnosty raspredeleniya svetotdachi po polyu izobrazheniya. Konechno, mozhno dostichy etogo i prosto uvelicheniem poperechnih razmerov emittera. Odnako, vozmozhnosti zdesy ogranicheni trebuemim razresheniem ustroystva.
Snizhenie intensivnosti protsessa razrusheniya emitterov, krome togo, pozvolyaet snizity tempi zagryazneniya ih materialom drugih elementov ustroystva i tem samim stabilizirovaty harakteristiki ustroystva v kazhdoy tochke izobrazheniya no otnosheniyu k etomu protsessu (ne govorya uzhe o povishenii nadezhnosti i sroka sluzhbi). No glavnim sredstvom takoy stabilizatsii yavlyaetsya udalenie lyubih upravlyayushtih elementov iz oblasti, prilegayushtey k emitteram - v etom smisle takoe predlozhenie yavlyaetsya novim. Takih elementov v zayavlyaemom ustroystve net.
Rabota ustroystva obespechivaetsya podachey potentsiala mezhdu trebuemimi shinoy pitaniya emitterov i anodnoy shinoy, otdelennoy ot sootvetstvuyushtego emittera vakuumnim promezhutkom (a ne tonkim sloem dielektrika, sposobnim zagryaznyatysya raspilyaemim provodyashtim materialom emittera, kak v prototipe). V izvestnih analogah i tehnicheskih resheniyah drugih avtorov, primenyayushtih avtoelektronnie emitteri, libo ne ispolyzovani v kachestve sushtestvennih emittiruyushtih elementov te iz nih, chto vihodyat na ploskuyu tortsevuyu poverhnosty emitterov, libo eti elementi orientirovani v raznih napravleniyah po otnosheniyu k anodnim shinam, sootvetstvuyushtim etim emitteram, libo avtoelektronnie emitteri ispolyzovani kak neotaemlemaya chasty vmeste s upravlyayushtimi elementami, nahodyashtimisya s nimi na odnoy podlozhke, chto nepriemlemo iz-za negativnogo vliyaniya na stabilynosty i nadezhnosty raboti ustroystva protsessa raspileniya materiala emitterov. Skazannoe mozhet sluzhity svidetelystvom sootvetstviya zayavlyaemogo izobreteniya usloviyam patentosposobnosti po izobretatelyskomu urovnyu.
Realizatsiya avtoelektronnih emitterov dlya zayavlyaemogo ustroystva mozhet bity razlichnoy. Kazhdiy iz emitterov mozhet bity vipolnen v vide puchka uglerodnih volokon, fibrilli kotorih vityanuti vdoly ego osi i yavlyayutsya ego emittiruyushtimi elementami, haoticheski raspolozhennimi na tortsevoy poverhnosti emittera. Uvelichenie chisla volokon v puchke, v dopolnenie k uvelicheniyu chisla emittiruyushtih elementov na tortsevoy poverhnosti kazhdogo volokna putem upomyanutoy formovki, pozvolyaet uvelichity tokootbor s emittera i, sledovatelyno, svetootdachu piksela, izluchayushtego svet pod deystviem elektronnogo potoka s etogo emittera, bez uvelicheniya nagruzki na kazhdoe volokno. Tem samim usilivaetsya deystvie upomyanutogo effekta usredneniya, sposobstvuya ustanovleniyu odnorodnogo raspredeleniya svetootdachi po polyu izobrazheniya pri povishennoy yarkosti kazhdogo piksela. Uvelichenie chisla volokon v puchke, kak uzhe govorilosy, ogranichivaetsya trebuemim razresheniem ustroystva.
Sobrannie v puchki uglerodnie volokna kazhdogo emittera uderzhivayutsya vmeste blagodarya steklyannoy (ili inoy dielektricheskoy) obolochke, imeyushtey naruzhnuyu tsilindricheskuyu formu, i ustanavlivayutsya v dielektricheskoy podlozhke svoimi osyami v napravlenii sootvetstvuyushtey emu anodnoy shini, kak pravilo, sovpadayushtim s napravleniem normali k vnutrenney poverhnosti peredney paneli ustroystva. Blagodarya etomu vse emitteri okazivayutsya parallelynimi drug drugu. Bezuslovno, emitteri mogut bity ustanovleni i pod drugimi uglami, naprimer, vityanuti v napravleniyah, sostavlyayushtih opredelennie ugli v intervale do 3-5o po otnosheniyu k ukazannoy normali i ne bity parallelynimi v etih zhe predelah po tehnologicheskim ili inim prichinam. Blagodarya malim poperechnim razmeram (predpochtitelyno, 20-100 mkm) emitterov i nebolyshomu rasstoyaniyu (0,5-1.4 mm) ih do peredney paneli s anodnimi shinami i lyuminestsentnim sloem eto ne privodit k zametnomu glazom izmeneniyu razmerov pikselov i rasstoyaniya mezhdu nimi, ravno kak i drugih parametrov, vliyayushtih na kachestvo izobrazheniya. Steklo obolochek ne smachivaet volokna, a lishy obvolakivaet ih snaruzhi, obespechivaya horoshiy elektricheskiy i teplovoy kontakt mezhdu nimi. Puchki mogut bity pomeshteni v otverstiya gotovoy dielektricheskoy podlozhki kak v obolochkah, tak i bez obolochek. Ili (chto predpochtitelynee) obolochki emitterov mogut bity skrepleni (putem spekaniya) drug s drugom, obrazuya tem samim takovuyu dielektricheskuyu podlozhku v vide monobloka. Poslednee pozvolyaet poputno uprostity i tehnologiyu izgotovleniya takogo bloka emitterov, i vsego ustroystva v tselom. Obolochki emitterov mogut bity raspolozheni pri etom vzaimno perpendikulyarnimi ryadami po otnosheniyu drug k drugu ili (naprimer, pri ih tsilindricheskoy forme) so smeshteniem: v kazhdom posleduyushtem ih ryade oni raspolozheni vo vpadinah mezhdu obolochkami emitterov predidushtego ryada, obrazuya ih plotnuyu upakovku, pri kotoroy ostrie ugli mezhdu ryadami sostavlyayut poryadka 60o. Takaya tehnologiya izgotovleniya sposobstvuet polucheniyu blokov avtoelektronnih emitterov s dostatochno bolyshoy emissionnoy poverhnostyyu i legko dopuskaet ih modulynoe izgotovlenie.
Vazhno otmetity, chto, nesmotrya na vozmozhnoe otklonenie osey emitterov ot normali k vnutrenney poverhnosti peredney paneli, poverhnosty podlozhki, sluzhashtey zadney panelyyu korpusa, kak pravilo, ustanavlivaetsya parallelyno peredney paneli. V takom sluchae tehnologicheski proshte viderzhaty ravnoe rasstoyanie emitterov do sootvetstvuyushtih anodnih shin i tem obespechity odnorodniy tokootbor s emitterov i, sledovatelyno, odnorodnoe raspredelenie svetootdachi po polyu izobrazheniya.
Kazhdiy iz avtoelektronnih emitterov mozhet bity vipolnen i iz pirografita, naprimer, v vide stolbika, i ustanovlen v otverstii dielektricheskoy podlozhki svoey osyyu v ukazannom napravlenii. Pri ih izgotovlenii proishodit orientirovanie cheshuek pirografita vdoly osi takogo emittera. Cheshuyki, vihodyashtie na emittiruyushtuyu tortsevuyu poverhnosty kazhdogo stolbika, yavlyayutsya emittiruyushtimi elementami emittera. Pri raspolozhenii stolbikov pirografita v otverstiyah dielektricheskoy podlozhki v napravlenii sootvetstvuyushtih im anodnih shin, v tom zhe napravlenii budut orientirovani i takie cheshuyki. Poetomu analogichno predidushtemu eto budet sposobstvovaty stabilizatsii harakteristik ustroystva v kazhdoy tochke izobrazheniya.
Vvidu mehanicheskoy neprochnosti pirografita tselesoobrazno, chtobi tortsevie emittiruyushtie poverhnosti etih stolbikov bili raspolozheni vroveny s poverhnostyyu podlozhki, obrashtennoy k peredney paneli, ili nizhe etoy poverhnosti, no ne bolee chem na 0,1-0.3 rasstoyaniya mezhdu peredney i zadney panelyami, fiksiruemogo speyserom. Esli rasstoyanie bolyshe, to uvelichivaetsya napryazhenie anod - emitter, chto silyno snizhaet ekonomichnosty ustroystva. Pri realizatsii eto rasstoyanie poryadka 50-200 mkm. Yato dostigaetsya putem shlifovki i polirovki etoy poverhnosti s ustanovlennimi stolbikami pirografita s posleduyushtim izbiratelynim travleniem poslednih, libo ih ionnoy obrabotkoy v rezhime povishennogo tokootbora (1.5-2,0 ot nominalynogo v rabochem rezhime). Odnovremenno takim obrazom osushtestvlyaetsya i upomyanutaya formovka emittiruyushtey poverhnosti takih emitterov. Pri takom raspolozhenii emitterov ne narushaetsya zhestkaya fiksatsiya ih kontsov s emittiruyushtey poverhnostyyu i ne voznikaet problem ih skola, razrusheniya ili oblamivaniya iz-za bolyshih ponderomotornih nagruzok, hotya i trebuetsya prilozhenie bolee visokogo napryazheniya mezhdu sootvetstvuyushtimi anodnimi shinami i shinami pitaniya dlya sozdaniya neobhodimoy napryazhennosti polya (poryadka 104 V/sm) u emittiruyushtey poverhnosti emitterov dlya vozniknoveniya holodnoy emissii elektronov.
Esli v kachestve emitterov ispolyzovani puchki uglerodnih volokon, pomeshtennie kazhdiy v steklyannie obolochku i ustanovlennie v otverstii dielektricheskoy podlozhki svoey osyyu v ukazannom napravlenii, to analogichno predidushtemu ih tortsevie emittiruyushtie poverhnosti mogut bity raspolozheni kak vroveny s poverhnostyyu podlozhki, obrashtennoy k peredney paneli, tak i nizhe etoy poverhnosti, no ne bolee chem na 0,1-0,3 rasstoyaniya mezhdu peredney i zadney panelyami. No krome etogo, takie emitteri blagodarya fiksiruyushtey roli obolochek mogut i vistupaty nad etoy poverhnostyyu na rasstoyanie, ne previshayushtee 0,9 rasstoyaniya mezhdu peredney i zadney panelyami. Yato pozvolyaet snizity upomyanutoe vishe napryazhenie i takim obrazom obespechity ekonomichnosty upravleniya emittiruemimi elektronnimi puchkami bez ispolyzovaniya kakih-libo vspomogatelynih elementov upravleniya, v chastnosti, ukazannih v prototipe. Kstati effektivnosty podobnih elementov upravleniya vesyma somnitelyna vvidu malogo rasstoyaniya emitter-anod i visokoy skorosti emissii elektronov, ne govorya uzhe o snizhenii nadezhnosti i sroka sluzhbi iz-za zagryazneniya ih raspilennim materialom emittera, chto otmechalosy i vishe.
Vibrannaya predpochtitelynaya orientatsiya emittiruyushtih elementov i samih emitterov (vdoly normali k vnutrenney poverhnosti peredney paneli) obespechivaet takzhe uluchshenie razresheniya zayavlyaemogo ustroystva dlya vosproizvedeniya izobrazheniya. Deystvitelyno, v etom sluchae uglovie otkloneniya silovih liniy polya ot osi emittera naimenyshie pri prochih ravnih usloviyah, poetomu i razmer pyatna izobrazheniya (piksela) na peredney paneli minimalyniy. I tem on menyshe, chem blizhe emitter k sootvetstvuyushtey emu anodnoy shine pri odnoy i toy zhe rashodimosti elektronnogo puchka. Po etoy prichine ispolyzovanie volokonnih emitterov, vistupayushtih nad obrashtennoy k peredney paneli poverhnostyyu podlozhki, imeet preimushtestvo ne tolyko po ekonomichnosti upravleniya, no takzhe i po minimalyno dostizhimomu razresheniyu avtoelektronnogo ustroystva dlya vosproizvedeniya izobrazheniya.
Zayavlyaemoe izobretenie dopuskaet razlichnoe vzaimnoe raspolozhenie anodnih shin i lyuminestsentnogo sloya pri ih razmeshtenii na vnutrenney poverhnosti peredney paneli. Tak, lyuminestsentniy sloy mozhet bity nanesen neposredstvenno na etu poverhnosty, a upomyanutie anodnie shini mogut bity naneseni na etot sloy (v chastnosti, raspileni cherez masku) v vide ryada parallelynih provodyashtih polos. Pri etom anodnie shini vipolneni pronitsaemimi dlya elektronov, emittiruemih upomyanutimi emitterami, t. e. ravnoy, no ne slishkom bolyshoy tolshtini po vsey ih poverhnosti, chtobi ne oslabity sushtestvenno prohodyashtiy skvozy nih elektronniy potok i tem samim yarkosty svecheniya lyuminestsentnogo sloya. Dlya etogo dostatochno, chtobi shini imeli tolshtinu v neskolyko desyatkov angstrem i shirinu, neskolyko bolyshuyu poperechnogo razmera emittera (naprimer, 120 mkm), no ne previshayushtuyu rasstoyaniya mezhdu emitterami (170 - 200 mkm). Lyuminestsentniy sloy v etom sluchae zanimaet vsyu poverhnosty kazhdoy anodnoy shini, obrashtennuyu k peredney paneli. Yalektrodi k takoy shine pripayani na protivopolozhnoy ee storone. No vozmozhna i obratnaya situatsiya, kogda upomyanutie anodnie shini, vipolnennie v vide ryada parallelynih provodyashtih polos, naneseni neposredstvenno na vnutrennyuyu poverhnosty peredney paneli, a na nih - lyuminestsentniy sloy. Anodnie shini pri etom vipolneni iz opticheski prozrachnoy plenki tolshtinoy neskolyko soten angstrem. Lyuminestsentniy sloy v etom sluchae pokrivaet poverhnosty anodnih shin lishy chastichno, ostavlyaya mesto dlya elektrodov k shine. Naprimer, oni mogut imety shirinu, ravnuyu shirine polosi anodnoy shini, i raspolagatysya tolyko na uchastkah poverhnosti etih polos, obrashtennih k sootvetstvuyushtim emitteram.
Neobhodimo otmetity, chto dlya anodnih shin maloy tolshtini i bolyshoy protyazhennosti (naprimer, dlya ustroystv s bolyshimi razmerami peredney paneli) ee elektricheskoe soprotivlenie sostavlyaet zametnuyu velichinu, vsvyazi s chem mozhet vozniknuty problema, neodnorodnogo raspredeleniya svetootdachi v napravlenii raspolozheniya anodnih shin iz-za padeniya napryazheniya vdoly etih shin. Dlya ustraneniya etoy problemi tselesoobrazno vipolnity upomyanutie anodnie shini v vide ryada parallelynih provodyashtih polos, imeyushtih zadannuyu shirinu, i tolshtinu, naprimer, na 1-2 poryadka bolyshuyu, chem ukazano vishe (tak, chto oni ne budut ni opticheski prozrachnimi, ni pronitsaemimi dlya elektronov), chtobi padenie napryazheniya vdoly nih ne previshalo zaranee ustanovlennoy velichini, i vipolnity v nih uglubleniya tipa lunok na uchastkah naprotiv sootvetstvuyushtih emitterov. Dno takih lunok dolzhno imety tolshtinu, sootvetstvuyushtuyu ukazannoy vishe, chtobi shina bila dostatochno pronitsaemoy dlya elektronnogo potoka pri naneseniya ee na lyuminestsentniy sloy, libo opticheski prozrachnoy v drugom variante. V chastnosti, v variante, kogda anodnie polosi naneseni neposredstvenno na vnutrennyuyu poverhnosty peredney paneli, lyuminestsentniy sloy mozhet bity nanesen lishy na opticheski prozrachnoe dno takih lunok, chto mozhet daty opredelennuyu ekonomiyu materiala lyuminestsentnogo sloya i bity priemlemim v tehnologicheskom plane. Pri etom razmeri lunok dolzhni, chto ponyatno, imety zadannie razmeri piksela izobrazheniya i sootvetstvovaty ili bity neskolyko bolyshe (na 10 - 15%) poperechnih razmerov emittera (pri malih rasstoyaniyah emitter - anodnaya shina) i poetomu ne previshaty razmerov minimalynogo elementa, razlichimogo eshte dlya cheloveka s normalynim zreniem.
Dlya fiksatsii rasstoyaniya mezhdu peredney i zadney panelyami ustroystva ispolyzovan speyser, predpochtitelyno raspolozhenniy na krayah etih paneley i ohvativayushtiy ih. V etom sluchae on osushtestvlyaet i germetizatsiyu korpusa. V chastnosti, on mozhet bity vipolnen v vide kolytsa s tsilindricheskim vistupom v sredney chasti dlya razmeshteniya na nem peredney i zadney paneley na zadannom rasstoyanii mezhdu nimi. Vozmozhni i drugie varianti ego raspolozheniya, naprimer v vide vistupa pryamougolynogo secheniya na bokovih stenkah korpusa dlya razmeshteniya na nem obeih paneley, ili v vide dielektricheskih vistupov zadannoy visoti na poverhnosti podlozhki, obrashtennoy k peredney paneli, vipolnennih zaodno s podlozhkoy.
Na protivopolozhnoy poverhnosti podlozhki obichno razmeshteni (naprimer, naneseni napileniem ili osazhdeniem cherez sootvetstvuyushtuyu masku) shini pitaniya emitterov, prohodyashtie vdoly sootvetstvuyushtih ih ryadov cherez drugie (po otnosheniyu k emittiruyushtim) tortsi emitterov (naprimer, v vide stolbikov pirografita), raspolozhennie zapodlitso s etoy poverhnostyyu, i imeyushtie elektricheskiy kontakt s etimi tortsami. Shini pitaniya emitterov takzhe vipolneni v vide provodyashtih polos, parallelynih drug drugu, i pri razmeshtenii na podlozhke orientirovani v polozhenii, skreshtivayushtemsya s polozheniem upomyanutih anodnih shin. V chastnosti, anodnie shini i shini pitaniya emitterov mogut bity vzaimno perpendikulyarnimi ili raspolagatysya pod ostrim uglom drug k drugu (pri plotnoy upakovke - poryadka 60o) vdoly sootvetstvuyushtih ryadov emitterov v zavisimosti ot ih raspolozheniya v dielektricheskoy podlozhke.
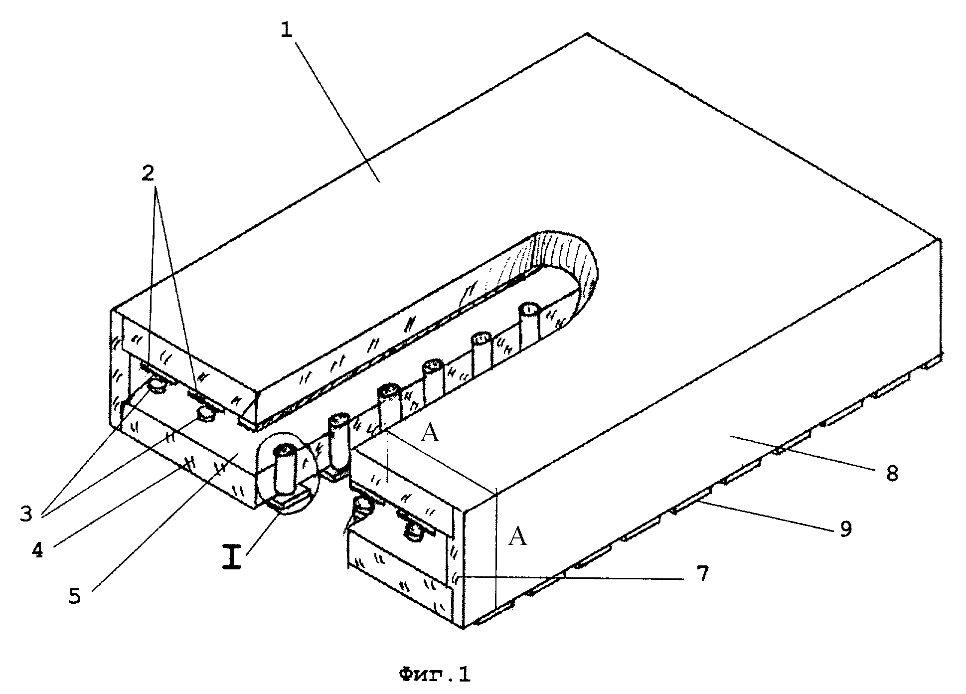
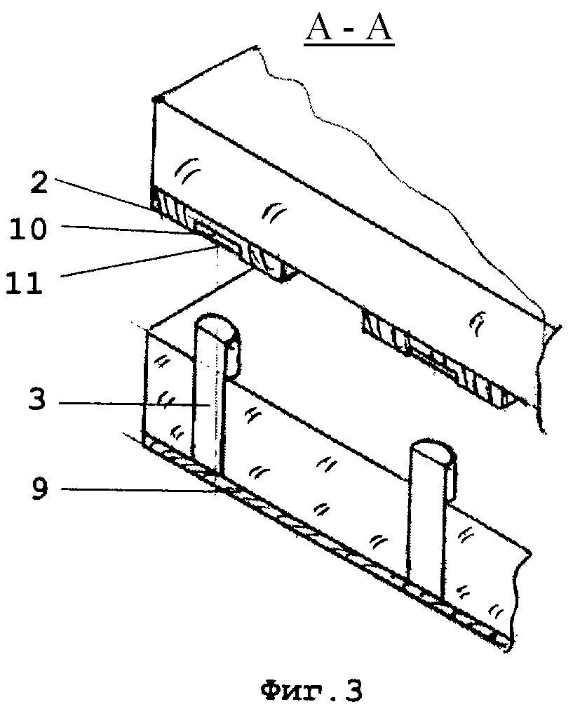
Dlya luchshego ponimaniya sushtnosti izobreteniya nizhe priveden primer ego realizatsii, izobrazhenniy na fig. 1 v uvelichennom masshtabe v vide secheniya s virezom v sredney chasti. Na fig. 2 pokazano sechenie chasti ustroystva po A-A fig. 1, prohodyashtee cherez emitteri, a na fig. 3 - bolee detalyno chasty podlozhki s dvumya emitterami, vistupayushtimi nad ee poverhnostyyu.
Na fig. 1 pokazano ploskoe avtoelektronnoe ustroystvo dlya vosproizvedeniya izobrazheniya, soderzhashtee germetichniy steklyanniy korpus (na fig. 1 ne oboznachen) v forme parallelepipeda s izoliruyushtey opticheski prozrachnoy peredney panelyyu 1, vipolnennoy, naprimer, iz stekla ili drugogo dielektrika, prozrachnogo dlya vidimogo izlucheniya, na vnutrenney poverhnosti kotoroy nanesen ryad parallelynih drug drugu anodnih shin 2, avtoelektronnie emitteri 3, raspolozhennie s shagom poryadka 200 mkm v dielektricheskoy podlozhke 4 (iz stekla, kvartsa), sluzhashtey zadney panelyyu korpusa i otdelennoy ot peredney paneli 1 vakuumnim promezhutkom 5. Kazhdiy iz emitterov 3 vipolnen v vide puchka uglerodnih poliakrilonitridnih volokon (na fig. 1 ne oboznacheni) s poperechnimi razmerami poryadka 100 mkm, proizvodimih otechestvennoy promishlennostyyu, imeet vityanutuyu vdoly svoey osi formu, napravlen k sootvetstvuyushtey emu anodnoy shine 2 po normali k vnutrenney poverhnosti peredney paneli 1 i soderzhit ansambly emittiruyushtih elementov 6 (sm. fig. 2), vihodyashtih na ploskuyu tortsevuyu poverhnosty emittera 3. yavlyayushtuyusya ego emittiruyushtey poverhnostyyu i obrashtennuyu k peredney paneli 1. Yamittiruyushtimi elementami 6 v etom variante osushtestvleniya izobreteniya yavlyayutsya vityanutie vdoly osi kazhdogo iz volokon fibrilli (nitevidnoy formi, dlinoy do 1 mkm, diametrom 1-5 nm). Puchki volokon pomeshteni v tsilindricheskie steklyannie obolochki, kotorie raspolozheni v otverstiyah dielektricheskoy podlozhki 4 tak, chto ih kontsi ustanovleni vroveny s tortsami obolochek i obrazuyut tortsevuyu poverhnosty emittera 3, vistupayushtuyu nad podlozhkoy 4 na rasstoyanie poryadka 40-400 mkm pri rasstoyanii mezhdu peredney 1 i zadney 4 panelyami 0,5-1,4 mm. Dlya fiksatsii ukazannih rasstoyaniy ispolyzuetsya speyser 7, vipolnenniy v vide vistupa pryamougolynogo secheniya na bokovih stenkah 8 korpusa, raspolozhennih po obe storoni ot paneley 1 i 4 i zhestko skreplennih s nimi (skleivaniem ili svarkoy). Na protivopolozhnoy (dalyney ot paneli 1) poverhnosti podlozhki 4 naneseni parallelynie polosi shin 9 pitaniya emitterov 3, kazhdaya iz kotorih soedinena s drugimi tortsevimi poverhnostyami sootvetstvuyushtih emitterov 3 svarkoy i razmeshtena v polozhenii, skreshtivayushtemsya s polozheniem upomyanutih anodnih shin 2 pod pryamim uglom drug k drugu. Anodnie shini 2 v vide provodyashtih polos iz alyuminiya tolshtinoy v neskolyko soten nanometrov vipolneni s uglubleniyami 10 tipa lunok (fig. 3) tsilindricheskoy formi na uchastkah naprotiv sootvetstvuyushtih emitterov 3. Lunki 10 imeyut razmeri piksela izobrazheniya (razmeri emittera pri malih rasstoyaniyah emitter - anodnaya shina). Dlya izgotovleniya takih lunok 10 na pervom etape proizvodyat napilenie polos shin 2 cherez maski s kruglimi ekranami na meste raspolozheniya lunok 10. a na poslednem etape - cherez takie zhe maski, no bez ekranov. Dno lunok 10 (tolshtinoy neskolyko soten angstrem) okazivaetsya v rezulytate opticheski prozrachnim. Tolyko na nego nanesen lyuminestsentniy sloy 11 (iz lyuminofora), ostalynaya chasty shin 2 svobodna ot lyuminestsentnogo sloya 11. Yalektricheskie vivodi k shinam 2,9 (50 mkm alyuminievaya provoloka, na fig. 1-3 ne pokazani) privareni ulytrazvukovoy svarkoy s odnoy storoni. Vipolnenie korpusa ustroystva pryamougolynoy formi daet vozmozhnosty modulynogo postroeniya ekranov bolyshoy ploshtadi, naprimer, dlya reklamnih tablo.
Ustroystvo rabotaet sleduyushtim obrazom.
Posle sborki ustroystva v korpus, provedeniya ionnoy obrabotki emittiruyushtey tortsevoy poverhnosti vseh emitterov 3 ionami gaza (podachey raznosti potentsiala na vse shini 2 i 9) dlya sozdaniya nachalynogo mikrorelyefa s obnazhennimi emittiruyushtimi elementami 6 korpus germetiziruyut putem ego otkachki cherez shtengely (na fig. 1 ne pokazan) i posleduyushtey otpayki poslednego. Pri podache rabochego napryazheniya mezhdu sootvetstvuyushtimi shinami 2 i 9 voznikaet emissiya elektronov s emittiruyushtih elementov 6 emitterov 3 v napravlenii anodnoy shini 2. Yalektroni, vzaimodeystvuya s lyuminestsentnim sloem 11 v lunkah 10 shini 2, vizivayut ego svechenie. Svet prohodit skvozy dno lunki 10 shini 2, poyavlyayasy v vide yarkogo svecheniya v sootvetstvuyushtih tochkah (pikselah) peredney paneli 1 ustroystva. Izmenyaya rasstoyanie mezhdu peredney 1 i zadney 4 panelyami putem izmeneniya visoti speysera 7, mozhno poluchity ustroystvo s trebuemoy velichinoy rabochego napryazheniya, upravlyayushtego emissiey elektronov s avtoelektronnih emitterov 3.
Vse osnovnie elementi zayavlyaemogo ustroystva - materiali korpusa, ego peredney i zadney paneli, speysera, uglerodnie volokna ili stolbiki pirografita, material lyuminestsentnogo sloya, anodnih shin i shin pitaniya emitterov vipuskayutsya promishlennostyyu, kotoroy osvoeni i primenyaemaya pri izgotovlenii ustroystva tehnologiya. Yato pozvolyaet sdelaty vivod o sootvetstvii zayavlyaemogo izobreteniya usloviyam patentosposobnosti po promishlennoy primenimosti.
Privedenniy primer realizatsii ne yavlyaetsya edinstvennim. Tak, vozmozhno izgotovlenie podlozhki 4 putem osteklovivaniya uglerodnih volokon emitterov 3 s obrazovaniem ih obolochek, ukladki takih emitterov 3 v opravku s obrazovaniem plotnoy upakovki, nagreva i spekaniya obolochek emitterov 3 v monolitniy blok. Posleduyushtaya narezka shayb-zagotovok podlozhki s emitterami (tolshtinoy 1-2 mm), shlifovka i polirovka poverhnostey, a takzhe ionnaya obrabotka (bombardirovka) dlya uglubleniya emittiruyushtey poverhnosti i sozdaniya mikrorelyefa, o chem uzhe bilo skazano vishe, zavershayut ee izgotovlenie. Na upomyanutuyu druguyu tortsevuyu poverhnosty kazhdogo emittera 3 mozhet bity nanesena kontaktnaya ploshtadka, kotoraya soedinena s sootvetstvuyushtey emu shinoy 9 pitaniya (razmeshtennoy na podlozhke 4 na izolyatorah) ne neposredstvenno, a cherez element dlya regulirovki napryazheniya pitaniya kazhdogo emittera 3 (vipolnenniy, naprimer, na tranzistore ili tranzistorah). Upravlyayushtie vhodi takih elementov yavlyayutsya sootvetstvuyushtimi upravlyayushtimi vhodami ustroystva i sluzhat dlya podachi upravlyayushtih signalov so shemi upravleniya (naprimer, kompyyutera - cherez sootvetstvuyushtiy interfeys). Shini 9 pitaniya emitterov 3 raspolagayutsya v etom sluchae pod ostrim uglom (poryadka 60o) k anodnim shipam 2 vdoly sootvetstvuyushtih ryadov emitterov 3 v podlozhke 4. Yato reshenie pozvolyaet putem individualynoy regulirovki napryazheniya pitaniya kazhdogo emittera 3 (po sootvetstvuyushtey programme, zapisannoy v kompyyutere) avtomatizirovaty protsess viravnivaniya raspredeleniya svetootdachi po polyu izobrazheniya na peredney paneli 1 pri nastroyke ustroystva, ustranyaya tem samim nedostatki tehnologii izgotovleniya podlozhki 4 s emitterami 3, a takzhe vozmozhnuyu neodnorodnosty ih emissionnih svoystv. Pri etom perednyaya panely 1 s lyuminestsentnim sloem 11, nanesennim neposredstvenno na ee vnutrennyuyu poverhnosty, izgotovlena po standartnoy tehnologii elektronno-luchevih trubok. Na sloy 11 naneseni (napileni) anodnie shini 2 (iz alyuminiya) v vide parallelynih polos odnorodnoy tolshtini (20 - 100 angstrem), vipolnennih pronitsaemimi dlya elektronov, ispuskaemih emitterami 3.
Yati i drugie primeri realizatsii zayavlyaemogo ustroystva i ego otdelynih elementov yavlyayutsya lishy illyustratsiyami i poetomu ne mogut rassmatrivatysya kak ogranichenie zayavlyaemogo izobreteniya, sushtnosty kotorogo otrazhena v prilagaemoy formule izobreteniya.

Медиафайлы

Патенты

ПЛОСКОЕ АВТОЭЛЕКТРОННОЕ УСТРОЙСТВО ДЛЯ ВОСПРОИЗВЕДЕНИЯ ИЗОБРАЖЕНИЯ
RU2178598
FLAT TYPE ELECTRIC FIELD ELECTRON DEVICE FOR REPRODUCING PICTURE
JP2000228161