АСКАО

Витрина разработок и заказов

Автоматизированный модуль синтеза 99mTс (АМС-ГТ-ТОМ)
Предназначен для экспрессного получения лекарственного препарата на основе технеция-99м, используемого для диагностики в ядерной медицине.
Томский политехнический университет
Разработка | Категория: A
Автономные гибридные энергоустановки на базе ВИЭ
ООО «Хевел Энергосервис» имеет более 10 лет опыта работы в области солнечной энергетики. Мы реализуем проекты любой сложности: от крупных солнечных электростанций до автономных гибридных энергоустановок.
ХЕВЕЛ ЭНЕРГОСЕРВИС
Разработка | Категория: H
Автономный складской погрузчик
Программно-аппаратный комплекс для автоматизации складского погрузчика.
Университет Иннополис
Разработка | Категория: B
Автоэмиссионная электронная пушка
Автоэмиссионная электронная пушка магнетронно-инжекторного типа, состоящая из полого анода в форме урезанного конуса и расположенных соосно внутри него автоэмиссионного катода и управляющего электрода, оба конусной или цилиндрической формы, подключенных к электрическим выводам пушки...
Шешин Евгений Павлович
Разработка | Категория: H
Автоэмиссионное устройство
Автоэмиссионное устройство предназначено для использования в электронно-лучевых приборах с автоэлектронной эмиссией, а именно в зондовых приборах, экранах, растровых электронных микроскопах, а также может быть использовано в исследовательских и аналитических установках.
Шешин Евгений Павлович
Разработка | Категория: H
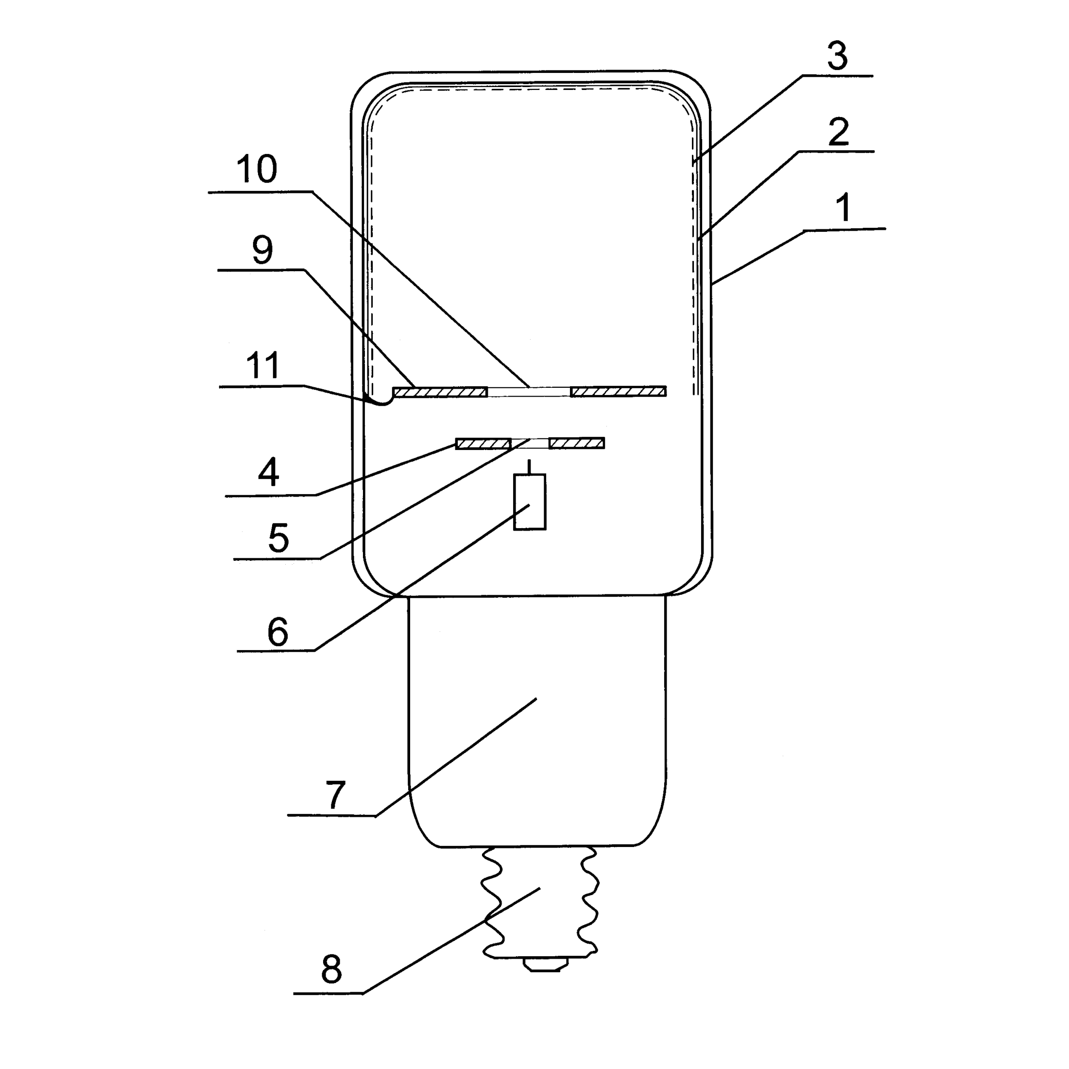
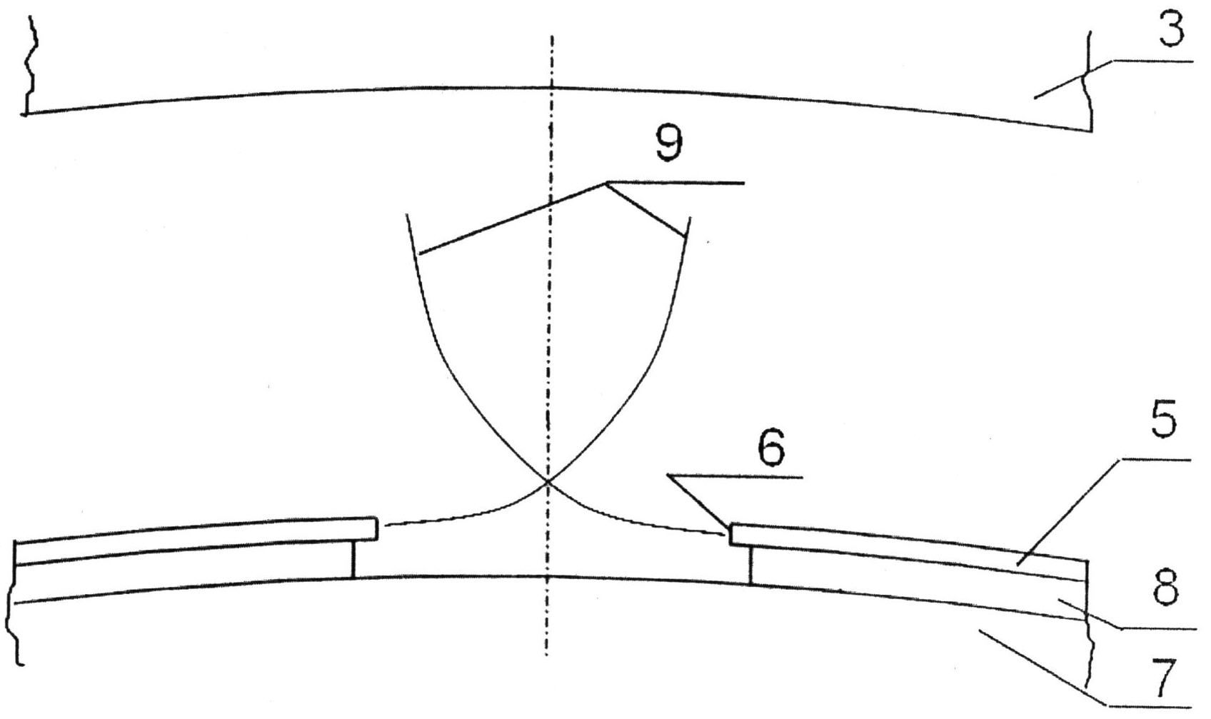
Автоэмиссионный источник излучения
Изобретение относится к области источников излучения как в видимом, так и в ультрафиолетовом, диапазоне и может быть использовано в конструкции ламп этих диапазонов длин волн. Преимущества разработка: увеличение равномерности свечения катодолюминофора и повышение эффективности источника излучения.
Шешин Евгений Павлович
Разработка | Категория: H
Агробиотехнологический кластер (пилотный проект)
Комплекс предприятий, чьи технологические цепочки связаны между собой. Продукт одного предприятия является сырьём для другого. Входящее сырьё - это органические отходы, а на выходе востребованная на рынке продукция: рыба, зелень, биокорм, биоудобрения, энтомологическая продукция.
Истомин Игорь Иванович
Разработка | Категория: A
Аддитивное формование сложнопрофильных деталей из металлических и металлокерамических материалов экструзией термопластичных многофазных композиций
Изготовление кастомизированных деталей сложной формы для промышленности, транспорта и медицины, которые невозможно или дорого изготовить традиционными технологиями.
Томский Государственный Университет
Разработка | Категория: B
Аккумуляторная батарея для малого космического аппарата многоспутниковой системы «Марафон IoT»
Аккумуляторная батарея для малого космического аппарата многоспутниковой системы «Марафон IoT»
ТУСУР
Разработка | Категория: G
Аппаратно-программная платформа для семантической сегментации изображений
Применяется в составе мобильных систем мониторинга объектов земной поверхности на основе БПЛА.
Томский политехнический университет
Разработка | Категория: A