АСКАО

Витрина разработок и заказов

Устройство для объемного лечения обморожений конечностей
Единственное в мире устройство, созданное для лечения глубоких обморожений конечнойстей. Устройство позволяе повысить эффективность и сократить сроки лечения холодовой травмы конечности, сохранить работоспособность населения, снизить процент инвалидности
Томский Государственный Университет
Разработка | Категория: A
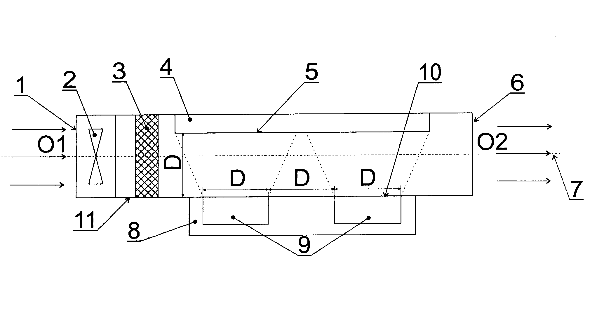
Устройство очистки воздуха
Изобретение относится к области фотокаталитической очистки атмосферного воздуха. Устройство очистки воздуха включает входной фильтр 3, источник ультрафиолетового излучения, фотокаталитический фильтр, входное окно 1 и выходное окно 6, расположенные друг напротив друга.
Шешин Евгений Павлович
Разработка | Категория: A
Фото- и радиационностойкий светоотражающий пигмент на основе смесей микро- и нанопорошков диоксида циркония
Светоотражающий пигмент может быть использован в космической технике, в строительной индустрии, а также в химической, пищевой, легкой и других отраслях промышленности для термостатирования устройств или технологических объектов.
ТУСУР
Разработка | Категория: C
Фотостойкое керамическое печатное терморегулирующее покрытие
Разработка относится к терморегулирующим покрытиям (ТРП) космических аппаратов (КА) класса «оптический солнечный отражатель» и способу их получения. Данные покрытия используются в системах пассивного терморегулирования КА.
ТУСУР
Разработка | Категория: C
Функциональные наноструктурные неметаллические неорганические покрытия и слоистые материалы для авиационной и космической техники
Возможности формирования слоистых материалов микронной точности с архитектурой. Материалы, технология, оборудование.
Томский Государственный Университет
Разработка | Категория: G
Химически стойкие полимерные покрытия для защиты от коррозии химических реакторов, емкостного оборудования и трубопроводов
Химически стойкие полимерные покрытия для защиты от жидких и газообразных агрессивных сред при повышенных температурах и давлениях
Томский политехнический университет
Разработка | Категория: C
Цилиндрический катодолюминесцентный источник излучения
Разработка источника излучения как в видимом, так и в ультрафиолетовом диапазонах для применения в конструировании светильников.
Шешин Евгений Павлович
Разработка | Категория: H
Цифровая платформа геолого-технического мониторинга
Платформа позволяет автоматизировать производственные процессы сбора, обработки, учёта геолого-промысловых данных при планировании, формировании, выгрузке и мониторинге информации по направлению ГИС, и анализа производственной деятельности структурных подразделений.
Университет Иннополис
Разработка | Категория: B
Цифровая платформа предиктивной аналитики
Платформа для прогнозирования вероятности заказов и потребности в сырье, а также оптимизации производственных ресурсов компании.
Университет Иннополис
Разработка | Категория: B
Цифровой лабораторный исследовательский комплекс
Программный продукт для автоматизации рутинных лабораторных исследований в области нефтегазодобычи.
Университет Иннополис
Разработка | Категория: B