АСКАО

Витрина разработок и заказов

Технология создания наноструктур и наносистем на основе композитных наноматериалов, сочетающих нанок
Создан пожарный извещатель для раннего обнаружения продуктов тления с возможностью раздельной диагностики тления дерева и электроизоляции, который позволит повысить безопасность жизнедеятельности человека
Томский Государственный Университет
Разработка | Категория: G
Технология стадийной термической конверсии промышленных отходов
Переработка разных типов промышленных отходов (опилки, резиновая крошка, нефтяной щлам и пластик) и получения из них полезных продуктов с высокой добавленной стоимостью.
Томский политехнический университет
Разработка | Категория: C
Технология формирования светового потока на внешнем экране с для полноцветной системы отображения видеоинформации и устройство для его осуществления
Технология предлагает способ создания и управление световым потоком в процессе формирования полноцветного динамического изображения на специальном внешнем экране, имеющем размеры не менее 6 дюймов и с яркостью, достаточной для комфортного наблюдения изображения.
Шешин Евгений Павлович
Разработка | Категория: H
Тизер унификация торцевых уплотнений насосов ЦНС
Унификация торцевых уплотнений насосов ЦНС
ТАТНЕФТЬ
Заказ на разработку | Категория: C
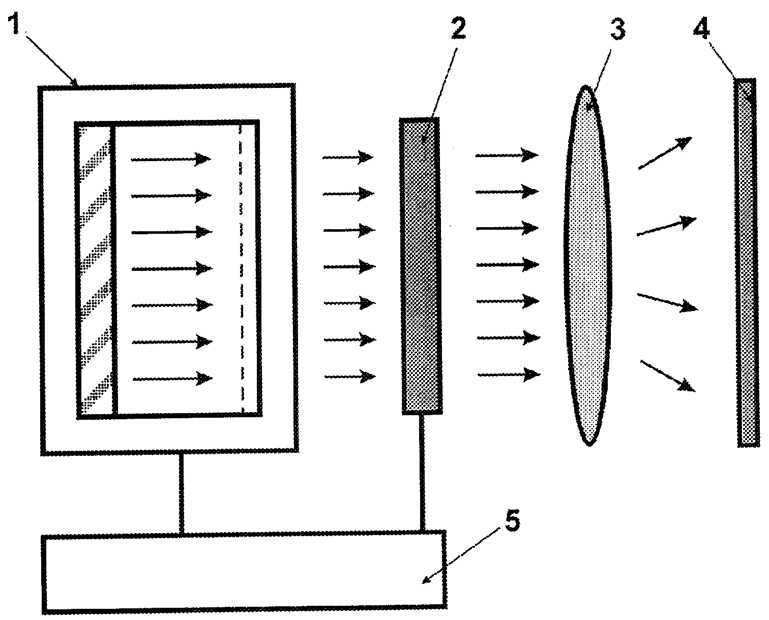
Тонкопрофильный светодиодный светильник на основе световыводящих панелей.
Обеспечение качественного и энергоэффективного освещения помещений.
Томский политехнический университет
Разработка | Категория: A
Универсальный биопрепарат для защиты растений от насекомых-вредителей
Биопрепарат направлен на большой перечень насекомых, что достигается благодаря использованию 3-х штаммов бактерий и 2-х штаммов грибов в составе препарата.
Стартап-студия Университетов Томска
Разработка | Категория: C
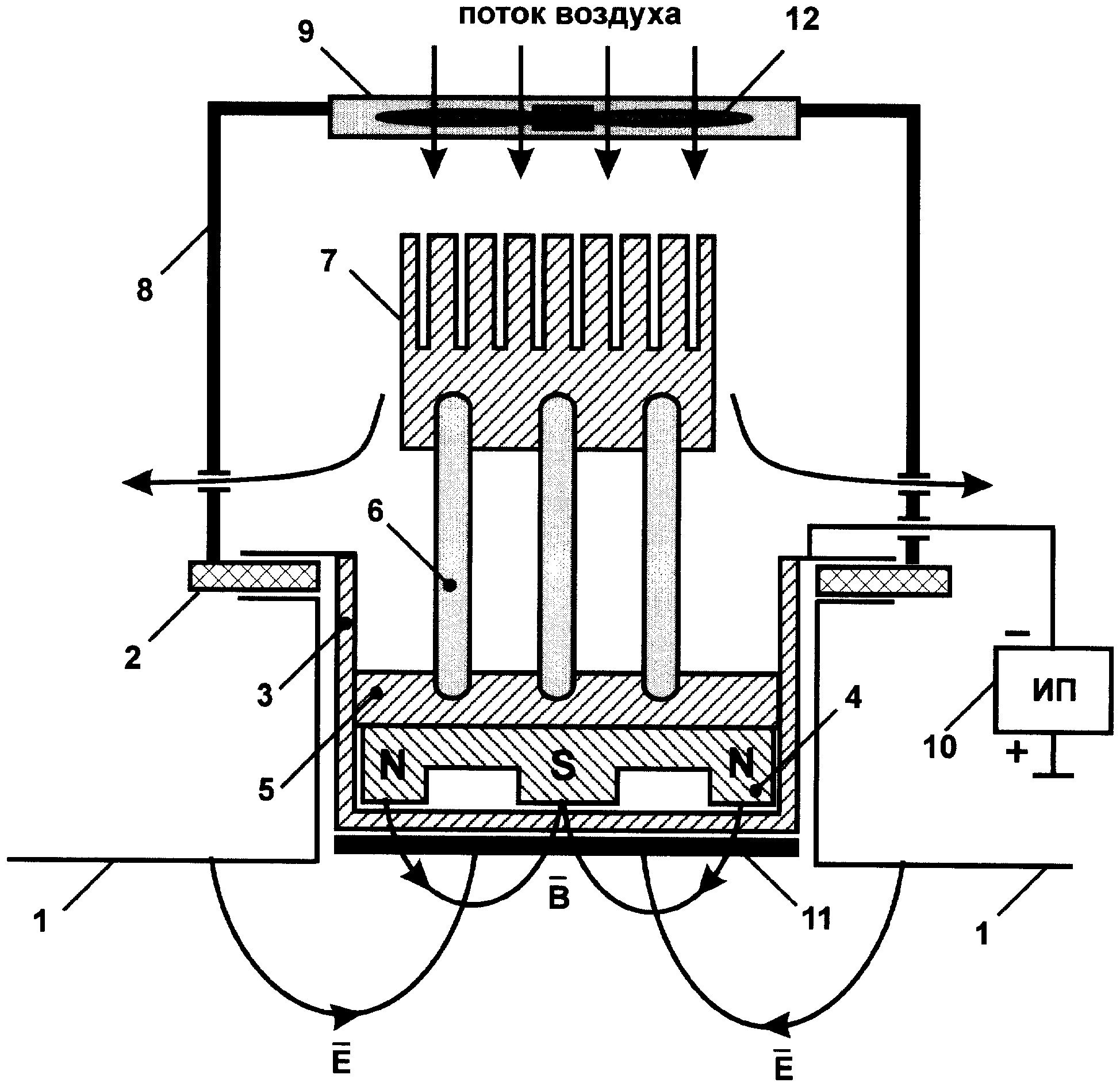
Установка для нанесения покрытий
Предлагаемая полезная модель относится к области нанесения покрытий при физическом распылении металлов и касается установки ионно-плазменного распыления, в которой постоянной магнитное поле перпендикулярно постоянному электрическому полю.
Шешин Евгений Павлович
Разработка | Категория: C
Устройства для обеззараживания поверхности
Изобретение относится к медицине, а именно к устройствам для обеззараживания поверхности. Устройство содержит корпус, в котором установлен источник ультрафиолетового излучения.
Шешин Евгений Павлович
Разработка | Категория: A
Устройство для выявления скрытых объектов и дефектов – Бетатрон
Позволяет получать проекционное изображение внутренних объектов с идентификацией материалов, а также производить неразрушающий контроль различных материалов и изделий.
Томский политехнический университет
Разработка | Категория: F
Устройство для обнаружения движущихся и неподвижных людей за диэлектрическими преградами «Радиодозор-М»
Позволяет обнаруживать движущихся и неподвижных людей за железобетонными, кирпичными стенами, многослойными преградами и др. строительными конструкциями, в условиях задымления, под завалами.
Томский Государственный Университет
Разработка | Категория: G